Как изолировать фундамент при высоком уровне грунтовых вод
Идеальными для строительства любого вида фундамента считаются условия, когда уровень грунтовых вод всегда находится ниже глубины промерзания грунтов – это, практически, идеальная ситуация: дом с просторным и сухим подвалом. Но, бывает, что уровень грунтовых вод (УГВ) наблюдается на меньшей глубине, нежели промерзание грунта?
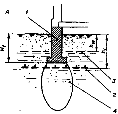
А что делать, если необходимо заложить фундамент не больше 3-х метов, и высоком уровне грунтовых вод? По информации Национальной энциклопедии строительства ProfiDom.com.ua, отечественная компания «Элит-пласт», производитель пенополистирола Penoboard (Пеноборд), предлагает свою систему гидроизоляции фундаментов домов, при высоком УГВ: PB-BASEMENT–3.
В этом случае, гидроизоляция фундамента обеспечивается посредством применения двух слоёв битумполимерных материалов Penoboard. Они наплавляются на предварительно подготовленное основание. Эта же система изоляции применяется для пола, настилаемого по грунту, чтобы предотвратить капиллярное поднятие грунтовых вод.
Применение теплоизоляции из экструдированного полистирола Penoboard защищает фундамент здания от промерзания, создавая оптимальные сочетания температуры и влажности в эксплуатируемом помещении. Кроме того, применение изоляционного слоя из Penoboard дополнительно защищает гидроизоляционный слой от механических повреждений и других негативных факторов. Penoboard характеризуется низкой теплопередачей, низким водопоглощением, что позволяет избегать конденсации водяного пара на стенах, для дополнительной гидроизоляции швы бетонной конструкции прокладываются гидрошпонками. Эти эластичные ленты ПВХ уплотняют рабочие и деформационные швы в конструкциях, которые временно или постоянно подвергаются воздействию сточных или грунтовых вод, для удлинения путей проникновения воды в помещение
1
Выбирая плиты экструдированного пенополистирола Penoboard для теплоизоляции полов, необходимо учитывать интенсивность нагрузки на конструкцию пола. Сила сжатия определённого типа плит не может превышать рассчитанную для него норму.
Так, полы первых этажей и подвальных помещений несут более серьёзную нагрузку и требуют повышенного внимания. Чего не скажешь о полах, расположенных между этажами. Слой изоляции толщиной 14 см обеспечит коэффициент теплоотдачи равный 0,22 В (м2·К).
Чтобы не допустить появление мостиков холода в зоне фундамента, панели экструдированного пенополистирола Penoboard укладывают непосредственно под железобетонными плитами опор и соединяют с теплоизоляцией по всему периметру стен фундамента
Грунтовые воды — чем опасны и как с ними бороться: tvin270584 — LiveJournal
Покупая участок для строительства дома, обращают внимание на его площадь и место расположения. При этом лишь профессионалы смотрят на то, какой на участке грунт, и интересуются уровнем залегания грунтовых вод. А ведь эти показатели крайне важны, так как именно от них зависит то, насколько легко будет возвести здесь постройку или разбить сад. Особенно важно расположение грунтовых вод, тем более что ответ на вопрос об этом параметре часто не знает и сам продавец.
В этой статье речь пойдет о грунтовых водах и последствиях их появления. Мастер сантехник расскажет вам про самые эффективные методы борьбы с этой проблемой. Следуя советам этой статьи, вы сможете полностью устранить проблему сырых подвалов и вымокшей почвы.
Что такое грунтовые воды
По сути, грунтовые воды – это жидкость, которая скапливается в верхних слоях почвы. Источниками формирования грунтовых вод являются:
- Осадки в виде дождя и снега;
- Уонденсат водяных паров, образующийся в почве.
Глубина залегания грунтовых вод зависит от рельефа местности и наличия водоемов вблизи вашего участка. В болотистых или низинных районах грунтовые воды находятся практически на поверхности – в 1-2 м, а то и в нескольких сантиметрах от нее.
Виды грунтовых вод
Уровень грунтовых вод может изменяться на протяжении года.
Минимальных значений он достигает зимой. В это время почва замерзает и становится непроницаемой для осадков. К тому же снег тает только ближе к весне, лишая грунтовые воды основного источника наполнения.
В пределах частных домовладений обычно присутствуют два вида подземных вод.
Верховодка (автохтонные, «местные» подземные воды). Залегают на глубине от 0,5 до 3 м «пятнами» во впадинах или между пластами грунта. В засушливую погоду или холодной зимой верховодка практически исчезает. Но с возобновлением дождей и повышением влажности земли появляется вновь.
Иногда эти подземные воды образуются в местах протечек водопровода, канализации либо постоянного слива жидкости. Вода в верховодке – пресная, слабоминерализованная, обычно не пригодная для питья. Она часто бывает загрязнена токсичными металлами, вызывающими быстрое разрушение бетона.
Безнапорные грунтовые воды (аллохтонные, «внешние» воды). Залегают на глубине от 1 до 5 м и являются относительно постоянными. Именно безнапорные грунтовые воды доставляют строителям основную массу неудобств, поскольку все время пополняются за счет атмосферных осадков, близкорасположенных рек и озер, конденсата, а иногда и артезианских скважин.
Как определить уровень грунтовых вод
Перед началом любых работ на участке, связанных с проникновением под землю, нужно определить уровень грунтовых вод. Особенно важно учитывать данные геологической разведки при возведении фундамента. Но знать, какие процессы происходят на глубине от 1 до 5 м, необходимо еще и при бурении скважин и колодцев, устройстве погребов и даже перед посадкой растений. Близкорасположенные к поверхности грунтовые воды влияют на химический состав почвы, уровень ее кислотности и влажности.
Определять уровень грунтовых вод нужно ранней весной, когда он достигает максимальных значений.
Самостоятельно определить глубину залегания воды можно несколькими способами:
- Просто заглянуть в близлежащие колодцы. Вода в них поступает только из подземных источников, поэтому определить глубину их залегания можно без труда. Расстояние определяется от уровня земли до зеркала воды;
- Раньше определяли уровень залегания подземной воды по растениям.
Участок земли внешне выглядит сухим, но если он покрыт влаголюбивой растительностью, то и грунтовые воды расположены близко к поверхности. Если на земле обильно произрастает крапива, осока, болиголов, камыш или наперстянка, то водоносный горизонт расположен очень близко – в пределах 2-3 м от поверхности. А вот полынь и солодка указывают на то, что до воды более 3 м. Растения, выращенные на грунтовых водах, всегда сочные, яркие и зеленые; - Еще наши предки следили за поведением насекомых и животных. Мошкара и комары вьются над участками с повышенной влажностью. Кошки выбирают места, под которыми находится пересечение водных жил. Собаки, напротив, обычно отдыхают в стороне от подобных зон. Избегают близкого соседства с грунтовыми водами муравьи, кроты и мыши;
- Можно наблюдать за естественными «подсказками». Природа постоянно «сообщает» о наличии в ландшафте грунтовых вод. Если вечером над землей стелется туман – грунтовые воды находятся пределах 1,5-2 м от поверхности.
То же касается и случаев, когда в одних местах росы больше, чем в других.
Самый надежный способ узнать уровень грунтовых вод
Чем выше расположены грунтовые воды, тем тяжелее будет соорудить долговременные здания и сооружения. А учитывая, что фундамент часто занимает большую площадь, уровень грунтовых вод нужно замерить в нескольких местах. На участке в этом случае (а равно и в любом другом) лучше использовать методику бурения пробных скважин.
Для этого возьмите обыкновенный садовый бур и проделайте 3-4 скважины глубиной 2-2,5 м по периметру предполагаемого места строительства. Если в течение 2-3 дней на дне скважин не появляется вода, значит, она находится на достаточной глубине и можно смело проектировать прочное сооружение.
Как отличить верховодку от грунтовых вод
Хорошо, если вам при бурении пробных скважин не попались ни грунтовые воды, ни верховодка. В этом случае можно смело начинать строительство. Хуже, если скважины наполнились водой.
Но перед тем как принять решение о строительстве, вам нужно понять, что это за жидкость – верховодка (т.е. временное скопление воды) или грунтовые воды (относительно постоянные, занимающие большую площадь, скопления воды).
Сделать это, не видя целостной картины рельефа, непросто. В жаркое время года верховодка «уходит» и создается ложное впечатление, что почва сухая и с низким уровнем влаги. Однако после пары дней с продолжительными ливнями на участке может появится вода. Если так произошло и у вас, знайте, на участке именно верховодка, а не грунтовые воды.
Также обращайте внимание на характер рельефа. Участки, расположенные в нижней части склонов (точке водосбора) либо на самом склоне, но имеющие препятствия для стока воды в виде элементов дороги, стенок и т.д., как нельзя лучше подходят для образования верховодки.
Определить наличие и «рисунок» верховодки помогут специалисты, производящие замеры несколько раз в течение года.
Построить дом при высоком уровне грунтовых вод
Повлиять на природные процессы, в том числе и на наличие грунтовых вод на участке, довольно сложно.
В разных регионах приняты свои строительные нормы, которые регламентируют уровень грунтовых вод, при котором можно начинать или, напротив, следует прекратить возведение капитальных сооружений.
Для сооружения фундамента любого типа оптимальными считаются условия, при которых уровень грунтовых вод находится ниже глубины промерзания грунта. При этом последний должен содержать минимальное количество глинистых и пылеватых (непучнистых) частиц. Фундамент нужно закладывать ниже точки промерзания грунта.
Обычно строительство не рекомендуется и даже прямо запрещено Строительными нормами и правилами (СНиП) в следующих случаях:
- Между водоупорным слоем и верхней границей грунта лежат мелкозернистые пески с примесью илистых частиц. В этом случае он превращается в плывун и при строительстве разжижается на мелкие части. Нужно устанавливать заглубленные фундаменты, замораживать стенки или дополнительно укреплять их;
- если средний слой занимает глинистый сланец, то фундамент будет неустойчивым, поскольку данный тип грунта быстро размягчается и распадается на мелкие частицы;
- если уровень залегания грунтовых вод находится на глубине до 2 м.
В этом случае от возведения долговременного строения, для которого нужно вырыть котлован или траншею, лучше отказаться. Котлован будет заливать даже при регулярной откачке воды, а установить фундамент в таких условиях практически невозможно. Не поможет и гидроизоляция – она даст лишь кратковременный эффект.
По СНиП между нижней точкой фундамента и грунтовыми водами должно быть не менее 0,5 м.
Как понять, что грунтовые воды разрушают фундамент
Бетонное основание «подтачивает» не столько жидкость, сколько растворенные в ней соли, сульфаты и другие соединения. Они приводят к образованию так называемой «цементной бациллы», растворяющей и разрыхляющей бетон. Понять, что бетон подвержен влиянию грунтовых вод можно по следующим признакам:
- На поверхности бетона появился белый налет;
- Материал отслаивается кусками, как после промерзания;
- Заметна плесень и грибки;
- Присутствует запах сырости;
- Образуются бледно-желтые солевые пятна.

Если на фундаменте или в подвале наблюдается нечто подобное, можно смело утверждать, что грунтовые воды вступили во взаимодействие с основанием дома.
Строим дом без подвала
Самый простой и надежный способ ужиться с грунтовыми водами состоит в сооружении здания без подвального помещения – например, простой деревянный дом. А если подвал нужен только для хранения закаток и урожая, рядом с домом можно сделать хранилище «под холм».
Для пучинистых грунтов или почвы с большой глубиной промерзания подойдут столбчатый или свайный фундамент. Если планируется массивное здание, лучше соорудить мелкозаглубленный ленточный фундамент, или «плавающий фундамент».
На участках с высоким уровнем грунтовых вод можно подсыпать под будущее основание дома 0,5 м песка.
Что делать с грунтовыми водами на участке
С уровнем грунтовых вод можно «повоевать». Наиболее популярными являются мерами понижения уровень грунтовых вод являются:
- Поверхностный водоотлив (открытый способ водопонижения) – вода, просачивающаяся через дно или откосы котлована, поступает в канавы-водосборники и откачивается оттуда насосами.
Вариант не подходит, если водой постоянно вымываются частицы грунта, из-за чего он проседает; - Безтрубный дренаж. Для его организации по периметру участка выкапывается траншея, в нее активно начинает стекать грунтовая вода, поскольку отсутствует сопротивление грунта. Воду можно выкачивать при помощи насоса, например, в расположенный на участке пруд. Для укрепления стенок канавы ее можно засыпать гравием или щебнем;
- Трубный дренаж – в дополнение к предыдущему методу используются перфорированные и гофрированные трубы из синтетических материалов, которые укладываются на дно канавы и также засыпаются сыпучими материалами. Вода по трубам в идеале должна выводиться за пределы участка;
- Использование иглофильтровых установок. Подобные системы выводят грунтовые воды на глубину до 4-5 м. Насос откачивает грунтовые воды, и они по трубе уходят на большую глубину;
- Эжекторные иглофильтровые установки. Усложненная версия предыдущей системы. Вода проходит по комплексу труб, насосов и фильтров и также отводится на глубину до 20 м или в место водостока.

Не пытайтесь самостоятельно проектировать и строить систему водоотвода, доверьте это специалистам.
Видео
В сюжете — Подземные воды
В сюжете — Попытка копки колодца при высоком уровне грунтовых вод
В сюжете — Строительство погреба в условиях высоких грунтовых вод
В продолжение темы посмотрите также наш обзор Как выбрать септик для участка с высоким уровнем грунтовых вод
Источник
https://santekhnik-moskva.blogspot.com/2020/05/Gruntovyye-vody.html
|
|
|
|
Уровень грунтовых вод имеет ключевое значение при заложении фундамента. Высокий уровень грунтовых вод уменьшает несущую способность грунта, напрямую влияет на влажность и накладывает существенные ограничения на возведение фундаментов. ● При наличии высокого уровня грунтовых вод свежевырытые котлованы и
• Если во время месте пересечения диагоналей. Зачастую
• Биолокация является одним из способов определения приблизительного
• Существуют простые признаки близости к поверхности грунтовых
— густая зелёная трава в период засухи; • Наличие на исследуемом участке камыша лесного и песчаного, тростника,
|
|
Фундамент при высоком уровне грунтовых вод для кирпичного дома
Фундамент при высоком уровне грунтовых вод – одно из наиболее сложных и ответственных сооружений.
Такое основание дома необходимо возводить, учитывая множество самых разнообразных факторов, каждый из которых должен соответствовать всем требованиям, связанным с опасностью подтопления и преждевременным разрушениям постройки.
Соответственно важно правильно определить уровень промерзания почвы, выбрать наиболее подходящую конструкцию основания и обеспечить наличие эффективной дренажной системы.
Определение уровня грунтовых вод и возможные опасения
Уровень грунтовых вод
Устройство фундамента при высоком уровне грунтовых вод должно отличаться устойчивостью и надежностью.
Какова степень угрозы оседания и разрушения постройки, выясняют задолго до начала строительных работ. С этой целью весной или осенью (в то время, когда количество влаги, содержащейся в грунте, достигает максимального уровня) на том месте, где в соответствии с планом строительства будет обустроен подвал, следует выкопать яму глубиной не менее 3 м.
Выройте яму глубиной не менее 3 м
Для получения точных данных потребуется надежно защитить яму от погодных осадков. Спустя несколько недель на дне появится и устоится определенное количество воды. Возможно, дно останется сухим, и тогда фундамент не требует дополнительной защиты.
Если вода находится на расстоянии выше 2 м от поверхности, необходимо не только выполнить расчет глубины, на которой будет сооружен фундамент, но и правильно выбрать конструкцию.
Каким должен быть фундамент при высоких грунтовых водах, могут сказать специалисты после проведенных геологических изысканий.
Сваи поднимут уровень дома на безопасную высоту
Среди существующих конструкций фундамента на грунтовых водах высокого уровня особой популярностью и доверием потребителей пользуются свайные сооружения.
Их обустройство поможет обеспечить качественную и надежную защиту основания дома от негативного влияния подземных вод:
- затопление подвальных помещений;
- разрушение бетонных конструкций;
- возникновение и развитие грибка и плесени;
- нарушение целостности самого фундамента при промерзании в холодное время года.
При высоком УГВ стены котлована могут оплыть
Кроме того, высокий УГВ становится причиной оплыва стенок котлована и резкого сокращения несущей способности грунта. Это потребует выполнения дополнительных работ по обустройству эффективной дренажной системы, включающей колодцы и водосборники.
Самым опасным признан процесс вымывания из почвы минералов, что значительно ухудшает прочностные характеристики грунта и приводит к изменению его структуры. Установка фундамента в таких условиях имеет ряд ограничений. Расчет глубины, на которой будет залита опорная конструкция, проводится с учетом качественных особенностей грунта:
- суглинки;
- песчаные;
- глинистые;
- смешанные.

От этого зависит и уровень пучинистости и глубина промерзания почвы. Если глубина промерзания меньше чем УГВ, то при планировании поправку на особенности почвы делать нет необходимости.
Расчет проводится с поправкой на тип почвы и возможное оседание слабых грунтов.
Полученные данные чаще всего заставляют отказаться от возведения ленточной конструкции, так как связанные с этим работы будут весьма трудоемкими и требующими значительных материальных затрат.
Разнообразие фундаментов и правильный выбор нужной конструкции
Плитный фундамент подойдет для глинистых почв с высоким УГВ в мелкозаглубленном варианте
Какие фундаменты нужны для домов, если грунтовые воды близко расположены, выбирают в зависимости от различных особенностей самого участка, на котором проводится строительство. Фундамент на воде – сооружение, которое должно обеспечить устойчивость постройки, ее долговечность и надежность. Для этого необходимо принять во внимание и качество почвы, и предстоящие нагрузки, идущие от здания.
Строительство фундамента на глинистых почвах с высоким уровнем грунтовых вод подразумевает сооружение любого вида основания:
- ленточного, траншеи которого сильно заглублены;
- свайного;
- плитного (мелкозаглубленного).
Ленточное основание требует создания монолитной железобетонной конструкции, расположенной под наружными и внутренними несущими стенами.
Глубина траншеи должна превышать высоту промерзания
В первую очередь на участке делают разметку, в соответствии с которой роют траншеи котлована для ленточного фундамента. Их глубина должна превышать высоту промерзания. Расчет проводят с поправкой на особенности погодных условий (температур в зимнее время) и почвы.
Если близко грунтовые воды, а строительство предстоит вести на глине, ленточный фундамент прекрасно заменит «плавающая» монолитная плита. Вес постройки равномерно распределяется по всей поверхности плиты, которая уложена на песчано-гравийную подушку.
Перед тем как сделать такой фундамент, потребуется удалить грунт со всей территории будущего основания. Котлован роют глубиной, превышающей на 50 см толщину плиты. Расчет основан на показателе глубины промерзания почвы.
Свайный фундамент дома – оптимальный вариант создания качественного надежного основания на глинистых грунтах.
Изменяя параметры свай, можно добиться установки опор на твердые породы, не подверженные разрушению под воздействием грунтовых вод.
Для проведения работ на участке с высоким УГВ необходимо рассчитать нагрузку на каждую отдельную сваю.
Сооружение различных видов оснований
Если в месте заложения фундамента близко грунтовые воды, то, прежде чем приступить к сооружению плитного основания, потребуется подготовить по всему периметру будущего здания канавы. Лучше, если это будет траншея шириной 20-30 см и высотой (глубиной) не менее 50 см. Канавы будут наполняться дождевой или талой водами, и таким образом будет осуществляться дренирование.
Подробнее о предпочтительном типе фундамента смотрите в этом видео:
Для защиты стенок фундамента, обработайте их гидроизолирующим мастиками
«Плавающая» плита лежит не на глинистой почве, а на созданной из песка и гравия подушке. Такой тип фундамента нужно заливать, соорудив его на насыпном грунте. Перед заливкой монтируют дренажную систему, укладывая дрены под уклоном не менее 5 см на каждый метр трубы. Для защиты плиты необходимо внутреннюю поверхность основания выслать гидроизоляционными материалами. Чаще всего используют рубероид, укладывая полотна внахлест по 10-15 см шириной. Крепеж выполняют с помощью битума.
На гидроизоляцию укладывают армирующий каркас и заливают его бетоном, наполнителем для которого служит мелкофракционный гравий. Лучше залить все основание за один день.
Ленточный фундамент требует тщательной подготовки траншей котлована.
Они должны быть достаточно глубокими и широкими, чтобы превысить глубину промерзания земли и позволить качественно собрать опалубочную конструкцию.
Заливают монолитную ленту, позаботившись о правильной отсыпке ее дна, качественной трамбовке и обустройстве гидроизоляции. Внутрь опалубки устанавливают каркас, связанный из арматурных стержней различного сечения. Бетон заливают послойно с обязательной трамбовкой каждого слоя. Полезные советы при строительстве дома на почве с высоким УГВ смотрите в этом видео:
Свайный ростверковый фундамент признан наиболее надежным при возведении построек на участках с высоким УГВ. Делая такое основание, важно следовать почвенным показателям, в зависимости от которых устанавливается размер каждой из используемых свай. Сваи используют:
- винтовые;
- буронабивные;
- забивные.
Самостоятельно без привлечения тяжелой строительной техники монтируют винтовые конструкции.
После установки всех свай на них собирается ростверк или укладывается балка, необходимая для того, чтобы связать всю конструкцию воедино.
Статьи по теме:
Фундамент при высоком уровне грунтовых вод является головной болью для владельцев будущих дач и домов. Из общего количества застройщиков лишь малой части достаются под строительство участки с идеальными условиями.
Большинству из них приходится решать проблемы со слабыми или пучинистыми грунтами и прочими неудобствами. Одной из таких неприятностей является необходимость строительства фундамента при высоком уровне грунтовых вод.
Влияние уровня подземных вод на техническое состояние фундамента
Влияние грунтовых вод на фундамент было бы несущественным, если бы в их составе не присутствовали растворы различных солей и прочие химические соединения.
Чистая вода для бетона не так страшна, зато в агрессивной химической среде он быстро разрушается – расслаивается, покрывается рыхлым налетом светлого оттенка, похожим на гипс.
Не заставляют себя ждать и микроорганизмы – плесень и прочие грибки.
Главной опасностью при строительстве дома на воде является процесс вымывания минеральной составляющей грунтов – восходящая суффозия. Устойчивость почвы при этом снижается настолько, что даже строительство легкого здания в этом месте становится проблематичным.
Сам процесс строительства фундамента для дома на почвах с близкой водой осложняется из-за потери плотности дна котлована. В результате грунт, на который должна опираться фундаментная подошва, теряет свои несущие свойства. Поэтому в первую очередь застройщику приходится заниматься обустройством дренажной системы и решать вопрос по месту отведения грунтовой воды.
Методика определения уровня грунтовых вод
Ответить на вопрос: какой фундамент лучше при высоком уровне грунтовых вод — можно лишь точно зная, как глубоко они залегают. При выяснении данного обстоятельства надеяться на свидетельства соседей не рекомендуется: ваш участок может быть расположен ниже, чем их, да и структура грунтов может отличаться даже в пределах одной строительной площадки.
Чтобы определить, насколько близко от поверхности находится подземная вода, проделайте следующее:
- выкопайте яму сечением 1х1 метр и глубиной 3 метра. Делать это надо весной или осенью. Чтобы ваш т руд даром не пропал, сделайте это в месте расположения будущего погреба, выгребной ямы или колодца;
- защитите яму от сезонных осадков, тщательно накрыв ее.
Оценить результаты исследований можно по следующим признакам:
- в яме влага не появилась, либо имеется ее небольшое скопление на дне – можно считать, что грунтовые воды залегают достаточно глубоко, при строительстве фундамента их можно в расчет не принимать;
- яма заполнилась водой, причем расстояние от поверхности земли до зеркала «потопа» менее 2 метров – надо менять место строительства или принимать меры для серьезной защиты фундамента или качественного дренирования.
Для завершения теоретических рассуждений на тему «Если грунтовые воды близко – какой нужен фундамент для дома» приведем соотношения «глубина залегания грунтовых вод – глубина промерзания грунта – типы грунтов», на основе которых проводится расчеты:
- на участках, где глубина промерзания меньше глубины залегания подземных водных пластов, фундамент рассчитывается лишь на нагрузку от дома;
- фундамент на глине с высоким уровнем вод заглубляется ниже границы промерзания.
Мероприятия по дренажу являются в этом случае обязательным. Так же придется поступать на песчаных либо смешанных грунтах; - расчеты необходимо проводить с учетом поправки на УГВ – от 0,5 до 1 м в сторону увеличения. Целесообразность этого приема доказывает практика;
- еще одна обязательная поправка – на проседание слабых грунтов: даже при условии наличия качественного дренирования почва осядет обязательно;
- если имеет место сезонное подтопление, строить дом рекомендуется на плитном фундаменте или на сваях (различные виды фундамента для частного дома). Свайные опоры необходимо располагать ниже уровня возможной почвенной эрозии.
Выбор типа фундамента
Итак, если грунтовые воды близко – какой фундамент нужен? Наиболее правильным решением данного вопроса будет сооружение плавающей конструкции. Такой тип основания разрабатывался специально для строительства на слабонесущих, насыпных грунтах, участках с высоким расположением грунтовых вод.
Он представляет собой монолитную бетонную плиту, армированную стальными стержнями.
Плитный фундамент при высоком уровне грунтовых вод имеет небольшую толщину (фундамент плита — расчет толщины).
Его устройство производится в следующем порядке:
- Роется котлован глубиной 400-500 мм.
- Дно котлована тщательно разравнивается, а затем засыпается слоями песка и щебня.
- Подушка утрамбовывается и гидроизолируется при помощи рулонных материалов.
- По периметру будущего фундамента монтируется опалубка.
- Внутри опалубочной конструкции собирается армирующий каркас.
- Производится заливка бетона.
Толщина фундаментной плиты определяется расчетным путем с учетом особенностей проектируемого здания и геологических характеристик строительной площадки.
Подобная конструкция способствует равномерному распределению нагрузки на грунт.
Но и у нее есть отрицательные стороны:
- возможность применения плитного фундамента ограничена максимально допустимой величиной уклона местности – не более 5 градусов;
- домовладельцу придется отказаться от подвала.

Плавающий фундамент на насыпном грунте при высоком уровне грунтовых вод – наиболее приемлемый вариант, поскольку насыпь, как бы тщательно ее не утрамбовывали, все равно будет слеживаться и оседать.
Свайный фундамент
Свайный фундамент при высоком уровне грунтовых вод в частном строительстве применяют весьма охотно: обходится он недорого, а держит дом надежно даже на торфяниках и заболоченных грунтах.
Сваи заглубляются ниже уровня промерзания почвы – до встречи с плотными и устойчивыми слоями грунта. С проблемой неравномерности распределения нагрузки справляются при помощи ростверков.
Объем земляных работ при установке свай невелик, но в случае использования технологии индивидуального строительства (ТИСЭ), придется предварительно осушать скважины, пробуренные ручным способом.
И этому типу фундамента свойственны недостатки:
- как и в случае с монолитной плитой, невозможно устройство подвала;
- данный вариант не подходит для строительства тяжелых домов: сваи подходят для каркасников или деревянных построек, но кирпичное здание на них не построишь.

Есть еще один существенный минус: не на всяком участке можно применить свайный фундамент – если, например, твердые породы залегают слишком глубоко, от этого варианта придется отказаться.
Ленточный фундамент
От ленточного фундамента при высоком уровне грунтовых вод лучше отказаться. Но не все застройщики прислушиваются к этому разумному совету. В такой ситуации можно воспользоваться мелкозаглубленной монолитной лентой. Такой тип фундамента подойдет для участков, на которых расстояние от поверхности земли до воды составляет метр – полтора.
Мелкозаглубленный ленточный фундамент подойдет для домов из пенобетона, дерева и других облегченных строительных материалов (какой нужен фундамент для дома из пеноблоков).
Заливку фундамента на горной местности с высоким уровнем вод производят ступенчато, соединяя верхние части монолитных лент мощными рандбалками.
Сборный фундамент
Ну а если застройщик не может расстаться с мечтой о просторном подвале и хочет построить фундамент в воде – страшно или нет? Современные технологии осуществить и такую идею.
Фундамент в таком случае сооружается из железобетонных блоков (как сделать фундамент из фбс блоков), установленных на опорной подушке (плите бетонной).
Котлован роют глубже уровня воды, сооружая по его периметру стенки из полимерных или стальных элементов, соединяемых между собой специальными замками. Летом можно обойтись и без них, но если строительство решено начать осенью, устанавливать стены придется обязательно. Воду, которая постоянно будет скапливаться на дне котлована, надо будет откачивать.
Дно подготовленного котлована тщательно разравнивают, а затем для выравнивания заливают тонким слоем бетона – готовят подбетонку (о том, как правильно залить фундамент под дом). Для фундамента грунтовые воды – плохие соседи, поэтому одновременно с устройством подушки по периметру ямы сооружают дренажную систему.
Она будет состоять из перфорированных поливинилхлоридных труб, обернутых геотекстилем и дренажного колодца, предназначенного для накопления отведенной из зоны строительства воды.
На подбетонке монтируется опалубка, затем в ней устанавливается армирующий каркас, и производится заливка бетонной смеси.
Видео о заливке сваи ТИСЭ при высоком уровне грунтовых вод.
Один из вариантов обустройства фундамента
Основная функция фундаментного основания – принять и распределить нагрузку сооружения. При решении вопроса о выборе типа фундамента учитывают особенности почв и уровень грунтовых вод или УГВ. Прочный фундамент при высоком уровне грунтовых вод на участке требует больших затрат на его устройство, и может доставлять много проблем.
На самом деле, очень часто застройщикам приходится сталкиваться с водами, залегающими достаточно близко к поверхности. Чаще всего эта проблема усугубляется присутствием глины в составе почвы.
В такой ситуации едва ли возможно устройство подвала, так как фундамент будет подвергаться значительному давлению сил, вызванных пучением грунта.
Заложение оснований в условиях близко находящихся грунтовых водах потребует соблюдения определенных правил, способных максимально уменьшить воздействие этого неблагоприятного фактора.
Вредное влияние высокого УГВ
Скважина для определения уровня грунтовых вод
Поскольку основным составляющим любого фундамента является бетон, то следует рассмотреть вопрос вредного влияния вод на этот материал. Если говорить по существу, то разрушающее воздействие на бетон осуществляют не сами близко расположенные воды, а соли и прочие химические вещества, растворенные в ней. У строителей существует термин «цементная бацилла», которая разрыхляет застывший раствор и вызывает его расслоение. Очень часто можно зрительно оценить начавшееся разрушение основания: появление налета, пятен или затхлый запах.
Уже на этапе подготовки котлована возникают некоторые сложности: из-за поступающей воды размывается дно, существенно снижая несущую способность грунта. В этом случае, обустройство фундамента придется начинать с заложения дренажной системы и отведения вод.
В противном случае, неизбежны деформации залитого основания и просадки.
Восходящая суффозия – это процесс вымывания минеральных соединений из грунта, который можно наблюдать на строительном участке с высоким показателем УГВ. Для того чтобы минимизировать опасное воздействие суффозии на фундамент здания, необходимы комплексные работы по осушению места застройки.
Есть еще один способ избежать воздействия опасных факторов – применение свайных технологий или сборных конструкций из блоков из железобетона. Минус их использования – увеличение расходов на закладку фундамента при близко расположенных водах.
Как самостоятельно определить УГВ
Самостоятельное определение уровня грунтовых вод
Выявить, какой уровень вод на участке можно, обратившись в соответствующие городские организации, но можно выполнить измерение своими силами.
Для этого нужно осенью или весной произвести следующие измерения:
- подготовить яму с размерами: глубина – 3 метра, ширина – 1 метр;
- накрыть ее полиэтиленом для защиты от возможных осадков;
- спустя некоторое время произвести замер глубины набравшейся воды;
- при показателе глубины менее 2 метров, можно сделать вывод, что УГВ на участке умеренный и не требует дополнительных мероприятий при устройстве фундамента.
При показателе вод ниже двух метров, придется выбирать более надежный тип фундамента, выполнять устройство дренажной системы и производить гидроизоляционные работы.
Соотношение УПГ (уровень промерзания грунта) и УГВ
Снижение уровня грунтовых вод с помощью дренажной системы
В соответствии с требованиями СНиП: если показатель УГВ меньше УПГ, то нет необходимости принимать в расчет тип почвы. Фундамент в этом случае рассчитывается только на нагрузку возводимого дома.
Однако при возведении сооружения на почвах смешанного типа, песчаных, глинистых грунтах и супесях, и при обнаружении высокого уровня вод, основание закладывается на глубину ниже уровня промерзания.
В такой ситуации устройство дренажной системы является обязательным.
Кроме того, дается поправка на УГВ: от 0,5 – 1,0 метра в большую сторону. Такое увеличение обусловлено установившейся практикой строительства. И она же исключает возможность устройства основания ленточного типа в силу его затратности.
При высоком показателе грунтовых вод необходимо учесть очень вероятное оседание слабых почв при выполнении дренирования.
Если возможны сезонные подтопления, предпочтительно использование железобетонных конструкций с заглублением свай ниже уровня предполагаемой эрозии.
Технология постройки фундамента
Конструктивные особенности фундамента при высоком уровне грунтовых вод
После подготовки котлована с учетом глубины залегания фундамента, строительная площадка, отведенная под его возведение, осушается и выравнивается. Для этого подготавливается ров глубиной в 0,3 метра и шириной в 0,2 метра с отступом от периметра в 0,5 метра.
Эта канава будет служить для скапливания и дренирования. Устройство основания в грунтовых водах недопустимо ввиду размывания раствора, а, следовательно, и ослабления плиты. Далее выполняют следующие работы:
- Грунт на участке уплотняется и выполняется бетонная подготовка. Укладывается слой бетона до 25 мм. Он выровняет плоскость и позволит начать работы по гидроизоляции.
- После застывания раствора, его накрывают внахлест двойным слоем рулонных гидроизоляционных материалов (рубероид), которые затем крепят битумом.
- Производится монтаж сетчатой арматуры под заливку. Толщина плиты может колебаться от 15 до 30 см, но, чем толще она будет, тем лучше фундамент будет выполнять свою непосредственную функцию.
- По окончании заливки и полного отвердевания бетона, начинается процесс укладки блоков. После окончания этого процесса, получается своеобразный монолитный колодец.
- Выполняется защита от воздействия близко расположенных грунтовых вод.
Рассмотренный выше тип устройства фундамента один из самых дорогих, но бесспорно, один из самых надежных.
Послойная защита фундамента
Способы изоляции фундамента при высоком УГВ
Существуют три типа послойной защиты оснований, которые успешно решают вопросы по защите от близко залегающих грунтовых вод:
- Битумные мастики с добавками каучуковых и полимерных компонентов – дают возможность получить гладкий, влагонепроницаемый слой. Его часто применяют при строительстве частных домов с жилым подвальным помещением.
- Смеси на основе цемента – по характеристикам ничем не отличаются от предыдущего типа. Они хорошо отвердевают, создавая влагостойкий слой. Однако в сравнении с мастикой, они менее пластичны и при вибрации могут подвергаться растрескиванию, и снижать характеристики.
- Специальные битумные пленки или пленочная гидроизоляция. Ими поочередно в три слоя проклеивается весь фундамент.
Теперь рассмотрим, какой тип фундамента возможно делать при высоком показателе грунтовых вод.
Монолитная плита и свайное основание
Это вид сплошного основания, равномерно распределяющий вес всей строительной конструкции. Несмотря на хорошую устойчивость при смещениях грунта, имеет один весомый минус – высокая стоимость материалов и работ.
Это хорошее решение для регионов, где грунтовые воды расположены близко, или, если имеются плывуны. Для его устройства применяют различные типы свай: буронабивные, железобетонные и прочие.
Столбы ввинчиваются или забиваются в твердые слои почвы, а их наружная часть соединяется балками. В результате получается жесткая конструкция, способная переносить значительную нагрузку. Недостаток этого типа – невозможность строительства дома с подвальной частью.
Ленточный тип фундамента
Эскиз правильного обустройства фундаментного основания
Этот вид представляет собой железобетонную ленту, которую можно делать под несущие стены. При строительстве индивидуальных домов данный вид наиболее распространен.
Если делается такая опорная конструкция, то для его защиты производится устройство подушки из смеси гравия и песка.
Однако следует принимать во внимание, что его можно делать только с хорошей внешней гидроизоляцией и, только если повышение уровня вод отмечается время от времени.
Фундамент на «плавающей» подушке
Какой вид лучше выбрать? При высоком уровне вод и в случае, если они находятся близко к поверхности, такой вид основания — самый надежный. При выборе такого типа фундаментного основания необходимо:
- выполнить монтаж дренажной системы;
- подготовить котлован/траншею нужных размеров;
- уплотнить дно при помощи виброплиты на высоту 40 сантиметров;
- если делать ленту над поверхностью, то высота ее будет определяться по месту строительства;
- выполнить устройство «плавающей» подушки. Песок в траншею засыпается послойно, с поэтапной утрамбовкой каждого. Высота готовой подушки должна быть не ниже 50 сантиметров;
- полученное основание выстлать водонепроницаемыми материалами;
- выполнить засыпку щебнем (до 20 см) и хорошо утрамбовать;
- поверх уложить слой рулонной гидроизоляции;
- из щитов или пиломатериалов собирать прочную опалубку.
Бетон – тяжелая смесь, и если конструкцию не укрепить брусками и распорками, возможна ее деформация; - выполнить армирование в два слоя с размерами ячеек 20х20, соблюдая отступы от подошвы и верха опалубочной конструкции примерно на 5 см;
- делать армирование ленты из той же арматуры. Для этого устраивается каркас из продольных прутков, перевязанных с поперечными элементами через 40 см;
- заливку бетона лучше делать при помощи миксера. Это позволит рабочим выполнить ее за один день;
- учесть требования по уходу за отвердевающей плитой, увлажнять или укрывать ее, не допуская пересыхания или размывания осадками;
- после окончательного застывания раствора, разобрать опалубку;
- обработать фундамент гидроизоляционной смесью.
Устройство сильного основания при высоком УГВ может обойтись застройщикам в несколько раз больше обычных фундаментов. Однако если отступать от требований при его возведении, на выходе можно получить некачественное основание, а затем и проблемы со всем домом.
Основная задача фундамента – принять на себя нагрузку от дома и распределить ее равномерно на грунт. Поэтому при заложении фундаментной основы необходимо принять во внимание тип грунта и расположение уровня грунтовых вод (УГВ). Последний показатель может оказаться слишком высоким, то есть, вода находится близко к поверхности почвы.
Заливать в таких условиях фундамент сложно и затратно. Поэтому перед производителем работ стоит вопрос, какой фундамент нужен для частного дома, если грунтовые воды близко? Этот вопрос затрагивает не только вид фундаментной конструкции, но и дополнительный выбор, который касается именно глубины закладки: ниже уровня грунтовых вод или выше.
Влияние грунтовых вод
В строительной среде ходит такой термин – цементная бацилла. Это когда бетонная конструкция разрушается под действием негативных факторов, к которым относятся и грунтовые воды.
Но надо понимать, что на бетон негативно влияет не сама вода, а растворенные в ней соли и различные химические вещества. Они проникают в тело бетона, где взаимодействуют с цементом или наполнителями, разрывая их связи между собой. Отсюда и появление всевозможных налетов, темных пятен и неприятных запахов.
Высокое УГВ – это проблемы еще на стадии копки котлована. Внутри собирается вода, которая размягчает дно, что приводит к снижению несущей способности грунта. Если это произошло, то придется в первую очередь продумать и заложить систему дренажей, с помощью которой появится возможность откачать воду.
Есть технологии, которые не требуют осушки участка. Для закладки фундамента используют свайный метод с забиванием столбов в глубину земли до плотных слоев. Неплохой вариант, но затратный и трудоемкий. Без наличия специальной техники такой фундамент не соорудить. Для частного домостроения эту технологию используют редко. Поэтому к устройству фундамента при высоком уровне грунтовых вод подходят с позиции именно осушения.
И еще один отрицательный момент. Опасное время для таких участков – зима с минусовыми температурами. Промерзание грунта зимой превращается в опасную для фундамента ситуацию. Морозное пучение и высокий УГВ могут разрушить конструкцию основы дома за один сезон.
Определяем уровень
Уровень грунтовых вод, то есть, сам показатель зафиксирован в геологической организации, филиал которой есть в любом большом городе. Получить информацию по УГВ можно там. А можно замер уровня провести самостоятельно. Для этого придется выкопать яму глубиною 3 м. Или пробурить скважину на ту же глубину. Диаметр скважины 20 см будет нормальным, для чего потребуется всего лишь садовый бур.
Замеры надо делать весной, когда сошел снег. Этот период, когда УГВ находится в максимально пиковой точке. Закрываете яму пленкой, чтобы не попали в нее атмосферные осадки. И через сутки проверяете, сколько воды в ней скопилось. Проверить можно шестом: опустили его до конца, чтобы он коснулся дна.
Вытащили и размерили сухой участок от влажного до метки, которая определяет уровень грунта (метку надо поставить при замере в яме). Это и есть УГВ.
- Если данный показатель больше 2 м, значит, в районе строительства дома умеренный уровень грунтовых вод. Можно закладку фундамента проводить без дополнительных мероприятий.
- Если длина сухого участка меньше 2 м, значит уровень воды высокий. Придется продумывать систему отвода воды, проводить ее сооружение, обеспечивать фундаментную конструкцию защитными материалами.
- Именно вторая позиция – при высоких грунтовых водах – потребует от производителя работ выбора типа фундамента.
Глубина промерзания почвы и УГВ
Присутствие высокого уровня прохождения грунтовых вод затрагивает несколько позиций, связанных с закладкой фундамента. Они четко прописаны в СНиПах. И чаще всего в правилах встречается соотношение УГВ с уровнем промерзания почвы. Потому что эти два показателя являются главными факторами, снижающие прочность бетонной конструкции.
Вот несколько позиций.
- Если уровень воды меньше уровня промерзания, то расчет фундамента производится по обычной схеме, то есть, только на нагрузку от дома.
- Если почва на строительном участке слабая, мягкая и подвижная, то закладка фундамента производится ниже УПГ. При этом обязательно организуется дренажная система для отвода подземных вод.
- Если уровень грунтовых вод очень высокий, то ленточный фундамент не рекомендуется возводить.
- Если в районе застройки частые подтопления, то приемлем единственный вариант – дом на сваях. При этом столбы забиваются в землю ниже уровня ее промерзания.
Внимание!
Если УГВ достаточно высок, и организовано дренирование участка, то велика вероятность проседания грунта. Особенно это часто происходит на песчанистых почвах.
УГВ ближе, чем на 0,5 м
В этой ситуации единственное решение – сваи. Здесь три варианта: монолитные готовые, винтовые из стальной трубы и буронабивные.
- Идеальный вариант – монолитные. Их давно применяют в строительстве, у них повышенная несущая способность, они легко выдерживают морозное пучение. К тому же нет необходимости думать о дренировании грунта. Правда, для этого потребуется специальная техника.
- Винтовые сегодня стали очень популярны. В малом частном домостроении такие фундаменты для высоких грунтовых вод – оптимальное и дешевое решение. Единственный их недостаток – не самая высокая несущая способность. Поэтому придется рассчитать количество свай и расстояние между ними. Рекомендуется устанавливать винтовые сваи на глубину не больше 3 м.
- Что касается буронабивных конструкций, то это неплохой вариант, который имеет высокую несущую способность. Но есть у данной технологии и свой минус – придется проводить большой объем осушительных мероприятий.
От 0,5 м и более
При выборе типа фундамента предпочтение надо отдать плитной модели. Все дело в том, если разговор идет о доме, столбчатые конструкции в такой ситуации не смогут обеспечить необходимую несущую способность большого строения.
Ленточный фундамент использовать можно, но только мелкозаглубленный, который обычно сооружается под небольшие легкие постройки. В принципе, каркасный коттедж он выдержит. При этом рекомендуется сооружать фундамент с расширенным основанием.
К вопросу, как сделать фундамент плиту. Заливая ее на глубину до полуметра, надо понимать, что ее толщина и способ армирования будет зависеть от этажности строения, а также от типа материалов, из которых в основном будут возводиться стены. При этом придется продумать технологию теплоизоляции. Кстати, это важный этап сооружения плиты.
Внимание!
Увеличить несущую способность плиты поможет замена грунта. Его вынимают до УГВ и вместо засыпают песок или щебень с тщательной трамбовкой.
Если почва на участке очень слабая, то подушку под фундамент дома для высоких грунтовых вод засыпают до тех пор, пока ее материалы не вытеснят лишнюю влагу и не перестанут уходить вглубь.
1,5 м и более
Сравнивая описанные выше условия, надо отметить, что в этом случае можно использовать устройства фундаментов на грунтовых водах ленточного типа и плитного. Но обе конструкции должны быть мелкозаглубленного вида.
Варианты при близком расположении грунтовых вод
Выше уже были даны варианты фундаментов при близких грунтовых водах. В принципе, плитная конструкция в этом случае самая часто используемая конструкция. Для нее нет необходимости сооружать дренажные канавы, продумывать способы защиты, потому что все проводится по стандартной технологии.
Высокие грунтовые воды — строим дом без подвала
Здесь все достаточно просто, если используется поверхностная или мелкозаглубленная плита в качестве основы. То есть, сооружается дом без подвала цокольного этажа, а стены поднимаются сразу от плиты. Вот последовательность проводимых работ:
- Выкапывается котлован до УГВ;
- Засыпается подушка из песка и щебня с трамбовкой;
- Гидроизоляция рулонным материалом;
- Установка армокаркаса;
- Заливка бетона.

Если сооружается утепленное основание, то под каркас укладывается утеплитель. На участках с высоким уровнем подпочвенной воды это идеальный вариант фундамента.
Защита от высокого УГВ
В строительстве фундаментов на таких почвах используют три разновидности гидроизоляции, с помощью которые необходимо обеспечить защиту конструкции основания и самого дома.
- Обмазочная, когда на сам фундамент наносятся битумные мастики в несколько слоев, за счет чего на поверхности конструкции образуется гладкий водонепроницаемый слой.
- Рулонная, когда конструкцию обкладывают гидроизоляционными пленками или мембранами в несколько слоев.
- Штукатурная, когда наносятся цементные смеси, в состав которых входят гидроизоляционные добавки.
Толщина слоя гидроизоляции определяется из расчета пролегания грунтовых вод. Чем выше их уровень, тем толще изоляционное покрытие.
Устройство фундамента на плавающей подушке
Что собой представляет плавающая подушка ? Это толстый слой подосновы из нескольких материалов, которые между собой разграничены изоляционными пленками.
Для высоких грунтовых вод ее делают очень часто. Вот последовательность:
- На дно котлована или траншеи засыпается крупнозернистый песок, который хорошо утрамбовывается.
- Засыпка производится послойно с трамбовкой каждого слоя. При этом окончательный результат – слой толщиною 50 см.
- Укладывается гидроизоляционная пленка, лучше рубероид.
- Засыпается щебень, трамбуется до толщины 30 см.
- Еще один слой рулонной гидроизоляции.
- Заливка стяжки толщиною 10 см.
После чего можно заливать монолитную железобетонную конструкцию самого фундамента. Подушка создает условия, при которых фундамент может смещаться относительно нее. Такой фундамент часто называют плавающий монолитный.
Ленточный
Ленточный фундамент на почвах с высоким УГВ заливается точно так же, как описано в предыдущих разделах. Здесь важно понимать, что сильное основание в виде ленты – это большие материальные затраты. В основном они касаются расхода бетона и арматуры.
При этом стараются саму ленту сооружать с расширенной подошвой.
Если постараться на чем-то сэкономить, то конечный результат может привести к ослаблению фундаментной конструкции, а, следовательно, начнут возникать проблемы с самим домом. Поэтому нельзя отступать от технологии сооружения и от точной последовательности проводимых строительных операций.
Свайного типа
Как уже говорилось, свайный фундамент при высоком уровне грунтовых вод – оптимальное решение. Главное – правильно выбрать тип закладываемых элементов.
Как показывает практика, при возведении большого тяжелого дома используют монолитные железобетонные столбы, которые изготавливаются на заводах ЖБИ.
Данная технология называется ТИСЭ. Это правда не самая дешевая технология из всех свайных, но она самая надежная.
И хотя винтовой фундамент является более дешевым, он не обеспечивает необходимую несущую способность под тяжелое строение. При этом необходимо учитывать, что проведение гидроизоляции в устройстве свайного винтового или другого типа является обязательным мероприятием.
Заключение по теме
Итак, вопрос, какой фундамент делать, если близко грунтовые воды, сегодня для многих частных застройщиков очень актуален. В статье были разобраны практически все ситуации, с которыми они могут столкнуться, а также были рекомендованы типы фундаментных конструкций. На само деле важно понимать, что сам выбор основан не только на типах грунтов и УГВ.
Важно в первую очередь осознавать, какой дом будет воздвигнут в районе с такой почвенной ситуацией. Если планируется большая постройка из кирпича или блоков, то придется на ее сооружение выделить приличный бюджет. И здесь экономить нельзя, потому что высокий УГВ – это подвижные неустойчивые пласты, у которых слабая несущая способность.
| 5001 | Геология и ресурсы подземных вод округа Хьюстон, штат Техас | 1950 |
| 5003 | Геология и ресурсы подземных вод округа Уокер, штат Техас | 1950 |
| 5004 | Разработка грунтовых вод для ирригации в районе Делл-Сити, округ Хадспет, штат Техас Геологическая карта с зарегистрированными скважинами в районе города Делл, округ Хадспет, штат Техас | 1950 |
| 5101 | Водоснабжение Хьюстонского региона побережья Мексиканского залива | 1951 |
| 5102 | Краткий обзор использования грунтовых вод для орошения в районе Лобо-Флэтс, округа Калберсон и Джефф Дэвис, штат Техас | 1951 |
| 5103 | Ресурсы подземных вод округа Паркер, штат Техас | 1951 |
| 5104 | Разработка колодцев для орошения и колебания уровня воды на высоких равнинах Техаса до января 1951 г.![]() | 1951 |
| 5201 | Район Хьюстон, штат Техас, откачка и снижение артезианского давления в 1950-51 гг. | 1952 |
| 5202 | Краткий обзор развития грунтовых вод в районе Пекос, округа Ривз и Уорд, штат Техас, 1947-51 | 1952 |
| 5203 | Район Уинтер-Гарден Округа Диммит и Завала и округ Восточный Маверик, Техас | 1952 |
| 5204 | Ресурсы подземных вод в окрестностях ферм Кенмор, округ Кендалл, Техас | 1952 |
| 5205 | Техасский индекс записей о поверхностных водах 1882-1951 гг. Расход, отложения, химическое качество, температура воды | 1952 |
| 5206 | Результаты искусственного пополнения резервуара подземных вод в Эль-Пасо, штат Техас | 1952 |
| 5207 | Геология и ресурсы подземных вод округа Линн, штат Техас | 1952 |
| 5208 | Водные ресурсы округа Уоллер, Техас | 1952 |
| 5209 | Ресурсы подземных вод округа Старр, штат Техас | 1952 |
| 5210 | Ресурсы подземных вод округа Эктор, штат Техас | 1952 |
| 5301 | Ресурсы подземных вод округа Оделл Сэнд Хиллз Уилбаргер, Техас | 1953 |
| 5302 | Записи измерений уровня воды в округе Хейл, штат Техас, 1910-1953 гг.![]() | 1953 |
| 5303 | Записи измерений уровня воды в округе Лаббок, штат Техас, 1936-1953 гг. | 1953 |
| 5304 | Записи измерений уровня воды в округе Флойд, штат Техас, 1913-1953 гг. | 1953 |
| 5305 | Записи об измерениях уровня воды в округе Диф-Смит, штат Техас, 1914-1953 гг. | 1953 |
| 5306 | Записи измерений уровня воды в округе Лэмб, штат Техас, 1914-1953 гг. | 1953 |
| 5307 | Отчеты об измерениях уровня воды в округе Суишер, штат Техас, 1914-1953 гг. | 1953 |
| 5401 | Откачка грунтовых вод и снижение артезианского давления в округе Хьюстон, штат Техас, в 1951 и 1952 годах | 1954 |
| 5402 | Краткий обзор развития грунтовых вод в Южных Высоких равнинах, Техас | 1954 |
| 5403 | Ресурсы подземных вод округа Камерон, штат Техас | 1954 |
| 5404 | Записи измерений уровня воды в округах Даллам, Хансфорд, Хартли, Хатчинсон, Мур, Очилтри и Шерман, штат Техас | 1954 |
| 5405 | Записи измерений уровня воды в округе Мартин, штат Техас, 1936-1953 гг.![]() | 1954 |
| 5406 | Записи измерений уровня воды в округах Бейли, Бриско, Кастро, Пармер, Поттер и Рэндалл, штат Техас | 1954 |
| 5407 | Записи измерений уровня воды в округах Кокран, Кросби, Гейнс, Хокли, Линн и Терри, штат Техас | 1954 |
| 5408 | Записи измерений уровня воды в округах Ловинг и Уорд, Техас | 1954 |
| 5409 | Соленая вода и ее связь с пресными грунтовыми водами в округе Харрис, штат Техас | 1954 |
| 5410 | Развитие грунтовых вод на южных высоких равнинах Техаса, 1953 г. | 1954 |
| 5411 | Ресурсы подземных вод округа Том Грин, штат Техас | 1954 |
| 5412 | Ресурсы подземных вод района Сан-Антонио, штат Техас | 1954 |
| 5413 | Отчеты о колодцах в округе Бастроп, штат Техас Карта округа Бастроп, штат Техас, с указанием расположения водяных колодцев и источников | 1954 |
| 5414 | Записи измерений уровня воды в округе Ривз, штат Техас | 1954 |
| 5415 | Записи измерений уровня воды в округах Калберсон, Хадспет и Джефф Дэвис, штат Техас | 1954 |
| 5416 | Записи измерений уровня воды в округах Атаскоса и Фрио, Техас | 1954 |
| 5417 | Записи измерений уровня воды в округе Эль-Пасо, штат Техас | 1954 |
| 5418 | Ресурсы подземных вод округа Джонс, штат Техас | 1954 |
| 5501 | Записи Уэллса в округе Хейс, штат Техас Карта округа Хейс, штат Техас, с указанием местонахождения Уэллса и Спрингса | 1955 |
| 5502 | Геология и ресурсы подземных вод округа Галвестон, штат Техас | 1955 |
| 5503 | Записи измерений уровня воды в округах Хаскелл и Нокс, штат Техас | 1955 |
| 5601 | Геология и ресурсы подземных вод округа Медина, штат Техас | 1956 |
| 5602 | Откачка грунтовых вод и изменения артезианского давления в округе Хьюстон и районе Бэйтаун-Ла-Порт, Техас, 1953-55 | 1956 |
| 5603 | Ресурсы подземных вод округа Эль-Пасо, штат Техас | 1956 |
| 5604 | Ресурсы подземных вод Крейн Сандхиллз, округ Крейн, Техас | 1956 |
| 5605 | Основные данные и сводка ресурсов подземных вод округа Чемберс, штат Техас | 1956 |
| 5606 | Записи измерений уровня воды в округе Бексар, штат Техас | 1956 |
| 5607 | Карты снижения уровня воды в 17 округах Южных Высоких равнин, Техас | 1956 |
| 5608 Том 1 | Ресурсы подземных вод в районе Сан-Антонио, отчет о ходе текущих исследований | 1956 |
| 5608 Том 2 Часть 1 | Ресурсы подземных вод в районе Сан-Антонио, отчеты о скважинах и источниках | 1956 |
| 5608 Том 2 Часть 2 | Ресурсы подземных вод в районе Сан-Антонио, штат Техас, Записи журналов бурильщиков | 1956 |
| 5608 Том 2 Часть 3 | Ресурсы подземных вод района Сан-Антонио, штат Техас | 1956 |
| 5609 | Записи измерений уровня воды в округе Медина, штат Техас | 1956 |
| 5610 | Записи измерений уровня воды в округах Комал и Гуадалупе, Техас | 1956 |
| 5611 | Записи измерений уровня воды в округах Кинни, Ювальде и Вал-Верде, штат Техас, с 1929 по март 1956 года | 1956 |
| 5612 | Записи измерений уровня воды в округах Хейс, Трэвис и Уильямсон, штат Техас | 1956 |
| 5613 | Записи измерений уровня воды в округах Чайлдресс, Коттл, Хардеман и Кинг, штат Техас | 1956 |
| 5614 | Записи измерений уровня воды в округах Фоард и Уилбаргер, штат Техас | 1956 |
| 5615 | Ресурсы подземных вод Уэко Болсон, к северо-востоку от Эль-Пасо, Техас | 1956 |
| 5617 | Записи измерений уровня воды в округах Диммит, Маверик и Завала, штат Техас | 1956 |
| 5701 | Эксперименты по искусственной подпитке в McDonald Well Field, Амарилло, Техас | 1957 |
| 5702 | записи об уровне воды в округах Бастроп и Колдуэлл, штат Техас с 1937 г. по декабрь 1956 г. | 1957 |
| 5703 | Записи об уровне воды в округах Арансас и Сан-Патрисио, Техас | 1957 |
| 5704 | Геология и ресурсы подземных вод округа Лэмб, Техас | 1957 |
| 5705 | Карты снижения уровня воды с 1956 по 1957 год и уровни воды в наблюдательных колодцах в 20 округах Южных Высоких равнин, Техас | 1957 |
| 5706 | Использование грунтовых вод для орошения в округе Чайлдресс, штат Техас | 1957 |
| 5707 | Карты уровня воды и уровни воды в наблюдательных колодцах в Северных Высоких равнинах, Техас | 1957 |
| 5708 | Records of Wells в округе Трэвис, штат Техас | 1957 |
| 5709 | Геология и ресурсы подземных вод округа Таррант, штат Техас | 1957 |
| 5710 | Геология подземных вод округа Уилсон, штат Техас, (второе издание, 1975 г. ) | 1957 |
| 5711 | Ресурсы подземных вод округа Голиад, штат Техас | 1957 |
| 5712 | Геология подземных вод в альпийской зоне, округа Брюстер, Джефф Дэвис и Пресидио, Техас | 1957 |
| 5801 | Геология подземных вод в окрестностях ручьев Дав и Кротон, округа Стоунволл, Кент, Диккенс и Кинг, штат Техас | 1958 |
| 5802 | Состояние грунтовых вод в округе Карсон, штат Техас | 1958 |
| 5803 | Геология подземных вод округа Реал, Техас | 1958 |
| 5804 | Записи измерений уровня воды в округах Джексон, Матагорда и Уортон, штат Техас, с 1934 г. по апрель 1958 г. | 1958 |
| 5805 | Откачка грунтовых вод и колебания уровня воды в округе Хьюстон и районе Бэйтаун-ЛаПорт, Техас, 1955-57 | 1958 |
| 5806 | Отчеты об измерениях уровня воды в округах Коллингсворт, Хемфилл и Уилер, штат Техас, с 1937 по июль 1958 года | 1958 |
| 5807А | Часть 1 | Часть 2 Сборник записей о поверхностных водах в Техасе по сентябрь 1957 г.![]() | 1958 |
| 5807 Б | Указатель данных о поверхностных водах за 1882–1957 годы | 1958 |
| 5807 С | Сводка измерений пикового паводкового стока и других измерений речного стока в Техасе в точках, отличных от гидрометрических станций | 1959 |
| 5807 Д | Исследования прироста и убытка канала Texas Streams 1918-1958 | 1960 |
| 5807 Е | Техасская программа гидрометрии: оценка и рекомендации | 1960 |
| 5808 | Откачка грунтовых вод и изменения уровня воды в округе Галвестон, штат Техас, 1952-57 | 1958 |
| 5901 | Записи измерений уровня воды в округах Чемберс, Либерти и Монтгомери, штат Техас, с 1931 г. по апрель 1958 г. | 1959 |
| 5902 | Отчеты об измерениях уровня воды в округах Белл, МакЛеннан и Сомервелл, Техас, 1930-1957 гг.![]() | 1959 |
| 5903 | Записи измерений уровня воды в округах Крокетт, Гласскок, Рейган, Аптон и Террелл | 1959 |
| 5904 | Записи об измерениях уровня воды в округах Бразория, Форт-Бенд и Уоллер, штат Техас, с 1931 г. по июнь 1958 г. | 1959 |
| 5905 | Химический состав поверхностных вод Техаса, 1956 г. | 1959 |
| 5906 | Отчеты об измерениях уровня воды в округах Крейн и Мидленд, штат Техас, с 1937 по 1957 год | 1959 |
| 5907 | Отчеты об измерениях уровня воды в округах Митчелл, Нолан, Стерлинг и Том Грин, штат Техас, с 1938 по 1957 год | 1959 |
| 5908 | Измерения уровня воды и карты южных высоких равнин, штат Техас, с 1958 по 1959 год | 1959 |
| 5909 | Измерения уровня воды и карты Северные Высокие равнины, Техас, 1958 и 1959 годы | 1959 |
| 5910 | Обследование потребностей в воде | 1959 |
| 5911 | Геология подземных вод округа Бексар, штат Техас | 1959 |
| 5912 | Инвентаризация и использование данных об осадконакоплении в Техасе | 1959 |
| 5913 | Техасский индекс метеорологических данных | 1959 |
| 5914 | Исследование засух в Техасе | 1959 |
| 5915 | Химический состав поверхностных вод Техаса, 1957 г.![]() | 1959 |
| 5916 | Геология и ресурсы подземных вод округа Винклер, штат Техас | 1959 |
| 6001 | Поверхностный сток из водосборных бассейнов и подбассейнов Техаса карта 1: площади водоразделов и основных подбассейнов карта 2: сток из водосборных бассейнов и основных подбассейнов | 1960 |
| 6002 | Производство и утилизация рассола в нижнем водоразделе Чамберс и Ричленд-Крикс, округ Наварро, штат Техас, | 1960 |
| 6003 | Геология и ресурсы подземных вод округа Диммит, Техас (второе издание, 1975 г.) | 1960 |
| 6004 | Геология и ресурсы подземных вод округа Хейс, штат Техас | 1960 |
| 6005 | Измерения уровня воды в округах Калберсон, Хадспет и Джефф-Дэвис, штат Техас | 1960 |
| 6006 | Ежемесячная скорость испарения из водохранилища для Техаса, 1940-1957 гг.![]() | 1960 |
| 6007 | Геология подземных вод округа Карнес, Техас | 1960 |
| 6008 | Уровень воды в смотровых колодцах в округах Камерон, Идальго и Старр, 1950-1959 гг. | 1960 |
| 6009 | Уровень воды в смотровых колодцах в округах Хаскелл и Нокс, штат Техас, 1956–1960 годы | 1960 |
| 6010 | Ресурсы подземных вод округа Хейл, штат Техас | 1960 |
| 6011 | Уровень воды в смотровых колодцах Саутерн-Хай-Плейнс, Техас, 1959 и 1960 годы | 1960 |
| 6012 | Уровень воды в смотровых колодцах Нортерн-Хай-Плейнс, Техас, 1958-1960 гг. | 1960 |
| 6013 | Геология и ресурсы подземных вод округа Грейсон, штат Техас | 1960 |
| 6014 Том 1 | Ресурсы подземных вод Нижней части долины Рио-Гранде, Техас | 1961 |
| 6014 Том 2 | Ресурсы подземных вод Нижней части долины Рио-Гранде, Техас | 1961 |
| 6015 | Уровень воды в смотровых колодцах в округах Атаскоса и Фрио, штат Техас, 1955-1960 гг.![]() | 1960 |
| 6016 | Разведывательное исследование ресурсов подземных вод бассейна реки Канада, Техас | 1960 |
| 6017 | Геология подземных вод песчаника Хикори, пачка формации Райли, Округ Маккаллок, Техас | 1961 |
| 6018 | Орошение в Техасе в 1958 г. | 1960 |
| 6019 | Безвозвратное использование воды основными сельскохозяйственными культурами в Техасе (второе издание, 1960 г.) | 1960 |
| 6101 | Уровень воды в смотровых колодцах Саутерн-Хай-Плейнс, Техас, 1960 и 1961 годы | 1961 |
| 6102 | Геология и ресурсы подземных вод округа Карсон и части округа Грей, штат Техас, Отчет о проделанной работе №1 | 1961 |
| 6103 | Ежегодные измерения уровня воды в наблюдательных скважинах Северные Высокие равнины, Техас, 1960 и 1961 годы | 1961 |
| 6104 | Химический состав поверхностных вод Техаса, 1958 г.![]() | 1961 |
| 6105 | Геология подземных вод округа Лайв-Оук, штат Техас | 1961 |
| 6106 | Геология и ресурсы подземных вод округа Пекос, штат Техас | 1961 |
| 6107 | Краткое изложение возникновения и развития подземных вод на южных высоких равнинах Техаса | 1961 |
| 6108 | Иловая нагрузка ручьев Техаса: отчет о компиляции, июнь 1889 г. — сентябрь 1959 г. | 1961 |
| 6109 | Геология и ресурсы подземных вод северных высоких равнин Техаса | 1961 |
| 6110 | Разведка подземных вод в районе Марфа, округ Пресидио, Техас | 1961 |
| 6111 | Разведка ресурсов подземных вод в районе Марафона, округ Брюстер, Техас | 1961 |
| 6201 | Пополнение запасов, сброс и изменение запасов подземных вод в районе Эдвардс и ассоциированных известняков Сан-Антонио, штат Техас. Отчет о проделанной работе, 1955-59 | 1962 |
| 6202 | Ресурсы подземных вод округов Виктория и Калхун, Техас | 1962 |
| 6203 | Ресурсы подземных вод Нижней долины Месилья, плиты Техаса и Нью-Мексико | 1962 |
| 6204 | Описание подземных вод в районе Эль-Пасо, штат Техас, 1955-60 гг. | 1962 |
| 6205 | Химический состав поверхностных вод Техаса, 1959 г. | 1962 |
| 6206 | Исследования по проблеме образования накипи электродиализных деминерализаторов | 1962 |
| 6207 | Измерения уровня воды до 1962 года в выбранных наблюдательных скважинах, Саутерн-Хай-Плейнс, Техас | 1962 |
| 6208 | Геология подземных вод округа Эдвардс, штат Техас | 1962 |
| 6209 | Ресурсы подземных вод округов Хаскелл и Нокс, Техас | 1962 |
| 6210 | Геология подземных вод округа Бандера, штат Техас | 1962 |
| 6211 | Откачка грунтовых вод и колебания уровня воды в округе Хьюстон и районе Бэйтаун-ЛаПорт, Техас, 1957-61 | 1962 |
| 6212 | Геология и ресурсы подземных вод округа Увальде, штат Техас | 1962 |
| 6213 | Ежегодные измерения уровня воды в наблюдательных скважинах Северные Высокие равнины, Техас, 1961 и 1962 годы | 1962 |
| 6214 Том 1 | Геология и ресурсы подземных вод округа Ривз, штат Техас (второе издание 1972 г. ) 12 больших картографических пластин | 1962 |
| 6214 Том 2 | Геология и ресурсы подземных вод округа Ривз, штат Техас | 1962 |
| 6215 | Химический состав поверхностных вод Техаса, 1960 г. Карта: станции контроля качества воды, 1960 г. | 1962 |
| 6216 | Геология и ресурсы подземных вод округа Кинни, штат Техас | 1962 |
| 6301 | Наличие грунтовых вод из песка Голиад в районе Элис, штат Техас | 1963 |
| 6302 | Наличие и качество грунтовых вод в округе Смит, штат Техас | 1963 |
| 6303 | Откачка грунтовых вод и изменения уровня воды в округе Галвестон, штат Техас, 1958-62 | 1963 |
| 6304 | Химический состав поверхностных вод Техаса, 1961 г. Табличка 1 Станции контроля качества воды, 1961 г. ![]() | 1963 |
| 6305 | Разведывательное исследование ресурсов подземных вод региона побережья Мексиканского залива, Техас | 1963 |
| 6306 | Разведывательное исследование ресурсов подземных вод в бассейнах рек Ред-Ривер, Сульфур-Ривер и Сайпресс-Крик, Техас | 1963 |
| 6307 | Разведывательное исследование ресурсов подземных вод бассейна реки Сабин, Техас | 1963 |
| 6308 | Разведывательное исследование ресурсов подземных вод бассейна реки Нечес, Техас | 1963 |
| 6309 | Разведывательное исследование ресурсов подземных вод бассейна реки Тринити, Техас (второе издание, 1973 г.) Книга негабаритных картографических пластин сканируется | 1963 |
| 6310 | Разведывательное исследование ресурсов подземных вод бассейна реки Бразос, Техас | 1973 |
| 6311 | Наводнения в Техасе, величина и частота пиковых стоков. Таблица 1: Карта с указанием гидрометрических станций и областей минимальной частоты . Таблица 2: Карта с указанием гидрометрических станций и гидрологических районов. | 1963 |
| 6312 | Ресурсы подземных вод округа Рефухио, штат Техас | 1963 |
| 6401 | Исследование замедления испарения в малых водоемах 1958-63 | 1964 |
| 6402 | Геология и ресурсы подземных вод округа Карсон и части округа Грей, штат Техас | 1964 |
| 6403 | Пятьдесят лет развития водных ресурсов в Техасе | 1964 |
| 6404 | Заповедные водохранилища в Техасе Некоторые аспекты и хронология освоения поверхностных водных ресурсов | 1964 |
| 6405 | Разведка химического состава поверхностных вод бассейна реки Сабин Техас и Луизиана | 1964 |
| 6406 | Геология и ресурсы подземных вод округа Хардин, штат Техас | 1964 |
| 6407 | Исследования базового стока Река Педерналес, Техас | 1964 |
| 6408 | Плотины и водохранилища в Техасе Историческая и описательная информация | 1964 |
| 6409 | Разведывательное исследование ресурсов подземных вод в бассейнах рек Гуадалупе, Сан-Антонио и Нуэсес, Техас | 1964 |
| 6410 | Составленный отчет о нагрузке на взвешенные наносы водотоков Техас, октябрь 1959 г. — сентябрь 1961 г. | 1964 |
| 6411 | Химическое качество поверхностных вод в водоразделе Хаббард-Крик, штат Техас, отчет о проделанной работе, сентябрь 1963 г. | 1964 |
| 6412 | Наличие и качество грунтовых вод в округе Стивенс, штат Техас | 1964 |
| 6413 | Ограничения подачи воды на орошение из реки Рио-Гранде в округах Старр, Идальго, Камерон и Уилласи, штат Техас | 1964 |
| 6413А | Приложения к Бюллетеню 6413 (Ограничения подачи воды для орошения из реки Рио-Гранде в округах Старр, Идальго, Камерон и Уилласи, штат Техас) | 1965 |
| 6414 | Анализ единичных гидрографов малых водоразделов в Техасе | 1964 |
| 6415 | Наличие и качество грунтовых вод в округе Янг, штат Техас | 1964 |
| 6501 | Химический состав поверхностных вод Техаса, 1962 г.![]() | 1965 |
| 6502 | Разведывательные исследования ресурсов подземных вод бассейна Рио-Гранде, Техас | 1965 |
| 6503 | Исследования базового стока, округ Гуадалупе-Ривер, Комал, Техас | 1965 |
| 6504 | Текущее состояние модификации погоды A. Сводка — 1964 | 1965 |
| 6505 | Базовые исследования стока Льяно-Ривер, Техас | 1965 |
| 6506 | Исследования базового стока Река Лампасас, Техас | 1965 |
| 6507 | Данные об уровне воды из наблюдательных скважин в округах Пекос и Ривз, штат Техас | 1965 |
| 6508 | Исследование аналоговой модели подземных вод в округе Хьюстон, штат Техас | 1965 |
| 6509 | Исследование подачи воды на реку Нуэсес, штат Техас, количество и качество, август 1963 г. | 1965 |
| 6510 | Исследования базового стока реки Сан-Габриэль, Техас, количество и качество, 16-18 марта 1964 г. Фото 1 Карта водораздела реки Сан-Габриэль | 1965 |
| 6511 | Исследования базового стока Сиболо-Крик, Техас, количество и качество, 5-7 марта 1963 г. табличка 1 Карта измерений расхода и геологии речного русла, Сиболо-Крик, 1963 г. | 1965 |
| 6512 | Симпозиум по учету засух при планировании водных ресурсов | 1965 |
| 6513 | Наличие и качество грунтовых вод в округе Леон, штат Техас | 1965 |
| 6514 | Разработка подземных вод в районе Эль-Пасо, штат Техас, 1960-63 гг. | 1965 |
| 6515 | Инвентаризация Texas Irrigation | 1965 |
| 6516 | Геология и ресурсы подземных вод округа Ориндж, штат Техас (второе издание, 1970 г.) | 1965 |
| 6517 | Ресурсы подземных вод округов Кэмп, Франклин, Моррис и Титус, Техас (второе издание, 1975 г. ) | 1965 |
| 6518 | Ресурсы подземных вод округа ДеВитт, штат Техас | 1965 |
| 6519 | Ресурсы подземных вод округа Менард, Техас (второе издание, 1970 г.) | 1965 |
| 6520 | Ресурсы подземных вод округов Ла Саль и Макмаллен, штат Техас, пластины | 1965 |
| 6521 | Исследование загрязнения грунтовых вод, Район Рейнланд, округ Нокс, Техас | 1965 |
Водоносные горизонты Техаса | Совет по развитию водных ресурсов Техаса
Техас имеет многочисленные водоносные горизонты, способные давать подземные воды для домашних хозяйств, муниципалитетов, промышленности, ферм и ранчо.Совет по развитию водных ресурсов Техаса (TWDB) признает 9 основных водоносных горизонтов — водоносных горизонтов, которые производят большое количество воды на больших территориях (см. карту основных водоносных горизонтов) — и 22 второстепенных водоносных горизонта — водоносных горизонтов, которые производят небольшое количество воды на больших площадях или большое количество воды.
на небольших участках (см. карту мелких водоносных горизонтов).
Эти водоносные горизонты являются важным источником воды для Техаса, обеспечивая 62 процента из 13,7 миллионов акров футов воды, используемых в штате в 2014 году. Около 76 процентов этой воды используется для орошения, при этом ирригаторы забирают большую часть этой воды из только водоносный горизонт Огаллала (72 процента всех подземных вод, используемых для орошения, или 4,5 процента).6 миллионов акров футов в год). Около 36 процентов воды, используемой для удовлетворения муниципальных потребностей, поступает из подземных вод.
Геологический атлас Техаса иллюстрирует протяженность геологических образований (и водоносных горизонтов) по всему штату. Поверхностная протяженность или обнажение каждого водоносного горизонта представляет собой площадь, на которой вмещающие породы выходят на поверхность земли. Эта область соответствует основной зоне питания водоносных горизонтов. Подземные воды, обнаруженные в этом районе, обычно находятся в безнапорном, грунтовом грунте и наиболее подвержены загрязнению.
Некоторые водоносные образования погружаются ниже поверхности и перекрыты другими образованиями. Водоносные горизонты с этой характеристикой обычны, хотя и не исключительны, к востоку и югу от межштатной автомагистрали 35. Водоносные горизонты, покрытые менее проницаемыми образованиями, такими как глина, находятся под артезианским давлением. Очертания границ опускания таких водоносных горизонтов, как Эдвардс (BFZ), Тринити и Карризо-Уилкокс, основаны на химических критериях качества.
Характеристика ресурсов подземных вод штата и разработка карт с изображением этих водоносных горизонтов выполнялись многими сотрудниками TWDB на протяжении многих лет.Карты водоносных горизонтов и отчеты постоянно пересматриваются, чтобы отражать самую последнюю доступную информацию.
Водоносные горизонты Техаса | Отчет TWDB 380
Макет 1
%PDF-1.6
%
12486 0 объект
>
эндообъект
12483 0 объект
>поток
приложение/pdf
%%DocumentProcessColors: Голубой Пурпурный Желтый Черный
%%EndCommentsAcrobat Distiller 8.
1.0 (Macintosh)2009-07-13T15:02:49-05:002009-07-13T15:32:36-04:00QuarkXPress(R) 8.02009-07-13T15:32:36-04:00%%DocumentProcessColors: Cyan Пурпурный Желтый Черный
%%EndCommentsuuid:cbd43332-1f93-614d-8b1f-48a86ea9a16fuuid:8ec51887-8025-2b42-a650-ffa58b8de741
конечный поток
эндообъект
12423 0 объект
>
эндообъект
12420 0 объект
>
эндообъект
12421 0 объект
>
эндообъект
12422 0 объект
>
эндообъект
12424 0 объект
>
эндообъект
12432 0 объект
>
эндообъект
12438 0 объект
>
эндообъект
12444 0 объект
>
эндообъект
12450 0 объект
>
эндообъект
12456 0 объект
>
эндообъект
12463 0 объект
>
эндообъект
12469 0 объект
>
эндообъект
12475 0 объект
>
эндообъект
12476 0 объект
>
эндообъект
12477 0 объект
>
эндообъект
12478 0 объект
>
эндообъект
12479 0 объект
>
эндообъект
12480 0 объект
>
эндообъект
12481 0 объект
>
эндообъект
12482 0 объект
>
эндообъект
11574 0 объект
>
эндообъект
11577 0 объект
>
эндообъект
11580 0 объект
>
эндообъект
11583 0 объект
>
эндообъект
11586 0 объект
>
эндообъект
11589 0 объект
>/ColorSpace>/Font>/ProcSet[/PDF/Text]/ExtGState>>>/Type/Page>>
эндообъект
11590 0 объект
>поток
HTN0y
A7i
0#l*lX;Z9?GIbF601o
Просачивание подземных вод — Деревня Ривер Форест
Просачивание подземных вод происходит при избыточном количестве воды в грунте, прилегающем к стене фундамента или цокольному этажу.
Давление грунтовых вод может возрасти до такой степени, что они могут начать «просачиваться» через небольшие трещины в фундаменте или полу. Хотя это совершенно не зависит от резервного копирования канализации, оно может происходить в количествах, которые можно классифицировать как затопление.
См. ниже:
Значительное количество грунтовых вод может попасть в подвал во время сильных дождей. Однако обычно он попадает в подвал намного медленнее, чем из канализации. В результате им, как правило, можно управлять более эффективно и действенно, чем резервным канализацией.Часто уборки или уборки пылесосом воды с помощью пылесоса для влажной/сухой уборки, когда она попадает в подвал, может быть достаточно, чтобы предотвратить какой-либо ущерб, если она находится в незавершенной части подвала. Или, в случае, когда просачивание может происходить, но нет канализации, вы можете просто вытолкнуть всю скопившуюся воду в канализацию.
В следующем списке перечислены меры, которые можно предпринять для предотвращения просачивания:
- Удостоверьтесь, что площадка имеет постоянный уклон от стен фундамента – любая ливневая вода, скапливающаяся возле стены фундамента, может привести к просачиванию
- Убедитесь, что все водосточные трубы и дренажные насосы отведены от жилого дома, на передний или задний двор — если они сливаются непосредственно рядом с фундаментом, они могут способствовать повышению давления грунтовых вод и просачиванию
- Обеспечьте постоянный уклон в сторону стоков в полу в подвале
- Установка дренажной плитки/отстойника – это может быть сделано по внутреннему или внешнему периметру стены фундамента и, как правило, снимает достаточное давление грунтовых вод, чтобы предотвратить просачивание.
Чтобы просмотреть список подрядчиков по сантехническим работам, которые в настоящее время имеют лицензию в деревне, нажмите здесь. - Гидроизоляция стены фундамента — есть компании, специализирующиеся на гидроизоляции, которая заключается в установке водонепроницаемого барьера вокруг фундамента, чтобы предотвратить попадание воды в трещины в стене фундамента. Чтобы просмотреть список подрядчиков по гидроизоляции, имеющих в настоящее время лицензию в деревне, нажмите здесь.
Для тех, у кого есть дренажная плитка и водоотливной насос для снижения давления грунтовых вод вокруг фундамента, вот несколько моментов, которые следует учитывать, чтобы ваша система продолжала работать эффективно:
- Регулярно проверяйте дренажный насос, чтобы убедиться в его рабочем состоянии и отсутствии препятствий
- Рассмотрите возможность установки резервного аккумулятора или водяного насоса, чтобы система продолжала работать во время отключения электроэнергии
- Рассмотрите возможность наличия дополнительного насоса на случай отказа существующего насоса
- Рассмотрите возможность установки сигнализации о высоком уровне воды, чтобы уведомить вас в случае отказа насоса или просто неспособности справиться с поступающей водой
- Рассмотрите возможность установки обратного клапана на линии нагнетания дренажного насоса, чтобы вода не стекала обратно к насосу за один раз
- Чтобы просмотреть список подрядчиков по сантехнике, имеющих лицензию в деревне, нажмите здесь.

Ползти по космической воде | Услуги Фонда Маунт-Вэлли
Подпольем называется небольшой незавершенный участок под домом или зданием, который существует исключительно для обеспечения доступа к электропроводке и водопроводу. В отличие от остальной части вашего дома, пространство для ползания не спроектировано с учетом комфорта или красоты.
Он получил свое название из-за того, что пространство слишком низкое, чтобы в нем можно было стоять прямо. Обычно подвал размером более 3 или 4 футов на 3 или 4 фута считается небольшим подвалом.Тем не менее иногда подвал может занимать ширину всего дома вместо подвала.
Места для обхода очень полезны, если вам нужно проверить проводку в вашем доме или вызвать профессионального техника для ремонта. Однако, поскольку подвалы находятся под вашим домом, они рискуют заполниться водой после серьезного климатического явления или проблемы с сантехникой. Иногда домовладельцы не осознают, что их подполье затоплено, пока не будет затронута вся проводка и сантехника в их доме.
Это приводит к значительному ущербу, а также к угрозе вашей безопасности.
Каждому домовладельцу важно знать, почему в подпольях может собираться вода, каковы возможные последствия и как их предотвратить. В то время как вода в подполье может быть разрушительной, ее также легко предотвратить с помощью обученного профессионала. Стратегический ремонт сейчас — лучший способ защитить пространство для ползания и ваш дом с течением времени.
Crawl Space Water: что это такое и почему вы должны принять меры
Вода в подполье относится к любой влаге или конденсату в подполье вашего дома.Это никогда не хорошо иметь.
Поскольку подполье содержит незащищенную проводку и сантехнику, оно никогда не предназначено для намокания. Это может показаться нелогичным. В конце концов, «пол» вашего подполья — это грязь под вашим домом, а земля естественным образом намокает из-за дождя и снега. Но сухое подполье не только возможно, но и намного лучше для вашего дома и вас самих.
Закрытое пространство для ползания защищает его от большей части воды. Однако этот же фактор означает, что когда вода попадает в подполье, она может там легко застаиваться.
Что вызывает ползание космической воды?
Существует три основные причины появления воды в подполье.
- Проблемы, связанные с сантехникой: Наиболее очевидная и распространенная причина — проблемы с сантехникой. Если в вашем подполье прорвется труба, вода может легко скапливаться и застаиваться там без вашего ведома.
Другой причиной появления воды в подполье, связанной с сантехникой, является конденсат. Конденсация – это крошечные капельки воды, которые образуются при смешивании горячего и влажного воздуха с холодным и сухим воздухом.Если вы когда-нибудь принимали долгий горячий душ и после этого видели капли на стенах или потолке, вы знаете, как это выглядит.
В субтропическом климате, таком как Южная Каролина, конденсация в сантехнике является обычным явлением.
Воздух горячий и влажный, поэтому многие домовладельцы постоянно включают свои системы кондиционирования воздуха в летние месяцы. Конденсат собирается в воздуховодах вашей системы кондиционирования воздуха, а затем капает на пол вашего подполья. Со временем эта вода накапливается.
- Просачивание из почвы под или вокруг ползания Пространство: Это называется подземными водами.Если вы живете в районе, подверженном дождям или наводнениям, это может быть постоянной проблемой. Однако просачивание воды особенно проблематично, если у вас треснувший или неровный фундамент.
Прочный фундамент дома должен лежать равномерно либо над землей под ним, либо ровно на ней. Тем не менее, фундамент вашего дома может легко деформироваться, стать неровным или треснуть из-за чего-то такого простого, как корни деревьев, растущие под ним. Трещина в фундаменте вашего дома может позволить воде просачиваться в землю прямо под вашим домом, собираясь в подполье.
Возможно, рабочие, которые строили ваш дом, недостаточно плотно утрамбовали грунт перед закладкой фундамента.
Рыхлая почва под вашим домом позволяет собирать воду от сильного дождя, снега и ураганов. Эти осадки могут не только негативно повлиять на фундамент вашего дома, но и нанести серьезный ущерб вашему подполью и остальной части вашего дома.
- Вода, капающая вниз из водосточных желобов на крыше, переполненных водосточных желобов или прохудившихся окон подвала: Это известно как поверхностная вода, потому что она попадает в ваш дом на более высоких уровнях, постепенно стекая в подполье.
Почему вы должны беспокоиться о воде для ползания в космосе
Вода и проводка никогда не бывают хорошим сочетанием. Однако самое худшее в воде для ползания — это не сами лужи воды. Подползающая вода приводит к более серьезным проблемам, которые могут потребовать дорогостоящего ремонта дома.
Космическая вода притягивает плесень
Споры плесени любят воду. Они едят древесину, но им нужна вода, чтобы добраться до нее.
Таким образом, большая лужа застойной воды, насыщающей древесину, является идеальной средой для размножения плесени.
Споры плесени питаются всем: от деревянных балок, из которых состоит каркас вашего дома, до гипсокартона, из которого сделаны ваши стены. Споры плесени поедают целлюлозу древесины, компонент частиц, который делает древесину прочной. Это приводит к тому, что древесина гниет, теряя свою несущую способность, пока не выйдет из строя полностью.
Споры плесени также любят питаться мертвыми насекомыми. Поскольку даже в самых сухих местах для ползания, как правило, их много, это дополнительная пища для плесени. По мере роста плесень распространяется.
Другими словами, плесень, которая развивается в вашем подполье, может нанести ущерб всему вашему дому. Это сделает ваш дом структурно ненадежным и небезопасным для проживания. Плесень сама по себе представляет опасность для здоровья. Люди и домашние животные, которые вдыхают плесень, могут страдать от респираторных заболеваний до головных болей, что может привести к серьезным последствиям для здоровья.
Ползающая космическая вода привлекает вредителей
Стоячая вода в подвале привлечет больше нежелательных гостей, чем просто плесень.Термиты, насекомые, которые поедают древесину почти так же, как это делает плесень, тяготеют к влажной древесине. Так же и пауки.
А безопасное закрытое пространство с собственным водоснабжением — это, по сути, приглашение для нежелательных животных. Грызуны, змеи и другие животные притягиваются к влажным подпольям. Это представляет опасность для всех, кто входит в подполье. Но это может привести и к другим проблемам. Грызуны и змеи, которые зарываются в подполье, могут легко проникнуть в ваш дом.
Вода в космическом пространстве наносит значительный ущерб
Для безопасного и эффективного удаления плесени и вредителей требуются услуги опытного специалиста.Если эти заражения приведут к структурным повреждениям вашего дома, расходы, которые вы понесете, будут намного выше, не говоря уже о потенциальном ущербе для вашего здоровья и безопасности.
Чем быстрее вы обнаружите воду в подвале, тем быстрее сможете от нее избавиться. Помните о признаках потенциальной воды в подполье, чтобы, если они появятся, вы могли как можно скорее вызвать профессионала.
Crawl Space Water: признаки проблемы
Многие домовладельцы никогда не заходят в подполье.Это ошибка. Регулярная проверка пространства для ползания — это простой способ следить за его состоянием и следить за тем, чтобы оно оставалось сухим. Тем не менее, если вы видите какие-либо из следующих предупредительных знаков, стоит совершить дополнительную поездку в ваше пространство для сканирования:
.
Суровое климатическое явление
Во время или после сурового климатического явления, такого как сильный дождь или снег, вы должны внимательно следить за тем, чтобы пространство для ползания оставалось сухим.
Излишне говорить, что если вы столкнулись с ураганом, наводнением или землетрясением, ваше пространство для обхода — это наименьшая из ваших забот.
Доставьте вас и ваших близких в безопасное место, возвращаясь домой только тогда, когда это безопасно. Тем не менее, по возвращении тщательная профессиональная проверка вашего пространства для ползания должна стать частью вашей общей проверки безопасности дома.
Ураганы и наводнения создают большое количество воды, которая может легко просочиться в подполье. Землетрясения могут нанести ущерб вашему фундаменту, что также позволит дополнительным грунтовым водам скапливаться в вашем подполье.
Стремительно растущие счета за электроэнергию и воду
Если ваше подполье влажное, воздух в нем и, возможно, даже в вашем доме будет влажным.Поскольку влажный воздух имеет высокий уровень влажности, для его нагрева или охлаждения требуется гораздо больше энергии, чем для сухого воздуха. Во влажном штате, таком как Южная Каролина, это уже проблема, даже если ваше подполье и дом в идеальном состоянии. Тем не менее, если ваши счета за электроэнергию резко возросли без видимой причины, немедленно проверьте пространство для обхода.
То же самое верно, если кажется, что потребление воды в вашем доме внезапно увеличилось. Прорвавшаяся труба может заполнить ваше пространство для ползания, тратить воду и нанести огромный ущерб вашему дому.
Если вы знаете, что где-то в вашем доме прорвало трубу, убедитесь, что вы и специалист проверили подполье на наличие воды в рамках оценки ущерба.
Холодные полы над лазом зимой
Опять же, температуру во влажном подполье трудно контролировать. Даже если вы чудесным образом избежите резких скачков счетов за электроэнергию и воду, холодный воздух, поднимающийся из вашего подполья зимой, является еще одним признаком того, что там может скапливаться вода.
Затхлые запахи
Даже если вы не в подвале, вы можете почувствовать его запах.Затхлый запах, исходящий из подполья, является плохим признаком, так как, вероятно, там уже растет плесень. Если вы подозреваете, что в вашем подполье может быть плесень, немедленно обратитесь к специалисту.
И если вам не повезло, что плесень растет где-то еще в вашем доме, убедитесь, что ваш технический специалист проверяет подполье, чтобы убедиться, что это не то место, где она возникла.
Что делать при ползании по космической воде
Вода в космическом пространстве для ползания может вызвать серьезные проблемы. Однако, если поймать быстро, это легко лечится.Более того, есть много шагов, которые вы, как домовладелец, можете предпринять, чтобы в первую очередь предотвратить промокание вашего подполья.
Укрепите пространство для ползания
Опытный профессионал сможет укрепить ваше пространство для обхода несколькими способами.
Первый — это пароизоляция подполья. Пароизоляция — это защитный материал, который профессиональный техник устанавливает на стены и потолок вашего подполья. Он предотвращает попадание влаги в подполье, защищает ваши шишки и контролирует количество тепла, попадающего в ваш дом.Пароизоляция сэкономит ваше пространство для ползания и снизит ваши счета за электроэнергию.
Если вы живете во влажном климате, например, в Северной Каролине или Южной Каролине, установка осушителя в подполье также является хорошей идеей. Осушитель удаляет влагу из окружающего воздуха. Это не только высушивает любую воду из вашего подполья, но также препятствует появлению плесени и вредителей в этом районе.
Теплоизоляция также является полезным дополнением к вашему пространству для ползания.Теплоизоляция сама по себе не предотвращает затопление подполья. Тем не менее, это может помочь сохранить пространство для ползания и, следовательно, температуру в вашем доме. И если ваше подполье затапливает, теплоизоляция помогает защитить ваши стены и фундамент от растрескивания.
Избегайте самоделки
Хотя рекомендуется регулярно проверять пространство для обхода, не ремонтируйте его самостоятельно. Учитывая, насколько важно пространство для обхода вашего дома и как много там может пойти не так, лучше всего использовать ваше время и деньги, чтобы позволить профессионалу решить любые проблемы.
Самостоятельное исправление пространства для обхода может иметь опасные последствия. Вас могут укусить вредители, вы можете случайно вдохнуть или распространить споры плесени по всему дому. Если ваше пространство для ползания сгнило до такой степени, что оно неустойчиво, вы можете получить серьезную травму, войдя в него без надлежащих мер предосторожности.
Неправильное задание инкапсуляции пространства для искателя может не только не решить основную проблему, но и привести к дальнейшим проблемам. Избавьте себя от беспокойства и доверьте эту важную работу опытному профессионалу.
Позвоните специалисту
Вода в космосе может иметь катастрофические последствия только в том случае, если ее не обрабатывать. Поэтому, если вы обнаружите воду в своем подполье, не паникуйте — просто вызовите профессионала. Быстрая и эффективная инкапсуляция пространства для сканирования не только решит ваши проблемы, но и сделает ваше пространство для сканирования сильнее и эффективнее, чем раньше.
Подполье — это небольшой незавершенный участок под домом или зданием, предназначенный исключительно для доступа к проводке и водопроводу. Хотя он упирается прямо в землю внизу, он никогда не должен быть влажным.
Поскольку подвалы маленькие и закрытые, вода может легко там скапливаться и застаиваться. Вода в подползающем пространстве вызвана повреждением одного из трех основных источников: проблемы с сантехникой, просачивание и поверхностные воды.
Из-за лопнувшей или протекающей трубы в подполье может скапливаться вода. Это, очевидно, наносит ущерб всему вашему дому, но также может сильно пострадать пространство для ползания.
Другой причиной появления воды в подполье, связанной с сантехникой, является конденсат. Конденсация – это крошечные капельки воды, которые образуются при смешивании горячего и влажного воздуха с холодным и сухим воздухом.В субтропическом климате, таком как Северная Каролина или Южная Каролина, домовладельцы часто используют кондиционеры в своих домах в летние месяцы.
Когда эти холодные частицы воды соединяются с горячим воздухом, внутри воздуховодов может образовываться конденсат. Затем конденсат постепенно стекает в подполье, где собирается и остается.
- Просачивание и поверхностные воды
Под просачиванием понимается вода, которая поднимается из-под земли в подполье.Если вы живете в районе, подверженном сильным дождям или наводнениям, это может быть постоянной проблемой. Чрезмерное количество просачивания может как насытить пространство для ползания, так и повредить фундамент вашего дома.
Поверхностные воды противоположны просачиванию: они приходят сверху. Если у вас есть дыры в крыше вашего дома или в окне подвала, или если ваши желоба переполнены, лишняя вода может стекать в подполье.
Если вы только что не пережили серьезное климатическое явление, ущерб, наносимый как просачиванием, так и поверхностными водами, может быть постепенным.
Да. К счастью, есть много вещей, которые вы можете сделать как домовладелец, чтобы предотвратить попадание воды в подполье.
Регулярный мониторинг вашего пространства для ползания — отличный способ быстро поймать любое скопление воды.
Существует множество мер, которые вы можете предпринять, чтобы защитить подполье от воды. Тем не менее, большинство из них будут наиболее эффективными, если их будет выполнять профессионал.
- Регулярные осмотры и техническое обслуживание
Одним из наиболее эффективных способов предотвращения попадания воды в подполье является проверка подполья каждые шесть-двенадцать месяцев.Как уже говорилось, на подполье могут влиять многие другие области вашего дома, от крыши до фундамента. Регулярная очистка водосточных желобов — это один из простых способов самостоятельно предотвратить попадание воды в подполье.
Периодические проверки ваших водопроводных и дренажных систем, крыши и фундамента также гарантируют, что ваш дом является структурно прочным. Это поможет сохранить пространство для ползания сухим и обеспечит безопасность проживания в вашем доме.
- Получите профессиональную консультацию
С подпольем, как и во многих других случаях, лучшая защита — это хорошее нападение.Опытный профессионал может оценить ваше подполье и выполнить ремонт или модернизацию, чтобы защитить его от воды до того, как произойдет повреждение. Если вы живете во влажной или дождливой среде, например, в Северной Каролине или Южной Каролине, защитите свое подполье от обычной погоды. событий является невероятно ценным вложением.
В частности, для удаления плесени и вредителей требуются услуги специалиста. Вы никогда не должны пытаться сделать это самостоятельно. На самом деле, весь ремонт и укрепление подполья лучше доверить профессионалу.
Да. Многие домовладельцы считают, что вода в подполье неизбежна, поскольку земля часто имеет некоторую степень влажности. Тем не менее, ваше пространство для ползания может и должно всегда оставаться сухим.
Хотя любое количество воды в вашем подполье — это плохо, реальный ущерб исходит от опасностей, которые могут нанести серьезный вред вашему здоровью и имуществу.
Пропитанная водой древесина и гипсокартон — идеальная среда для размножения плесени или термитов, которые могут распространиться по всему дому и привести к его разрушению.Ползающая космическая вода также привлекает таких опасных вредителей, как змеи и грызуны.
Споры плесени сами по себе представляют угрозу для здоровья людей и домашних животных и вызывают проблемы с дыханием, тошноту, усталость и, возможно, даже более серьезные проблемы со здоровьем. Поэтому, если у ваших близких в последнее время появились какие-либо из этих симптомов, это может быть признаком того, что пришло время проверить подпольное пространство.
Хотя это меркнет по сравнению с угрозой плесени или вредителей, стоит отметить, что вода из подполья невероятно неэффективна для систем отопления, вентиляции и кондиционирования воздуха в вашем доме.Если в вашем подполье есть вода, вашей системе HVAC придется работать очень усердно, чтобы регулировать температуру в остальной части вашего дома.
Это значительно увеличивает ваши счета за электроэнергию — до тех пор, пока, конечно, не потребуется капитальный ремонт. Если вы подозреваете, что в подвале есть вода, для вашего кошелька и душевного спокойствия лучше сразу вызвать профессионала. Зафиксируйте свое пространство для сканирования один раз и правильно.
Позвоните в службу поддержки Фонда Маунт-Вэлли для качественного ремонта
Mount Valley Foundation Services — старейшая и пользующаяся наибольшим доверием компания по инкапсуляции сканирующих пространств, обслуживающая города Южной Каролины, такие как Грир, Колумбия, Чарльстон и Гринвилл.Если в вашем доме есть мокрое подвальное помещение, не стесняйтесь позвонить нам или запланировать бесплатную онлайн-инспекцию. Наша команда экспертов продиагностирует и устранит основные причины воды в вашем подполье и предпримет соответствующие шаги, чтобы обеспечить защиту вашего дома в будущем.
Запланировать бесплатный осмотр
Марганец
(Нажмите здесь, чтобы просмотреть версию этого вопроса и ответа для печати)
Что такое марганец?
- Марганец — это минерал, который естественным образом встречается в окружающей среде и является одним из самых распространенных металлов на поверхности земли, в воздухе, воде и почве.
Его можно найти как в подземных, так и в поверхностных водах из природных источников или в результате деятельности человека, такой как добыча полезных ископаемых и промышленные сбросы. - Марганец используется в различных отраслях промышленности, в том числе при производстве сплавов железа и стали, аккумуляторов, стекла, фейерверков, различных чистящих средств, удобрений, лаков, фунгицидов, косметики и кормовых добавок для скота.
- Питьевая вода может быть источником воздействия марганца. Повышенные концентрации марганца могут встречаться как в муниципальной воде, так и в воде из частных колодцев.В целом, марганец более распространен и находится в более высоких концентрациях в подземных водах, чем в поверхностных водах. Большая часть воздействия происходит при приеме внутрь, а не при купании/душе.
- Пища является значительным источником воздействия, но биодоступность (то есть количество, которое поглощает ваше тело) выше из питьевой воды.
Каково потенциальное воздействие марганца в питьевой воде на здоровье и эстетику?
Несмотря на то, что марганец является важным питательным веществом в низких дозах, его повышенный уровень представляет опасность для здоровья.

Вероятность воздействия марганца на здоровье зависит от таких факторов, как путь воздействия, химическая форма, возраст на момент воздействия и состояние питания человека. Некоторые группы, которые более чувствительны к марганцу, включают младенцев, пожилых людей и людей с заболеваниями печени.
Исследования предполагают связь между воздействием марганца в питьевой воде и неврологическими проблемами у младенцев и детей, такими как изменения в поведении, более низкий IQ, проблемы с речью и памятью, а также отсутствие координации и контроля движений.
Марганец в питьевой воде также может вызывать эстетические проблемы, такие как металлический привкус воды и черные пятна на ваннах/душах, туалетах, сантехнике и белье.
Есть ли марганец в моей питьевой воде?
- Если вы заметили черные пятна на душе, унитазе, сантехнике или белье, скорее всего, в вашей питьевой воде есть марганец, и рекомендуется проверить воду.

- Чтобы проверить воду на марганец, обратитесь в сертифицированную лабораторию питьевой воды. Вы можете обратиться в местное управление питьевой воды, чтобы получить список сертифицированных лабораторий в вашем районе, или выполнить поиск в Интернете на странице сертификации лабораторий питьевой воды Агентства по охране окружающей среды: https://www.epa.gov/dwlabcert
- Вы также можете обратиться к специалисту по очистке воды, который приедет к вам домой и проверит вашу воду. Вы можете использовать функцию «Найти поставщиков услуг по очистке воды» WQA для поиска специалистов по очистке рядом с вашим почтовым индексом: http://www.wqa.org/find-providers
.
Регулируется ли содержание марганца в питьевой воде?
- В настоящее время не существует федеральных обязательных максимальных уровней загрязнения (MCL) марганца в питьевой воде. В соответствии с Законом о безопасной питьевой воде (SDWA) системы общественного водоснабжения не обязаны проверяться на содержание марганца.

- Тем не менее, Агентство по охране окружающей среды также разработало Национальные вторичные правила питьевой воды, которые устанавливают необязательные стандарты качества воды (вторичные максимальные уровни загрязнения или SMCL), которые используются в качестве рекомендаций для помощи системам водоснабжения в управлении питьевой водой по эстетическим соображениям, таким как вкус, цвет , и запах.EPA установило SMCL для марганца на уровне 0,05 мг / л, чтобы защитить воду от черного окрашивания и горького металлического привкуса.
- В 2004 г. Агентство по охране окружающей среды установило не подлежащий принудительному исполнению рекомендательный уровень для здоровья в течение всей жизни (HA) в размере 0,3 мг/л для хронического воздействия марганца и 1-дневный и 10-дневный HA в размере 1 мг/л для острого воздействия. EPA предлагает использовать 0,3 мг/л как при хроническом, так и при остром воздействии на младенцев в возрасте до 6 месяцев. Эти консультативные уровни здоровья предназначены для использования в качестве технического руководства для помощи регулирующим органам в защите здоровья населения и содержат практические рекомендации по решению проблемы загрязнения марганцем.

- В 2019 году Министерство здравоохранения Канады установило максимально допустимую концентрацию (ПДК) с точки зрения здоровья на уровне 0,12 мг/л и эстетическую цель (AO) на уровне 0,02 мг/л для марганца в канадских системах снабжения питьевой водой.
Как удалить марганец из воды?
- Технологии очистки воды, которые, как было показано, способны удалять марганец из питьевой воды в вашем доме, включают умягчение воды катионным обменом, дистилляцию, фильтрацию и обратный осмос.
- Сертификация продукции обеспечивает дополнительный уровень гарантии для потребителей, которым нужна защита от марганца.В ходе этого процесса орган по сертификации проверяет конфиденциальную информацию о том, как и где производится и маркируется продукт, а также кто является поставщиком каждого материала или компонента; проводит регулярные заводские проверки, чтобы гарантировать, что продукт не будет изменен без разрешения или повторного тестирования; проверяет упаковку и маркировку продукта, чтобы убедиться, что важная информация доводится до потребителей; и проводит дополнительные испытания, чтобы убедиться, что продукты изготовлены из материалов, которые не выделяют вредные химические вещества в воду и не допускают утечек из-за скачков давления.
Сертификация продуктов, удаляющих марганец до 0,5 мг/л, доступна для катионного обмена, дистилляции, фильтрации и обратного осмоса. - Продукты для очистки питьевой воды, которые удаляют марганец, что подтверждено независимым тестированием и сертификацией WQA, можно найти здесь: https://www.wqa.org/find-products#/.
Дополнительная информация о марганце
%PDF-1.6
%
1768 0 объект >
эндообъект
внешняя ссылка
1768 535
0000000016 00000 н
0000015100 00000 н
0000015237 00000 н
0000015496 00000 н
0000015541 00000 н
0000015578 00000 н
0000016146 00000 н
0000016728 00000 н
0000016766 00000 н
0000016816 00000 н
0000017091 00000 н
0000017720 00000 н
0000017832 00000 н
0000017946 00000 н
0000018070 00000 н
0000024808 00000 н
0000030482 00000 н
0000036400 00000 н
0000042353 00000 н
0000048198 00000 н
0000053934 00000 н
0000059725 00000 н
0000065704 00000 н
0000068354 00000 н
0000103190 00000 н
0000105840 00000 н
0000105878 00000 н
0000106686 00000 н
0000108902 00000 н
0000207828 00000 н
0000207904 00000 н
0000208248 00000 н
0000208818 00000 н
0000208878 00000 н
0000208952 00000 н
0000209032 00000 н
0000209194 00000 н
0000209275 00000 н
0000209358 00000 н
0000209623 00000 н
0000209704 00000 н
0000209830 00000 н
0000210025 00000 н
0000210104 00000 н
0000210195 00000 н
0000210357 00000 н
0000210451 00000 н
0000210671 00000 н
0000210752 00000 н
0000210855 00000 н
0000211096 00000 н
0000211175 00000 н
0000211288 00000 н
0000211521 00000 н
0000211646 00000 н
0000211751 00000 н
0000211817 00000 н
0000211924 00000 н
0000211990 00000 н
0000212239 00000 н
0000212410 00000 н
0000212538 00000 н
0000212720 00000 н
0000212928 00000 н
0000213036 00000 н
0000213132 00000 н
0000213301 00000 н
0000213467 00000 н
0000213586 00000 н
0000213664 00000 н
0000213839 00000 н
0000213993 00000 н
0000214247 00000 н
0000214317 00000 н
0000214560 00000 н
0000214717 00000 н
0000214992 00000 н
0000215063 00000 н
0000215340 00000 н
0000215385 00000 н
0000215640 00000 н
0000215685 00000 н
0000215974 00000 н
0000216019 00000 н
0000216311 00000 н
0000216356 00000 н
0000216646 00000 н
0000216807 00000 н
0000217102 00000 н
0000217262 00000 н
0000217550 00000 н
0000217595 00000 н
0000217886 00000 н
0000217931 00000 н
0000218222 00000 н
0000218267 00000 н
0000218556 00000 н
0000218601 00000 н
0000218891 00000 н
0000218936 00000 н
0000219224 00000 н
0000219269 00000 н
0000219560 00000 н
0000219604 00000 н
0000219821 00000 н
0000219865 00000 н
0000220156 00000 н
0000220200 00000 н
0000220495 00000 н
0000220539 00000 н
0000220832 00000 н
0000220876 00000 н
0000221166 00000 н
0000221210 00000 н
0000221483 00000 н
0000221527 00000 н
0000221780 00000 н
0000221824 00000 н
0000222117 00000 н
0000222279 00000 н
0000222572 00000 н
0000222616 00000 н
0000222905 00000 н
0000222949 00000 н
0000223238 00000 н
0000223395 00000 н
0000223687 00000 н
0000223731 00000 н
0000224021 00000 н
0000224065 00000 н
0000224358 00000 н
0000224402 00000 н
0000224693 00000 н
0000224737 00000 н
0000225026 00000 н
0000225070 00000 н
0000225289 00000 н
0000225333 00000 н
0000225627 00000 н
0000225671 00000 н
0000225895 00000 н
0000225939 00000 н
0000226129 00000 н
0000226238 00000 н
0000226432 00000 н
0000226476 00000 н
0000226768 00000 н
0000226812 00000 н
0000227057 00000 н
0000227101 00000 н
0000227345 00000 н
0000227389 00000 н
0000227679 00000 н
0000227723 00000 н
0000228011 00000 н
0000228055 00000 н
0000228345 00000 н
0000228389 00000 н
0000228680 00000 н
0000228724 00000 н
0000229017 00000 н
0000229061 00000 н
0000229356 00000 н
0000229400 00000 н
0000229688 00000 н
0000229732 00000 н
0000230021 00000 н
0000230065 00000 н
0000230356 00000 н
0000230400 00000 н
0000230693 00000 н
0000230844 00000 н
0000231122 00000 н
0000231166 00000 н
0000231457 00000 н
0000231571 00000 н
0000231772 00000 н
0000231816 00000 н
0000232106 00000 н
0000232150 00000 н
0000232440 00000 н
0000232484 00000 н
0000232741 00000 н
0000232879 00000 н
0000233132 00000 н
0000233176 00000 н
0000233468 00000 н
0000233512 00000 н
0000233733 00000 н
0000233777 00000 н
0000233924 00000 н
0000233968 00000 н
0000234135 00000 н
0000234179 00000 н
0000234345 00000 н
0000234389 00000 н
0000234684 00000 н
0000234728 00000 н
0000234971 00000 н
0000235015 00000 н
0000235147 00000 н
0000235191 00000 н
0000235449 00000 н
0000235593 00000 н
0000235752 00000 н
0000235895 00000 н
0000236141 00000 н
0000236278 00000 н
0000236568 00000 н
0000236727 00000 н
0000237017 00000 н
0000237061 00000 н
0000237352 00000 н
0000237512 00000 н
0000237769 00000 н
0000237908 00000 н
0000238161 00000 н
0000238304 00000 н
0000238593 00000 н
0000238749 00000 н
0000239037 00000 н
0000239196 00000 н
0000239444 00000 н
0000239580 00000 н
0000239841 00000 н
0000239885 00000 н
0000240175 00000 н
0000240219 00000 н
0000240364 00000 н
0000240474 00000 н
0000240605 00000 н
0000240685 00000 н
0000240764 00000 н
0000240856 00000 н
0000240939 00000 н
0000241028 00000 н
0000241172 00000 н
0000241330 00000 н
0000241398 00000 н
0000241598 00000 н
0000241750 00000 н
0000241841 00000 н
0000241963 00000 н
0000242155 00000 н
0000242357 00000 н
0000242451 00000 н
0000242665 00000 н
0000242832 00000 н
0000243042 00000 н
0000243121 00000 н
0000243280 00000 н
0000243467 00000 н
0000243542 00000 н
0000243629 00000 н
0000243846 00000 н
0000243970 00000 н
0000244074 00000 н
0000244171 00000 н
0000244241 00000 н
0000244360 00000 н
0000244432 00000 н
0000244568 00000 н
0000244648 00000 н
0000244804 00000 н
0000244895 00000 н
0000245008 00000 н
0000245077 00000 н
0000245200 00000 н
0000245276 00000 н
0000245357 00000 н
0000245420 00000 н
0000245625 00000 н
0000245747 00000 н
0000245846 00000 н
0000246102 00000 н
0000246248 00000 н
0000246334 00000 н
0000246482 00000 н
0000246685 00000 н
0000246798 00000 н
0000246925 00000 н
0000247003 00000 н
0000247132 00000 н
0000247210 00000 н
0000247290 00000 н
0000247449 00000 н
0000247544 00000 н
0000247785 00000 н
0000247923 00000 н
0000248046 00000 н
0000248148 00000 н
0000248387 00000 н
0000248495 00000 н
0000248608 00000 н
0000248732 00000 н
0000248814 00000 н
0000248979 00000 н
0000249074 00000 н
0000249224 00000 н
0000249312 00000 н
0000249446 00000 н
0000249525 00000 н
0000249657 00000 н
0000249735 00000 н
0000249810 00000 н
0000249881 00000 н
0000249969 00000 н
0000250136 00000 н
0000250217 00000 н
0000250403 00000 н
0000250516 00000 н
0000250620 00000 н
0000250747 00000 н
0000250859 00000 н
0000250978 00000 н
0000251059 00000 н
0000251197 00000 н
0000251281 00000 н
0000251429 00000 н
0000251517 00000 н
0000251601 00000 н
0000251846 00000 н
0000251956 00000 н
0000252113 00000 н
0000252254 00000 н
0000252355 00000 н
0000252444 00000 н
0000252508 00000 н
0000252667 00000 н
0000252760 00000 н
0000252861 00000 н
0000252923 00000 н
0000253072 00000 н
0000253160 00000 н
0000253353 00000 н
0000253462 00000 н
0000253552 00000 н
0000253632 00000 н
0000253756 00000 н
0000253830 00000 н
0000254055 00000 н
0000254176 00000 н
0000254285 00000 н
0000254563 00000 н
0000254718 00000 н
0000254807 00000 н
0000254975 00000 н
0000255092 00000 н
0000255170 00000 н
0000255310 00000 н
0000255413 00000 н
0000255485 00000 н
0000255563 00000 н
0000255643 00000 н
0000255802 00000 н
0000255939 00000 н
0000256021 00000 н
0000256101 00000 н
0000256242 00000 н
0000256318 00000 н
0000256461 00000 н
0000256580 00000 н
0000256653 00000 н
0000256857 00000 н
0000257005 00000 н
0000257101 00000 н
0000257247 00000 н
0000257394 00000 н
0000257462 00000 н
0000257506 00000 н
0000257606 00000 н
0000257698 00000 н
0000257800 00000 н
0000257871 00000 н
0000258151 00000 н
0000258309 00000 н
0000258486 00000 н
0000258564 00000 н
0000258677 00000 н
0000258748 00000 н
0000258868 00000 н
0000258940 00000 н
0000259059 00000 н
0000259132 00000 н
0000259204 00000 н
0000259349 00000 н
0000259436 00000 н
0000259579 00000 н
0000259671 00000 н
0000259896 00000 н
0000260153 00000 н
0000260259 00000 н
0000260428 00000 н
0000260528 00000 н
0000260733 00000 н
0000260981 00000 н
0000261077 00000 н
0000261229 00000 н
0000261383 00000 н
0000261478 00000 н
0000261542 00000 н
0000261700 00000 н
0000261792 00000 н
0000261916 00000 н
0000261990 00000 н
0000262056 00000 н
0000262129 00000 н
0000262339 00000 н
0000262431 00000 н
0000262559 00000 н
0000262643 00000 н
0000262789 00000 н
0000262874 00000 н
0000263088 00000 н
0000263204 00000 н
0000263307 00000 н
0000263414 00000 н
0000263487 00000 н
0000263677 00000 н
0000263813 00000 н
0000263902 00000 н
0000264088 00000 н
0000264191 00000 н
0000264280 00000 н
0000264380 00000 н
0000264515 00000 н
0000264594 00000 н
0000264733 00000 н
0000264816 00000 н
0000264980 00000 н
0000265076 00000 н
0000265284 00000 н
0000265409 00000 н
0000265510 00000 н
0000265670 00000 н
0000265838 00000 н
0000265945 00000 н
0000266024 00000 н
0000266166 00000 н
0000266319 00000 н
0000266539 00000 н
0000266610 00000 н
0000266770 00000 н
0000266862 00000 н
0000267000 00000 н
0000267091 00000 н
0000267165 00000 н
0000267265 00000 н
0000267402 00000 н
0000267483 00000 н
0000267665 00000 н
0000267769 00000 н
0000267852 00000 н
0000267921 00000 н
0000268046 00000 н
0000268120 00000 н
0000268191 00000 н
0000268302 00000 н
0000268377 00000 н
0000268510 00000 н
0000268595 00000 н
0000268700 00000 н
0000268765 00000 н
0000268910 00000 н
0000268995 00000 н
0000269071 00000 н
0000269148 00000 н
0000269290 00000 н
0000269399 00000 н
0000269555 00000 н
0000269656 00000 н
0000269737 00000 н
0000269855 00000 н
0000269933 00000 н
0000270004 00000 н
0000270095 00000 н
0000270285 00000 н
0000270373 00000 н
0000270555 00000 н
0000270656 00000 н
0000270748 00000 н
0000270869 00000 н
0000271074 00000 н
0000271348 00000 н
0000271445 00000 н
0000271631 00000 н
0000271766 00000 н
0000271843 00000 н
0000272020 00000 н
0000272121 00000 н
0000272298 00000 н
0000272420 00000 н
0000272502 00000 н
0000272658 00000 н
0000272795 00000 н
0000272875 00000 н
0000272975 00000 н
0000273129 00000 н
0000273216 00000 н
0000273351 00000 н
0000273439 00000 н
0000273519 00000 н
0000273633 00000 н
0000273771 00000 н
0000273876 00000 н
0000273939 00000 н
0000274092 00000 н
0000274243 00000 н
0000274329 00000 н
0000274491 00000 н
0000274584 00000 н
0000274740 00000 н
0000274830 00000 н
0000274926 00000 н
0000275116 00000 н
0000275230 00000 н
0000275303 00000 н
0000275463 00000 н
0000275543 00000 н
0000275665 00000 н
0000275739 00000 н
0000275872 00000 н
0000275951 00000 н
0000276021 00000 н
0000276178 00000 н
0000276274 00000 н
0000276444 00000 н
0000276544 00000 н
0000276646 00000 н
0000276691 00000 н
0000276736 00000 н
0000276781 00000 н
0000276826 00000 н
0000276892 00000 н
0000011227 00000 н
трейлер
]>>
startxref
0
%%EOF
2302 0 объект > поток
Ϸh=pWm Mg̓84wF4!·6CImҐ+xp:YЫ@/&|v0
СК
.

То же касается и случаев, когда в одних местах росы больше, чем в других.
В этом случае от возведения долговременного строения, для которого нужно вырыть котлован или траншею, лучше отказаться. Котлован будет заливать даже при регулярной откачке воды, а установить фундамент в таких условиях практически невозможно. Не поможет и гидроизоляция – она даст лишь кратковременный эффект.
Вариант не подходит, если водой постоянно вымываются частицы грунта, из-за чего он проседает;
Однако вода в пробуренной
А солодка голая, чий

Мероприятия по дренажу являются в этом случае обязательным. Так же придется поступать на песчаных либо смешанных грунтах;

Бетон – тяжелая смесь, и если конструкцию не укрепить брусками и распорками, возможна ее деформация;



по декабрь 1956 г.
) 





Отчет о проделанной работе, 1955-59
) 12 больших картографических пластин
Таблица 1: Карта с указанием гидрометрических станций и областей минимальной частоты
— сентябрь 1961 г.
)
Чтобы просмотреть список подрядчиков по сантехническим работам, которые в настоящее время имеют лицензию в деревне, нажмите здесь.



Сертификация продуктов, удаляющих марганец до 0,5 мг/л, доступна для катионного обмена, дистилляции, фильтрации и обратного осмоса.