Как вытащить обсадную трубу из скважины?
Обсадные трубы применяют, чтобы избежать обрушение скважины. Конструкция, по сути, представляет собой стенки глубокого узкого колодца. Вовнутрь обсадной устанавливают эксплуатационную трубу. В ряде случаев возникает необходимость демонтажа конструкции. Мероприятие сопряжено с большими затратами труда и финансов.
Альтернативы
Вытащить обсадную трубу из скважины – процедура далеко не простая, а результат усилий может не оправдать ожиданий. Прежде всего, стоит подумать, нельзя ли обойтись без демонтажа. Принять верное решение помогут специалисты.
В ряде случаев восстановить работоспособность скважины можно другими методами. Например, вовнутрь поврежденной конструкции устанавливают трубу меньшего диаметра. Иногда достаточно прочистить скважину.
Вероятнее всего, не получится вытащить обсадную трубу и повторно ее использовать. Демонтаж часто предполагает постепенное разрушение конструкции. Вытянуть из земли целиком можно стальные элементы, если они не утратили прочности под влиянием коррозии.
Асбестоцементные трубы – довольно хрупкие, и достать их из скважины без повреждений практически невозможно.
Нужно оценить, насколько целесообразным является ремонт. Возможно, дешевле будет законсервировать скважину и пробурить новую.
Как вытащить обсадную трубу из скважины: методики
Если не удается обойтись без радикальных мер, выбирают оптимальный способ ведения работ. Нет единого алгоритма, наиболее приемлемые методы зависят от обстоятельств:
- с какой целью нужно достать трубу;
- каковы глубина и диаметр колодца;
- материал труб;
- длительность и условия эксплуатации.
При устройстве новой скважины могут быть допущены ошибки. Например, фильтр прошел ниже водоносного слоя. Не удается получить воду в нужном объеме. Требуется вытащить обсадную трубу из скважины на определенную высоту, чтобы фильтр оказался на нужной отметке. Принципиальным является сохранение целостности конструкции. Грунт еще не осел и не обхватил колонну.
В этом случае можно пустить в трубу воду под напором и одновременно аккуратно вытягивать ее лебедкой.
Другая ситуация, если скважина существует уже давно. Главная проблема – стронуть трубу с места. По возможности, конструкцию зацепляют за низ, пропустив сквозь трубу на дно колодца специальное устройство – внутреннюю труболовку. Предварительно конструкцию «смазывают». Трубу окапывают вокруг и наполняют яму водой. На трубе закрепляют вибратор. Можно использовать электродвигатель с грузиком на шкиве. Вибратор включают ориентировочно на час, чтобы нарушилось сцепление трубы с грунтом.
В качестве подъемных механизмов используют краны, домкраты, лебедки. Если нельзя вытащить трубу целиком, ее постепенно разрушают. Усилие прикладывают по возможности вдоль оси. Для этого используют, например, специальные хомуты.
Читайте также:
Все статьи
Застрял насос в скважине Москва и Московская область как достать, вытащить, что делать?
Причины застревания:
- Заилился насос в скважине (из за заиливания, из за установки ниже чем положено)
- При доставании закусил провод или трос
- Попадание постороннего предмета в скважину
- Прогиб деформация обсадной трубы
- Не правильный монтаж насоса.
Насос висит криво - Диаметр насоса подобран в притирку к диаметру обсадной трубы.
Как достать насос из скважины?
- Заилился насос в скважине (из-за заиливания скважины, из-за установки ниже чем положено). Как это определить? Признаки такой ситуации это при попытки его достать, (к примеру, когда решили заменить насос, перестал качать), он не сдвигается с места изначально. Чаще всего хозяин скважины пытается тянуть сильнее, желая вытащить его, в результате обрывает шланг или трос, или электрический кабель. А бывает, не сдаваясь по очереди все отрывает… О том, как вытащить насос из скважины если оборвался провод, напишем потом, а пока, как нужно проводить ремонт в случае если застрял насос в скважине, а провод с тросом целые. Для этого вам понадобится:
- Видеодиагностика — видеокамера водонепроницаемая с кабелем длиной не меньше глубины скважины, в комплекте с экраном.
- Аппарат высокого давления воды с шлангом высокого давления (опрессованный форсункой с прямой и обратными струями) длина которого не меньше глубины скважины
- Бочка или емкость для воды наполненная на 200 – 300 литров.

Для начала опускаем видеокамеру и осматривает обсадную трубу скважины, после того как удостоверились что засосало насос в скважине, и он действительно заилился, опускаем шланг высокого давления в ил (песок, глину) включаем аппарат высокого давления и начинаем размывать заиленный насос. Поступательными движениями поднимаем шланг высокого давления на 20 см и опускаем, так повторяем чтобы форсунка размывала спрессованный песок и глину. При этом держим в натяжку шланг насоса, трос и электрический кабель насоса. Так, когда прессованный ил размоется насос пойдет вверх и его можно будет вытащить.
- При доставании закусил провод или трос. Из-за чего это происходит? Это очень распространенная ситуация из-за ошибок при поднятии насоса из скважины. Когда насос поднимают нужно тянуть за шланг или трубу, при этом подтягивать за трос и электрический кабель, именно это действие убережет от застревания насоса в скважине. Так как если не подтягивать трос и кабель он провиснет и попадет между насосом и обсадной трубой что приведет к заклиниванию насоса в скважине.

Что делать если все-таки насос заклинил в скважине из-за застрявшего провода между насосом и обсадной трубой? Для этого понадобится:
- Видеодиагностика
- Лом с просверленным отверстием
- Трос
- Карабин
- Стяжки для троса
Можно конечно обойтись без видеодиагностики, ну тогда есть риск что застрянет еще лом или он просто не поможет так как причина может быть не в застрявшем проводе/тросе. Итак, осматриваем обсадную трубу, убедившись, что причина заклинившего насоса это застрявший провод/трос и ничего не мешает лому опуститься до насоса, опускаем в скважину непосредственно лом. Для этого нужно сделать отверстие на нем с помощью сверла на 10мм или с помощью сварочного аппарата под максимальным током. Делать отверстие нужно на плоской стороне лома. Далее в отверстие нужно продеть карабин, а к нему уже затянуть трос 3-5 мм. И так опускаем лом на застрявший насос в скважине, когда он коснется его, нужно приподнять лом на метр вверх и отпустить.
Лом ударит в насос и должен сместить его в низ, при этом освободиться застрявший электрический кабель/трос насоса и освободит его. После этого достаем лом из скважины и можно доставать непосредственно освободившийся насос. Только в этот раз по правилам, описанным выше.
- Попадание постороннего предмета в скважину. Обычно посторонние предметы попадают в скважину если не установлен оголовок. Так же если он установлен не герметично или эти предметы кто то уронил туда не специально или специально :). Как понять, что помимо насоса в обсадной трубе и как достать насос из скважины если он застрял из-за этих предметов. Для этого нам понадобится:
- Видеодиагностика
- Трос
- «кошка»
- «Елочка»
- Штанги металлические
- Сварочный аппарат
- Магнит
- «Паук»
- «Расческа»
- Долото для дробления камней
- Лебедка
Конечно доставание посторонних предметов из скважины своими руками, это процесс опасный (можно значительно усугубить ситуацию), долгий, трудозатратный, а иногда невозможный.
Поэтому предлагаем обратиться к нашим специалистам которые работают более 20 лет и знают все про застрявшие насосы в скважине в Москве и Московской области, они знают наизуть каждый район подмосковья, где какие проблемы сос скважинами возникали. Так как в разных регионах разная почва и проблемы со скважинами разные. Ну а если вы хотите рискнуть самостоятельно, читайте далее!
Для начала нужно понять, что внутри скважины лишнее. Для это нужна видео камера, на проводе которая способна освещать себе путь в темноте и быть водонепроницаемой. Только после того как увидим, что является причиной застрявшего насоса можно начинать изготовление инструмента для поднятия застрявшего насоса из скважины. Такие названия инструментов как «кошка», «елочка», «паук», «расческа» определяют форму и вид этого инструмента. Эти же инструменты обычно используются либо с применением троса или соединяются с металлической трубой (штангой). Что представляет собой штанга для доставания застрявшего насоса и посторонних предметов из скважины? Это труба размером 1 – 2 метра, диаметр не менее ½ на одной стороне наружная резьба на другой внутренняя.
Таким образом на резьбу садится инструмент (к примеру «кошка») и с помощью дополнительных штанг опускаем жестко зафиксированный инструмент к месту инородного предмета в скважине. Чтобы не держать вручную штанги на первую штангу нужно приварить гайку или кольцо к которой привязываем металлический трос. Этот трос соединяем с лебедкой, которая в свою очередь поднимает или опускает все штанги с инструментом. Штанги позволяют эффективно манипулировать инструментом поскольку вся конструкция жестка в отличии инструмента, повисшего на трос.
Далее вам понадобится смекалка, много терпения, спокойствие, постоянно свежий взгляд на ситуацию. Если инородным предметом является веревка, трос, провод или что-то в этом роде, скорее всего вам понадобится один из следующих инструментов: «кошка», «елочка», «паук», «расческа». Если инородны предмет из металла иногда уместен будет магнит.
- Прогиб, деформация обсадной трубы. Такая причина застревания насоса в скважине возникает, когда были допущены ошибки во время бурения или не было зацементировано затрубное пространство скважины (либо это было сделано неправильно).
Так же плывуны являются причиной сдвига обсадной колонны. В такой ситуации нужно сдвинуть насос ниже с помощью методов, описанных ранее. Далее можно попробовать провернуть насос и попытаться пройти этот прогиб. Деформация обсадной трубы — это довольно сложные условия для успешного доставания насоса. И в отличии от выше перечисленных причин, например, застрявшего электрического кабеля обсадную колону выровнять так просто не получится и доставать насос придётся в таких условиях. Тянуть бездумно со свей силы или с помощью лебедки не стоит так как можно легко оборвать трос, шланг/трубу, электрический кабель. А в таком случае уже достать застрявший насос из скважины будет крайне сложно.
Для того чтобы окончательно не застрял насос в скважине лучше обратиться к специалистам которые достают упавшие насосы в Москве и Московской области, у которых есть видеокамера и вся необходимая техника для безболезненного доставания застрявшего насоса из скважины.
- Не правильный монтаж насоса.
Насос висит криво. Такая причина застревания насоса в скважине возникает если в установке насоса были допущены ошибки. У насоса имеется 2 петли для продевания в них троса. Если использовать одну петлю, в таком случае насос будет висеть криво и из-за этого, краем своего корпуса может зацепляться за неровности обсадной трубы, в результате чего насос застревает в скважине. Как вы, наверное, уже поняли, чтобы этого не происходило нужно правильно продевать трос в обе петли насоса, тогда он будет висеть ровно вертикально и не будет застревать.
Что делать? Можно попробовать манипулировать тянуть с периодичностью за трос, потом за шланг, есть шанс что в нужный момент он выровняется и проскочит место застревания. Если этот метод не сработал нужно опустить видеокамеру в скважину до места застревания насоса определить в какую сторону насос наклонен, далее с помощью наращённых металлических штанг или навареной друг с другом арматурой надавить на нужную часть насоса, он выровняется и пройдет место застревания в скважине.
Как изготовить штанги для манипуляций с застрявшим насосом в скважине? Нам понадобится:
- Трубы металлические с резьбой диаметр 20, длина метр – два
- Муфты с внутренней резьбой количество равное количеству металлических труб
- Сварочный аппарат
- Гайка
- Карабин
- Трос
- Стяжки для троса 4 шт
- Лебедка
Берем трубы, накручиваем на одну из сторон муфты, обвариваем, чтобы во время манипуляций наша конструкция не развалилась и не упала в скважину. На первую штангу навариваем гайку, к которой далее затягивает трос с помощью стяжек. Трос нужен в случае если насос застрял на большой глубине и штанги просто держать в руках будет тяжело. Соответственно трос привязан к барабану лебедки и в этом случае манипуляции будут проводится с ее помощью.
- Диаметр насоса подобран в притирку к диаметру обсадной трубы. Когда засос застревает в скважине по такой причине, в этом случае здесь виноваты те, кто бурил скважину и не предусмотрел нужный диаметр обсадной трубы и те, кто установил в скважину насос по диаметру, приближенному к диаметру обсадной колонны.

Что делать? При такой ситуации нужно проводить манипуляции схожие с манипуляциями, когда есть прогиб, сдвиг, или деформация обсадной трубы. В этом случае может понадобится лом с привязанным за отверстие в нем к тросу. С его помощью ударив по насосу последний можно сдвинуть вниз, освободив его от клина. Далее аккуратно проворачивая насос против своей оси потихоньку пытаемся достать его. Так же в такой ситуации лучше обратится к специалистам, кто этим занимается ежедневно. На самом деле на рынке услуг по доставанию застрявших насосов из скважины в Москве и Московской области мало мастеров кто может аккуратно без заезда на участок тяжелой техникой вытащить заклинивший или упавши насос из скважины. Среди наших специалистов таких экспертов 5 человек, которые ежедневно показывают чудо мастерства нашим клиентам.
Когда насос по диаметру в притирку с диаметром обсадной трубы крайне важно следить чтобы электрический кабель был пристегнут через каждый метр в водонапорной трубе или шланге.
Это важно делать для того чтобы кабель не провисал и не стал причиной застревания насоса в скважине. Так же важно при доставании насоса из скважины держать трос в постоянной натяжке чтобы его провисание тоже на стало причиной застрявшего насоса в скважине.
Какой насос для скважины выбрать по диаметру чтобы он не застревал
После того как насос будет извлечен из скважины, его стоит заменить на более узкий чтобы в дальнейшем избежать застревания насоса,
безупречным кандидатом на замену старого будет насос марки Грундфос (grundfos). Немецкое качество гарантирует работу насоса десятилетиями, а компактный узкий размер позволяет свободно находится в обсадной колоне и избежать застревания в скважине. Мы знаем где приобрести насос марки Грундфос по выгодной цене и поможем в дальнейшем избежать проблем с застреванием насоса в скважине.
Полезный совет:
Исходя из статистики и опыта лучше эту работу доверить мастерам, которые занимаются этим в Москве и Московской области каждый день, у которых есть нужный инструмент (иногда довольно дорогостоящий), и они знают, что конкретно нужно в определенной ситуации и как правильно пользоваться тем или иным инструментом для быстрого доставания застрявшего насоса из скважины.
Скважины: теория и практика. Типичные ошибки.Продолжение.
Здравствуйте уважаемые читатели «Сан Самыча». В предыдущей части статьи мы разобрали, какие могут быть скважины и какие обязательные элементы должны быть у любых источников подземной воды. Также я рассказал историю про своего приятеля, который, доверившись мастерству бурильщиков, в результате получил скважину, по сути — абиссинский колодец, мягко сказать, очень неудобную в эксплуатации.
В продолжение статьи мы разберем другие типичные ошибки при обустройстве скважины и их последствия.
Ошибка №2. Давайте его поднимем.
Позвонила знакомая с жалобой, что очень часто приходится менять картриджи фильтров тонкой очистки. У неё скважина глубиной 27 метров, насосная станция на основе погружного насоса.
Первый вопрос, который я задал ей по приезде: ставился ли на скважине фильтр? Ответ меня не удивил: «А я не помню.
А он должен стоять? А давайте поднимем его и почистим».
Вообще-то, скважинный фильтр, сделанный по всем правилам, это еще то сооружение. По-моему, его невозможно не запомнить. Это перфорированная (с дырками) труба, обмотанная проволокой или сеткой с мелкой ячейкой, длиной иногда больше двух метров. Кроме того, перед посадкой обсадной трубы или в процессе её опускания, на дно скважины бурильщики должны высыпать несколько ведер щебенки.
Фильтры, как правило, ставятся на все время эксплуатации скважины, и почистить его – задача не менее сложная, чем пробурить новую скважину. Пытаются чистить, правда, заливая скважину водой под напором, накачивая её компрессором и даже взрывая внутри небольшие заряды. На некоторое время, возможно, хватает.
Подняв насос, я прочистил встроенные в нем грубые фильтры и немного укоротил напорную трубу, чтобы насос занял положение в скважине на метр выше прежнего. Увы, не зная, стоит ли в скважине фильтр, я сделать и посоветовать больше ничего не мог.
Разве что сыпануть на дно скважины ведро-другое мелкой щебенки.
Я надеюсь, Вы поняли, что желательно проконтролировать тех, кто Вам делает скважину, в плане установки скважинного фильтра, чтобы они ни в коем случае на этом не экономили. Я нередко встречал скважины вообще без фильтров. Последствия, я Вам скажу, плачевные, как для насосов, так и для их хозяев.
Ошибка №3. Почему весной вода мутная?
Как то по весне заехали к подруге жены, живущей в своем доме. И в разговоре она заметила, что у неё каждую весну вода из скважины становится мутной и непригодной для питья. Я, подойдя к скважине, скрытой на дне небольшого кессона, сделанного из большой выварки, подковырнул землю носком ботинка.
Все стало понятно. Ни о каком глиняном замке здесь, похоже, даже не слышали. Мало того, импровизированный кессон ни на сантиметр не возвышался над окружающей почвой и был прикрыт обыкновенной для этой большой кастрюли крышкой. А вокруг еще лежали остатки снега.
Открыв крышку, я увидел остатки старого матраца, прикрывающего устье скважины и выходящую из неё трубу. И все.
Вода просачивалась в сам кессон. Вода по стенкам выварки проходила в землю. И также легко по стенкам обсадной трубы она попадала в воду скважины, смешиваясь с ней и неся с собой поверхностную муть.
Объяснять что-либо этой женщине было бесполезно. Тем более, что она уже привыкла каждую весну бегать за питьевой водой к соседям. Видимо, так проще и легче.
Другие ошибки. И чего они только не делают…
Признаться честно, очень редко встречал обустроенные по всем правилам скважины. И совершенно непонятно кто именно пытался сэкономить на этом. То ли мастера по добыче воды, уменьшая себестоимость скважины и увеличивая свой навар, то ли сами хозяева, уменьшая объем оплачиваемых работ и увеличивая по незнанию собственную головную боль.
Неполная, но оплаченная обсадка трубой скважины приводит к обвалу основания скважины и уменьшению полезного объема и высоты водяного столба, а может привести и к выходу из строя насоса или насосной станции.
Плохо сделанные сварные швы между трубами обсадки могут пропускать грунтовые воды и уже оставили на дне скважин не один десяток погружных насосов, которые никогда не увидят своих хозяев.
В принципе, можно продолжить в том же духе, но стоит ли?! Мне кажется, и так понятно, что, несмотря на кажущуюся простоту, скважина или колодец не совсем простое сооружение. И, как источник водоснабжения Вашего дома, иногда единственный, требует к себе, особенно при обустройстве, повышенного внимания.
Как вытащить шланг из скважины? Советы
У вас упал шланг в скважину и у вас не получается его вытащить из нее? Конечно сразу возникают мысли“ Как вытащить шланг из скважины”? К сожалению данная проблема является довольно распространенной и серьезной. Чтобы справится с этим ненастьем важно соблюдать технику и аккуратность, иначе можно значительно навредить и шланг и даже скважину.
Прежде, чем начать действовать самостоятельно, важно получить консультацию у специалиста, иначе последствия могут быть печальны.
Специалисты знают точно, как поднять шланг и не повредить ваше оборудование.
Когда пытаетесь достать из скважины шланг важно помнить, что нельзя прилагать больших усилий, иначе вы легко порвете шланг. Никаких домкратов, лома, палок и прочего не предназначенных для этого устройств самостоятельно применять нельзя. Если возникла такая проблема, то в первую очередь важно не навредить, поскольку перейти границу очень легко. Даже, если вы проконсультировались как вытащить шланг из скважины, у знакомого, который уже сталкивался с такой проблемой и советует применить различные самодельные устройства. Дело в том, что в зависимости от внешних причин, методы извлечения шланга так же разнятся.
Квалифицированный специалист всегда знает о том, что без предварительной диагностики и без не необходимого оборудования приступать к такой работе нельзя, сначала важно разобраться почему не удается поднять шланг.
Существует несколько основных случаев, когда необходимо достать шланг из скважины:
- — При проведении ремонта;
- — При замене насоса.

Если вы задались вопросом, как вытащить шланг из скважины, то скорее всего вы уже столкнулись с одной из проблем, по которым не получается извлечь шланг из шахты.
Чаще всего шланг обрывается во время подъема насоса и они вместе падают вниз. Шланг возможно вернуть только используя специальные крюки. Многие владельцы автономных скважин не задумываются о том, как вытащить шланг из скважины аккуратно, а зря. Зачастую именно из-за невнимательности и неаккуратности происходит повреждение шланга при извлечении его из проблемного участка.
Есть пять распространенных ситуаций из-за которых не получается вытащить шланг из скважины:
- — Трос сильно провисает;
- — Сильное заиливание скважины имеющая песчаное дно;
- — Известняковые отложения;
- — Помеха со стороны посторонних предметов в скважине;
- — Обрыв троса.
С первой причиной, провисанием троса справиться довольно просто.
В этой ситуации достаточно лишь предотвратить проблемы. Для предотвращения провисания нужно подвязывать трос при спуске в скважину, Подвязка осуществляется каждые два-три метра.
Вторая причина связанная с заиливанием связана с нерегулярной работой водяной скважины. В таком случае шланг может застрять в иле.
Третья причина это отложения известняка. Известняк может нарастать, как на стенках скважины, так и на насосе и на шланге. Наросты бывает доходят до пяти сантиметров и тем самым мешают достать шланг из скважины и тем самым становится не понятно как вытащить шланг из скважины. При такой проблеме можно промыть скважину под сильным напором воды. Если это не помогло, то применяются специальные химические средства или хотя бы народные средства против накипи.
Четвертая причина является довольно сложной при решении сложившейся проблемы. Но к счастью легко предотвратима. Зачастую в обсадную трубу могут попасть различные детали или даже мусор, но чтобы этого избежать достаточно провести тщательную подготовку к подъему оборудования, не держите посторонние предметы рядом с проведением работ.
Если же вы не уследили и в шахту попал инородный предмет, то безопаснее всего вызвать бригаду специалистов, они знают точно, как вытащить шланг из скважины.
Но самый тяжелый случай развития событий, это пятая причина, если обрывается подъемный трос и насос вместе со шлангом падает на дно скважины. В таком случае медлить нельзя, необходимо взять в руки прут из металла нужной длины, который дотянется до агрегата. На прут закрепляется специально предназначенная для таких ситуаций насадка в форме штопора. На другой конец прикрепляется штанга из металла, которая дает возможность вращать конструкцию. Затем прут опускается с насадкой в шахту скважины. С применение металлической штанги пытаемся вкрутить штопор в корпус насоса со шлангом. Если это действие привело к успеху, то поднимаем насос с шлангом и тросом.
Такой способ достаточно сложно реализовать без профессиональной подготовки и подходит для скважин имеющих не большую глубину. С глубокими скважинами данный метод не эффективен.
К сожаление даже, если вы смогли достать насос со шлангом из скважины таким способом, то он больше не будет в рабочем состоянии и подлежит полной замене. Возникает логичный вопрос “Как вытащить шланг из скважины вместе с насосом так, чтобы не повредить оборудование?”. На этот вопрос может ответить специалист только после осмотра скважины. Бывают случаи, когда невозможно достать насос со шлангом без повреждений и в таких ситуациях есть два выхода:
- — Бурение новой скважины и произвести консервацию старой скважины;
- — Извлечь насос со шлангом по частям, предварительно раздробив его специальной бурильной машиной.
Как вытащить шланг из скважины в таком тяжелом случае решать только хозяину. Всё зависит от скважины. Иногда легче пробурить новую скважину, чем решать проблемы старой.
Рекомендации для предотвращения падения и застревания шланга:
- — Всегда используйте качественный и крепкий трос;
- — Используйте цельный шланг, не берите шланг состоящий из нескольких частей;
- — Выбирайте насос исходя из габаритов обсадной трубы, он должен быть меньше на две трети;
- — Устанавливайте оголовок, он защитит от попадания инородных предметов в скважину.

Надеемся с вами не случится подобных неприятностей и не придется задаваться вопросом о том, как поднять шланг из шахты скважины. Но если такая неприятная ситуация все таки возникла, то лучшее решение будет обратиться к специалистам своего дела.
С вопросом: «Как достать оборвавшийся шланг из скважины?» — в нашу компанию обращается множество клиентов. К сожалению, но справиться с этой задачей самостоятельно, не повредив насосное оборудование, практически невозможно. Многие люди, решив испробовать свои силы, предпринимают несколько попыток, однако добиться положительного результата им не удается. Тогда, так или иначе, приходится прибегнуть к вызову специализированной компании, которая и поможет вам извлечь из скважины оборвавшийся шланг и насосное оборудование.
Причиной обрывания шланга может служить множество факторов:
- Провисание троса;
- Заиливание скважины;
- Отсутствие технического ухода;
- Износ шланга;
- Несоответствие характеристик насоса мощности шланга;
- Попадание посторонних предметов.

У каждой проблемы есть свой способ решения. Наша компания разработала систему подходов к выполнению работы в зависимости от причины возникновения проблемы. Так при провисании троса, мы используем специальные устройства, которые позволяют медленно и аккуратно извлечь оборвавшийся шланг, никак не задев насосное устройство.
Заиливание скважины — довольно распространенная причина. По статистике она и является одной из самых главных, приводящих к обрыву шланга. В случае заиливание шланг и насос оказываются в песчаной смеси, из которой их тяжело извлечь. Для того чтобы уменьшить объем давления песка на доставаемые элементы, следует избавиться от иловых отложений. Сделать это можно с помощью их предварительной размывки пожарным шлангом. После того, как специалисты избавились от всех загрязнений, используя специальную технику, мы постепенно извлекаем оборвавшийся шланг.
Попадание посторонних предметов считается самой опасной, но, в свою очередь, и самой легко решаемой проблемой.
Очень часто в обсадную трубу попадают различный мусор: бутылки, крепежи, обрезки, камни, которые в ходе падения наносят вред шлангу и обрывают его. При извлечении оборвавшегося шланга из скважины для начала стоит достать посторонние предметы. Сделать это можно как самостоятельно, так и с помощью профессионалов. Затем стоит преступить к процедуре изъятия шланга, при производстве которой без помощи специалистов не обойтись.
Этапы извлечения шланга
Еще одним вариантом, как достать оборвавшийся шланг из скважины на воду, может послужить использование электрокабеля. В данном случае процедура извлечения шланга имеет следующий алгоритм:
- Необходимо взять прут, изготовленный из металла, длинной, соответствующей глубине скважины.
- На прут следует прикрепить специальную насадку в виде штопора. Стоит отметить, что насадка должна быть меньше диаметра трубы, т.к. должна без препятствий проходить в скважину.
- Следует опустить прут в скважину и постепенно вкрутить «штопор» в оборвавшийся шланг.

- Медленными движениями, аккуратно вращая прут и поднимая вверх, извлекаем оборвавшийся шланг.
Этот метод изъятия шланга можно попробовать сделать своими руками. Но поиск специального «штопора» займет время и оставит ваш дом без воды на некоторое время. Это принесет не удобства как вам, так и всей вашей семье. Чтобы избежать данной ситуации и неприятных эмоций, мы рекомендуем обратиться в нашу компанию.
Окуратно с самоделкой
Так же многие владельцы частных домов пытаются извлечь оборвавшийся шланг с помощью крюков. У многих это получается, однако в процессе того, когда они пытались поймать шланг в скважине, был нанесен вред насосному оборудованию. Подручное устройство насквозь пробивает насос. Это приводит к тому, что без помощи специализированной компании не обойтись.
О нашей компании
Наша компания предоставляет огромный спектр услуг:
- Замена насосного оборудования в скважине;
- Чистка скважины;
- Ремонт скважины;
- Проведение технического обслуживания скважины;
- Профилактические работы.
Наша компания занимается данными видами деятельности в течение нескольких лет.Специалисты нашей компании имеют высокую квалификацию и богатый опыт, что позволяет им выполнять работу на высшем уровне. За период нахождения на отечественном рынке мы смогли выработать четкую тактику работы и проверить ее на практике. Сотрудники нашей компании постоянно получают новые знания в сфере обслуживания скважин и усовершенствуют старые навыки. Так же стоит отметить, что в настоящее время фирма имеет в наличии большой арсенал современной техники, необходимой для проведения эффективной работы.
Видеодиагностика скважины
Перед началом работ мы проводим диагностику скважины и даем рекомендации по ее правильной эксплуатации!
Задача — как достать оборвавшийся шланг из скважины – довольно распространена. Как известно, легче предотвратить появление проблемы, чем решать пути и методы ее решения. Специалисты нашей компании разработали список рекомендаций, которые позволят увеличить срок эксплуатации скважины:
- Выбирайте насосное оборудование, габариты которого будут соответствовать мощности шланга;
- Проводите своевременно техническое обслуживание;
- Не жалейте средств на профилактические работы в скважине и вызов специализированной компании;
- Не используйте шланг из нескольких кусков, так как он с легкостью может порваться на одном из стыков.

Ремонт и профилактика вовремя
Придерживаясь довольно простых правил можно значительно продлить срок эксплуатации скважины. Стоит уточнить, что жертвуя обслуживанием одного элемента системы водоснабжения, вы приносите вред другому.
Наша компания является одной из ведущих в Московской области. За нашими плечами сотни качественно выполненных работ и довольных заказчиков. Мы сформировали постоянную базу клиентов, которые обращаются к нам за услугами технического обслуживания. Мы разработали уникальную стоимость наших услуг, которой нет ни у одной компании, работающей в этой сфере. Так же наши менеджеры постоянно придумывают различные бонусы и проводят бесплатные консультации о причинах возникновения проблем в скважине и путях их решения.
Как вытащить обсадную трубу из скважины
Как вытащить обсадную трубу из скважины
Бурение скважины для получения стабильного источника воды является сложным и трудоемким делом.
Особенно большие проблемы возникают, когда появляется необходимость демонтажа устройства. Наибольшую сложность в этом случае представляет обсадная труба, извлечение которой может потребоваться из-за ее повреждения. Решить проблему можно, обратившись за помощью к профессионалам, или самостоятельно, ознакомившись с имеющимися методами. Лучше проконсультироваться со специалистом, т.к. иногда проще и дешевле пробить новую скважину, чем восстанавливать старую.
Что такое обсадная труба
Водяная скважина представляет собой подобие обычного колодца. Ее характерными отличиями являются малый диаметр и большая глубина, которая может достигать десятков метров. Обсадная труба – это конструкция цилиндрической формы, монтаж которой осуществляется в пробуренную скважину. Она нужна для того, чтобы защитить стенки скважины от возможного обрушения грунта. Внутрь нее вставляется эксплуатационная труба, которая позволяет воде оставаться свежей и чистой.
Виды
Обсадные колонны в зависимости от материала изготовления бывают металлическими, пластиковыми и асбестоцементными. Выбор конкретного типа изделия зависит от глубины скважины, особенностей участка земли (т.е. почвы) и прочих показателей. Изделие обсадного типа должно обладать хорошей устойчивостью к давлению грунта, долговечностью и соответствовать санитарно-гигиеническим нормам, если колонна применяется для монтажа в питьевой источник воды. Подробное описание видов:
- Стальная обсадная труда. Самая прочная, долговечная, но и дорогая. Может выполнять свои функции даже при высоком давлении со стороны грунта. Имеет плохую сопротивляемость по отношению к негативному воздействию коррозии. Со временем добываемая из скважины вода может приобрести привкус ржавчины. Это повлечет за собой дополнительные расходы на обустройство фильтров. В зависимости от способа производства бывает бесшовной и сварной шовной. Для первого варианта характерны отличные показатели прочности и высокая цена.
Второе изделие стоит несколько дешевле, но является менее прочным. В некоторых случаях стальные обсадные трубы изготавливают с защитным покрытием или из улучшенных материалов, благодаря чему они защищены от ржавчины. Есть три основных типа таких изделий: оцинкованные, нержавеющие и эмалированные. - Асбоцементная обсадная труба. Более хрупкая по сравнению со стальной, но вполне качественная и стоит относительно недорого. Специалисты не рекомендуют применять ее в питьевых целях, т.к. она способна выделять в воду вредные примеси, например, канцерогены. Современная промышленность предлагает на выбор виды таких труб, выполненные из модифицированного материала. При покупке рекомендуется изучить санитарный сертификат асбестоцементных обсадных изделий, чтобы быть уверенным в том, что они подходят для бурения скважин на воду.
- Пластиковая обсадная труба. Относительно новое изделие, которое прочнее асбестоцементного и дешевле стального аналога. Обладает невысоким весом. В последние годы обсадные изделия из пластика приобрели большую популярность.
Для их изготовления применяют такие полимеры, как полиэтилен, полипропилен, поливинилхлорид. Пластиковая продукция отличается экологичностью, резистентностью к коррозии, дешевизной, простотой монтажа, отличной герметичностью и долговечностью (срок службы достигает 50-ти лет). Правда, пластиковые изделия имеют слабую сопротивляемость к механическим воздействиям и ограниченную глубину применения – не более 50-60 м.
Извлечение обсадных труб из скважины
Так как процесс демонтажа обсадного изделия является хлопотным, трудоемким и долгим делом, для начала ознакомьтесь с альтернативными способами решения задачи. Например, в поврежденное изделие вы можете забить эксплуатационную трубу меньшего диаметра. Так вы надежно закроете трещину и работа скважины будет восстановлена. Полезна консультация с опытными специалистами, т.к. иногда вполне хватает прочистки скважины. Может вам даже придется обустроить новый источник воды, т.
к. на это уйдет меньше средств, нежели на извлечение и замену обсадной конструкции.
Чтобы ответить на вопрос, как вытащить обсадную трубу из скважины, вам понадобится узнать несколько параметров. К ним относятся:
- материал изготовления обсадной колонны;
- вес конструкции;
- глубина, на которой находится ее основание;
- в каких условиях она эксплуатировалась;
- сколько месяцев или лет прошло с момента ее закладки, т.е. время ее эксплуатации.
Кроме того, чтобы вытащить обсадную конструкцию из скважины, у вас должна быть веская причина. Этот процесс состоит из подготовительных работ и выбора оптимального способа. Особенно важно правильно подготовиться к демонтажу скважинного ствола, убрав все поверхностное оборудование для водозабора. Определите вес обсадного изделия, т.к. это значение станет базовым при подборе подходящей лебедки (в случае ее использования) по тяговой силе. Если цифра окажется солидной, то единственным вариантом станет применение крана.
Рассчитать вес изделия можно так:
- Измерьте толщину стенок, диаметр трубы, глубину скважины.
- Откройте справочник и, обратив внимание на толщину и диаметр стенок изделия, найдите вес одного погонного метра.
- Умножьте найденную цифру на глубину скважины, и вы получите искомую массу изделия.
Причины
Со временем любая обсадная колонна вне зависимости от ее прочности и надежности приходит в негодность. Чтобы восстановить полноценное функционирование скважины, потребуется замена этой колонны. Причинами для демонтажа конструкции служат:
- разгерметизация ствола вследствие разъедания трубы коррозией или некачественное соединение звеньев колонны;
- повреждение обсадки;
- засорение или уменьшение просвета скважины;
- возникновение обрушения стенок шахты;
- крайняя изношенность эксплуатационной и обсадной колонны;
- в стволе безнадежно заклинил инструмент или оборудование, из-за чего нет возможности извлечь старый насос, чтобы установить новый;
- необходимость в изменении конструкции трубчатого колодца, например, нужно углубить его, преобразовать и т.
п.
Методы извлечения
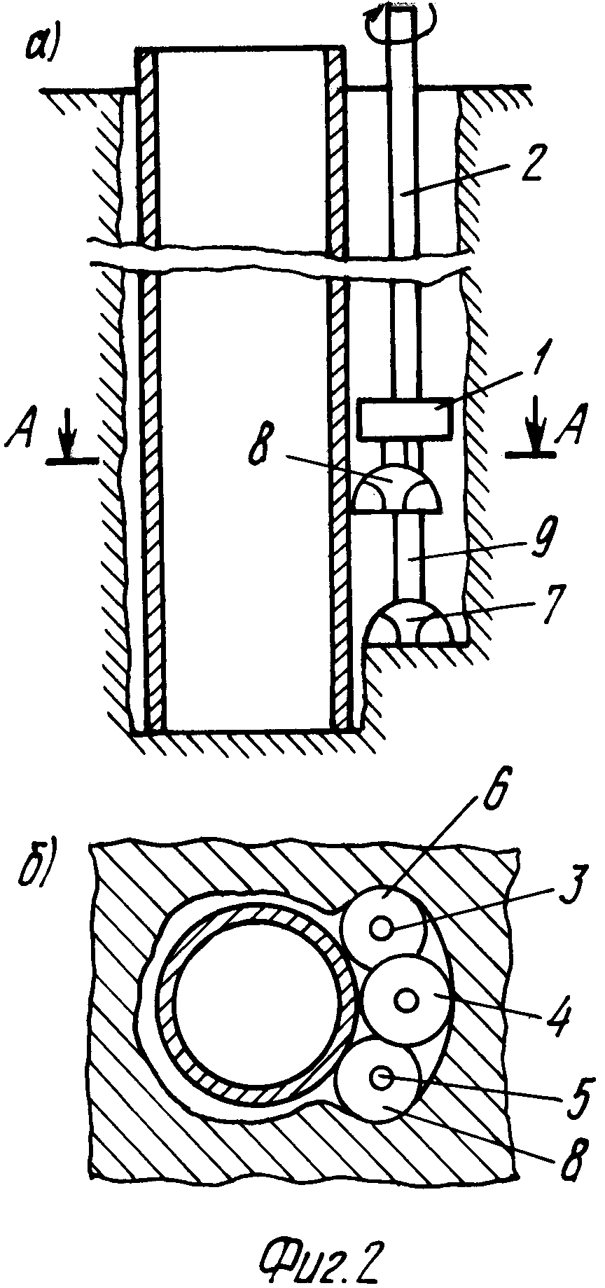
Решить задачу, связанную с тем, как вытащить обсадную трубу из скважины, можно при помощи ловильного инструмента – это могут быть нарезные труболовки или врезные колокола для наружного захвата. Достать старую обсадку из скважины можно целиком или по частям. При этом учтите, что есть вероятность разрыва пласта, сезонного нарушения циркуляции воды внутри колодца или смещения его вертикали – все это способно усложнить выемку обсадной трубы.
Ловильные труболовки (колокола) бывают несквозными и сквозными. Специфика последнего предполагает пропуск через основу инструмента извлекаемого поврежденного фрагмента. Затем с помощью наружного оборудования (резьбовых муфт) производится насечка для извлечения стояка. Внешние трубы могут вытаскиваться и с помощью метчиков. Труболовки могут быть:
- цанговыми;
- втулочными и плашковыми;
- комбинированными.
Некоторое распространение приобрел метод раскручивания.
Он основывается на комбинации нагрузок от усилия натяжения и вращательного момента. Обсадное изделие вначале раскручивают, после чего извлекают наружу. Этот метод под силу в основном специализированным организациям. Технология:
- В шахту опускают стальную бурильную трубу и ловильную коронку с левой резьбой. Ротор поворачивает трубы и примерно через 20 оборотов производится расхаживание обсадной трубы – одновременно с этим нагрузка увеличивается до максимума. Если ловимая труба не оборвется, то процесс расхаживания и раскручивания повторяют снова. Результат этих усилий – неполное вывинчивание соединений.
- Если даже после ряда циклов резьба не ослабла, то в ход пускают специальный инструмент. Путем его вращения трубы заставляют колебаться за счет передачи крутящего момента стояку и трения. После вращения оборудования на протяжении часа соединения должны расшататься. После этого захватывается верхний ободок трубы и отвинчивается ее фрагмент. Для извлечения этой части прилагают усилие натяжения.
Действия повторяют до тех пор, пока все изделие не будет разобрано и извлечено. - Если описанные действия ни к чему не привели, то в дело вступают кумулятивные торпеды. Результатом их взрыва станет появление на теле обсадных колонн кольцевых надрезов. После этого остается отрезать отдельные фрагменты подходящим режущим инструментом, например, перфоратором.
Если обсадку не удается извлечь из-за формирования песчаной пробки, то потребуется воспользоваться способом промывки и растяжения. Для этой цели необходим насос с устройством для промывки. Описание способа:
- Напорную часть насоса подсоединяют к верхней части трубы. Давление должно быть минимальным, но достаточным, чтобы вода могла циркулировать.
- Трубу промывают, а после того, как пойдет песок, напор требуется увеличить. Затем тело обсадной колонны расхаживают путем прокручивания – для этого использует ротор.
- Колонну вместе с прокручиванием и промывкой начинают расшатывать.
Коэффициент трения в этом случае уменьшается, поэтому труба легче выйдет из скважины. - Для подъема в высшей точке извлекаемого изделия производится монтаж блока, через который перебрасывают трос. За счет вращения барабана лебедки крутящий момент преобразуется в усилие тяги. Небольшое по массе изделие можно вытащить рычагом.
Как вариант, можно обратиться к профессиональным бурильщикам, которые используют специальное оборудование и технику: швеллеры, метчики, овершоты, домкраты повышенной грузоподъемности, опоры и т.п. Если проблема относительно несложная, то попробовать решить ее можно самостоятельно. Обратите внимание на метод натяжки, который подходит для демонтажа изделий большого размера и с толстыми стенками. В этом случае потребуется домкрат или талевая система. Алгоритм процесса:
- Вокруг устья обсадной трубы нужно выкопать траншею глубиной 1 м.
- Далее на обсадку следует надеть хомут, а к нему прикрепить тросы. Затем конструкцию слегка натягивают.

- Хомут с прикрепленным тросом перемещают ниже, после чего повторяют те же действия. За счет этого обеспечивается плавное вытягивание изделия.
- Верхний край обсадки вытягивают до тех пор, пока не появится обрыв. Далее фрагмент извлекается из скважины, а оставшуюся часть захватывают, используя специальный ловильный инструмент. Процесс продолжается до полного решения проблемы.
Необходимые инструменты
Список инструментов и оборудования для извлечения обсадной колонны из скважины может сильно разниться в зависимости от метода. В целом вам не обойтись без труболовок, лебедки и домкрата большой грузоподъемности. Дополнительно понадобится настил для опоры, который состоит из балок, металлических брусьев или рельсов. Простой способ извлечения поврежденных фрагментом предполагает применение:
- сварочного аппарата;
- вертлюжных пробок;
- металлических хомутов;
- домкрата.
Как вытащить трубу из скважины своими руками
Если у вас возник вопрос, как можно вытащить обсадную трубу из скважины самостоятельно, то попробуйте сделать специальное приспособление.
Инструкция:
- Для изготовления приспособления возьмите швеллер №10 и сделайте из него пару стоек в виде буквы «Т», но только перевернутой. Ширина конструкции должна составлять 0,6 м, а высота – 1 м.
- При помощи сварки приварите к каждой стойке сверху подшипник с внутренним диаметром 40 мм.
- Также нужно сделать ось – на ней будут крепиться рукояти, барабан. Ее края вставляются в подшипники. Устройство на этом считается практически готовым.
- Чтобы поднять колонну, ее следует зафиксировать стальным тросом, наматываемым на барабан.
- Для страховки длинных изделий используйте специальную чалку, которая будет удерживать обсадку при перехвате троса.
- Если вам нужно вытащить пластиковую колонну и при этом не нанести ей повреждения, то дополнительно понадобится обжимной хомут.
Видео
подъём обсадной трубы оголение фильтра Смотреть видео
Нашли в тексте ошибку? Выделите её, нажмите Ctrl + Enter и мы всё исправим! Рассказать друзьям:
Метод извлечения: предотвращает ли прерывание беременности?
Основная цель использования противозачаточных средств — максимально снизить риск беременности, верно?
Никакая форма контрацепции не является надежной.
Но если у вас есть ВМС, правильно используйте презерватив, принимайте таблетку в соответствии с указаниями или правильно используете кольцо, пластырь или другой метод, ваши шансы на беременность действительно намного ниже.
Тем не менее, доверять своему партнеру выйдет из игры до того, как кто-то из пловцов выберется из ворот, — это не столько контроль над рождаемостью, сколько риск.Есть причина, по которой это называется «тяни и молись». Вот что говорят эксперты о прерванном половом акте.
«Люди действительно думают об этом как о противозачаточных средствах, но это не так», — говорит Лорен Ф. Штрейхер, доктор медицины, клинический доцент кафедры акушерства и гинекологии Северо-Западного университета и автор книги «Sex Rx: гормоны, здоровье и ваш лучший секс». Когда-либо.»
Контрацепция, по определению, — это метод, используемый для предотвращения беременности, но выдергивание имеет такой высокий процент неудач, что вы даже не можете считать его жизнеспособным вариантом, — утверждает она.
Согласно данным Planned Parenthood, среди партнеров, которые полностью вырываются каждый раз (до того, как выходит сперма), только 4 процента этих женщин забеременеют в течение одного года. Не так уж и плохо, правда?
Впрочем, это в идеальном мире. Есть еще один вид отказов, называемый «фактическим», который учитывает ошибки пользователя, другими словами, несвоевременное отключение.
Включая партнеров, которые не вовремя отключают , фактическая частота отказов составляет 25–30 процентов в течение одного года. Amory JK. (2016). Мужская контрацепция. DOI: 10.1016 / j.fertnstert.2016.08.036
Между тем, по данным CDC, у мужских презервативов частота отказов составляет 13 процентов, а у женских — 21 процент. Это лучше, чем метод извлечения. А если ваша цель — предотвратить беременность, разве вам не нужны лучшие шансы?
Также учтите следующее: обычно презерватив выходит из строя, потому что партнеры не надевают его, пока не начнется половой акт.
или не надевают его правильно, — говорит Штрайхер.
Вы можете устранить первую причину, надев презерватив подходящего типа перед проникновением. Хотя порвется или порвется презерватив, вы можете снизить вероятность этого, если правильно наденьте презерватив и определите его размер.
Для сравнения, по данным CDC, большинство гормональных форм или противозачаточных средств, таких как таблетки, пластырь или кольцо, имеют типичный показатель неудач при использовании в 7%.
А если у вас есть ВМС, вероятность получить булочку в духовке меньше 1%.Такая частота отказов делает ВМС наиболее эффективной формой временного контроля над рождаемостью.
«Когда речь идет о методах предотвращения беременности, отстранение находится на самом дне», — добавляет Штрейхер.
Когда дело доходит до метода извлечения, время чертовски важно. Это потому, что когда кто-то эякулирует, первая порция спермы является наиболее сильнодействующей.
Эта первая прививка — не считая предварительной спермы — имеет более быстрые пловцы, большее их количество и сперму с более качественной ДНК.
Хеблес М. (2015). Качество семинолов в первой фракции эякулята. DOI: 10.3109 / 19396368.2014.999390 Это означает, что он имеет наибольший потенциал для зачатия.
Но по ряду причин точное извлечение может быть затруднено. Во-первых, легко забыть. Пик удовольствия тоже может воспрепятствовать желанию вырваться. А такие вещества, как алкоголь или травка, могут замедлить время реакции, чтобы остановить действие.
Кроме того, время вытягивания даже не учитывает предварительную сперму, которая выходит из пениса.Это щелочная жидкость, которая поступает из куперовской железы во время возбуждения и перед эякуляцией.
Премиум состоит из ферментов и слизи. Исследования о том, может ли прекончательная беременность вызывать беременность, отсутствуют, но часто цитируемое исследование 2010 года показывает, что она может быть заражена живой спермой. Киллик С.Р. и др. (2010). Содержание спермы в предэякуляторной жидкости. DOI: 10.3109 / 14647273.2010.520798
«Идея о том, что любой может вырваться достаточно быстро, чтобы предотвратить беременность, не соответствует действительности, что делает абстинентный синдром неприемлемой формой контрацепции», — подчеркивает Штрайхер.
Потенциальная незапланированная беременность — не единственная проблема, связанная с использованием метода извлечения. «Отказ никоим образом не защитит вас от ИППП, — объясняет Штрейхер.
Вы подвергаетесь воздействию как инфекций, передаваемых через кожный контакт, например герпеса, так и инфекций, передаваемых через жидкости, например гонореи и хламидиоза. Если вы используете вытяжной метод, обязательно регулярно сдавайте анализы.
Другой риск? По словам Штрайхера, у него вообще плохой сексуальный опыт.«Когда ты постоянно беспокоишься о том, чтобы вовремя уйти — или если парень уйдет вовремя, — секс не приносит удовлетворения», — предлагает она.
И в довершение ко всему, у вас есть посткоитусный стресс, связанный с тем, что вы не на 100 процентов уверены, что сперма не вышла, или если вы подверглись ИППП.
Тем не менее, шокирующее количество женщин полагаются на то, что является противозачаточным эквивалентом скрещивания пальцев.
Новое исследование, проведенное Glow, приложением для отслеживания менструального цикла, показало, что 18 процентов женщин используют метод отмены в качестве основной формы контроля над рождаемостью.
По оценкам CDC, 60 процентов женщин хотя бы раз отказались от занятий.
Тот же самый опрос Glow показал, что вытягивание было третьей по популярности формой контроля рождаемости — больше, чем ВМС! Участники опроса Glow заявили, что главные причины зависимости от него заключаются в том, что он лучше всего подходит и является самым простым в использовании противозачаточным средством.
Нет никаких сомнений в том, что вытягивание удобнее, чем другие противозачаточные средства. Не нужно открывать аптеку, и это бесплатно. Кроме того, в нем отсутствуют побочные эффекты и потенциальные риски гормональной контрацепции.
Но спросите себя, предпочитаете ли вы платить за презерватив, за незапланированную беременность или за пожизненную ИППП.
Если вы использовали метод вытягивания, но беспокоитесь о нем постфактум, ознакомьтесь с нашим планом действий в отношении незащищенного секса на следующее утро.
Отсутствие планирования часто играет роль в использовании метода отмены для контроля рождаемости.
«Многие люди уходят в крайнем случае, если они не планируют заниматься сексом, но у них нет других доступных противозачаточных средств», — говорит Штрайхер.
По-прежнему лучше прекратить акцию и направиться к проходу с презервативами или выбрать олдскульный «сухой горб». Но если вы собираетесь продвигаться вперед с проникновением, то метод извлечения имеет свое место.
«Хотя это может быть не самый надежный метод для всех пар, — говорит сексолог Джессика О’Рейли, — я бы не хотела отговаривать людей использовать его, а не использовать вообще ничего».
Следует отметить, что метод вытягивания — отличная практика в сочетании с другими методами контрацепции для повышения их эффективности.
.
Можно ли забеременеть методом вытягивания? Что нужно знать
Да. Забеременеть можно при вытяжном методе.
Метод вытягивания, также называемый отменой — или прерванный половой акт, если хотите, — включает в себя вытаскивание полового члена из влагалища перед эякуляцией.
Теоретически можно увидеть, как это может работать, но это еще не все.
Если вы полагаетесь на метод извлечения для контрацепции или рассматриваете его, читайте дальше, чтобы узнать, что может пойти не так и почему это, вероятно, не лучшая идея.
Да, все еще возможно.
Хотя верно, что ваши шансы на беременность выше, когда у вас овуляция, это не означает, что вы не можете забеременеть, когда у вас нет овуляции.
Сперма может жить в вашем теле до семи дней. Даже если у вас не происходит овуляции во время полового акта, если в вашем репродуктивном тракте есть сперматозоиды, они могут быть еще живы, когда вы все же овулируете.
Коэффициент отказов при идеальном использовании метода извлечения составляет 4 процента. Это означает, что, если все сделано правильно, метод вытягивания предотвращает наступление беременности в 96% случаев.
Тем не менее, по оценкам, от 18 до 28 процентов пар, использующих этот метод, забеременеют в течение первого года.
Во многом это потому, что трудно добиться идеального результата.
Показатели успешности противозачаточных средств измеряются при типичном использовании по сравнению с идеальным использованием. Типичное использование относится к тому, как люди реально используют метод, в то время как безупречное использование означает, ну, идеальное использование.
Человек с пенисом должен вытащить его из влагалища, когда он чувствует, что вот-вот эякулирует, и отделяется от гениталий.Это звучит просто, но время может быть трудно контролировать, и это даже не принимает во внимание предварительную эякуляцию (да, вы также можете забеременеть от предварительной спермы).
Идеальное использование также предполагает соблюдение мер предосторожности перед повторным половым актом. Чтобы убедиться, что пенис полностью свободен и не имеет никаких следов, человеку необходимо помочиться и очистить кончик пениса перед тем, как приступить к следующему раунду. Для некоторых это может быть чем-то вроде убийцы настроения.
Совершенствовать метод извлечения действительно сложно, и практика вряд ли сделает его более эффективным.Если вы все же хотите попробовать, вам нужно поработать над тем, чтобы отточить время.
Для этого потренируйтесь с презервативом. По мере приближения к оргазму старайтесь обращать внимание на любые сигналы или знаки, которые помогут вам лучше определить, когда вы собираетесь испытать оргазм в будущем.
Не пытайтесь пробовать этот метод без презерватива, пока не будете уверены в своем выборе времени. И даже в этом случае целесообразно использовать метод резервного копирования.
Пару вещей. Во-первых, трудно отказаться, когда вы находитесь в агонии экстаза.Выдвижной метод также не защищает от ИППП.
Предварительная подготовка — еще один риск. Это прозрачная жидкость, которая выделяется пенисом при сексуальном возбуждении. Большинство людей выделяют небольшое количество спермы, и обычно оно не содержит спермы. Но сперматозоиды, задержавшиеся в уретре из-за недавней эякуляции, могут смешиваться с предконтинентом.
Даже если вам удастся точно рассчитать время и вырваться наружу до эякуляции, даже небольшое количество жидкости может привести к беременности.
Метод извлечения ненадежен, но есть несколько вещей, которые могут сделать его немного более эффективным.
Отслеживание овуляции
Вы можете снизить риск беременности, отслеживая овуляцию. Просто помните, что вы все еще можете забеременеть до и после овуляции.
Партнер с овуляцией может использовать метод определения фертильности, чтобы отследить, когда он наиболее фертилен. Как только вы узнаете, когда наступает ваше плодородное окно, вы сможете в это время избегать секса или метода вытягивания.
Существует также ряд приложений для бесплодия, которые можно использовать для отслеживания менструации и овуляции.
Используйте резервный метод контроля над рождаемостью
Прекращение беременности не рекомендуется в качестве основного метода контроля рождаемости из-за высокой частоты неудач, но это отличный вторичный метод.
Использование резервного метода вместе с отменой может значительно снизить риск беременности.
Используйте его вместе с другими методами контроля рождаемости, например:
Не паникуйте.Если вы беспокоитесь, что ваш партнер не отказался вовремя, у вас есть несколько вариантов.
Сначала отправляйтесь в ванную комнату и:
- сядьте на унитаз, чтобы прижаться, используя мышцы влагалища, чтобы вытолкнуть любой эякулят, который может быть внутри мочеиспускания
- , чтобы помочь удалить сперму, которая может быть снаружи вашего влагалища открытие
- тщательно промойте гениталии
Вам также стоит подумать об экстренной контрацепции. Это можно использовать для предотвращения беременности, если вы не используете противозачаточные средства или у вас незащищенный секс.Чтобы он был эффективным, его следует использовать как можно скорее. Доступны два основных типа.
Таблетки для экстренной контрацепции
Таблетки для экстренной контрацепции — это то, что обычно называют «таблеткой на следующее утро».
Они доступны по рецепту или без него, в зависимости от выбранного вами типа.
Есть несколько видов, которые вы можете приобрести в любом возрасте без рецепта. Они включают одну таблетку, которую обычно необходимо принять в течение 72 часов после полового акта.
Обычно их можно найти в одном проходе с тестами на беременность и наборами на овуляцию.
Вот некоторые бренды, на которые стоит обратить внимание:
- Plan B One-Step
- Next Choice One-Dose
- My Way
- Take Action
Прошло 72 часа? Вы по-прежнему можете принимать улипристала ацетат, выпускаемый под торговой маркой Ella. Его можно принимать в течение 5 дней после полового акта.
Единственная загвоздка в том, что вам понадобится рецепт, который вы можете получить в:
- у вашего поставщика медицинских услуг
- клиники планирования семьи
- центры неотложной помощи
- кампус и студенческие центры здоровья
Хотя экстренная контрацепция не предназначен для использования в качестве основного противозачаточного средства, рекомендуется иметь его под рукой, если вы полагаетесь на метод извлечения.
Медь Т ВМС
Внутриматочная спираль с медью Т — наиболее эффективный тип экстренной контрацепции при использовании в течение 5 дней после половой жизни. Он имплантируется в матку и высвобождает медь в фаллопиевы трубы и матку, действуя как спермицид. Обратной стороной является то, что он требует рецепта и должен быть введен поставщиком медицинских услуг.
Если вы беспокоитесь, что ваш партнер не отстает должным образом, тогда да. Но вам нужно подождать до первого дня задержки менструации, чтобы получить надежный результат.
Тесты на беременность обнаруживают гормон, называемый хорионическим гонадотропином человека (ХГЧ). Гормон присутствует только тогда, когда к матке прикрепляется оплодотворенная яйцеклетка.
Даже если вы чувствуете, что идеально использовали метод вытягивания, вам следует пройти тест на беременность, если вы заметили какие-либо признаки ранней беременности, например:
В целом метод вытяжки не очень надежен, если Эякулирующий партнер обладает исключительным самоконтролем. И даже тогда что-то может пойти не так. Если вы хотите его использовать, подумайте об увеличении вдвое (или утроении) с помощью других методов, таких как спермицид и отслеживание овуляции.
.Руководство по лучшим рукавицам
Spellbreak | SegmentNext
В нашем руководстве по Spellbreak Gauntlets мы рассмотрим варианты и способности каждой перчатки, чтобы помочь вам лучше понять их соответствующие стили игры.
Spellbreak предлагает уникальный взгляд на Battle Royale, добавляя заклинания в микс. Используйте магические способности, чтобы уничтожить врагов, сражаясь за господство в Королевской битве за заклинание.
Лучшие рукавицы Spellbreak
Spellbreak может показаться невинным с его механикой, но они намного сложнее и вознаграждают игроков, которые вкладывают деньги в его сложную кривую обучения.
Каждая Рукавица может похвастаться особой способностью, а также способностью стрелять атаками, относящимися к элементу каждой Рукавицы.
Идея состоит в том, чтобы освоить рукавицы, которые лучше всего подходят вашему стилю игры в Spellbreak, и объединить их коллективную силу, чтобы повысить вашу мобильность на игровом поле, а также наносимый вами урон.
Морозная рукавица
Ice Lance
Выпускает осколок льда, имеющий прямую траекторию. Заряжайте свое копье и прогнозируйте движения врага, чтобы успешно нанести удар.Чтобы зарядить вашу атаку Frost Gauntlet, требуется 1,75 секунды.
| Раритеты | Обычный | Необычный | Редкий | Эпический | Легендарный |
| Стоимость маны | 30–60 | 27–54 | 24–48 | 21–42 | 20-40 |
| Урон | 15–45 | 19–58 | 21–63 | 22–67 | 24–72 |
| Макс ДПС | 20 | 25.8 | 28 | 29,8 | 32 |
Flash Freeze
Создайте вокруг себя AoE, которое замедляет всех врагов, попавших в его зону действия, на 50%. Эффект замедления длится 1,5 секунды, а затем полностью замораживает врагов.
Зона поражения также блокирует любые входящие снаряды огня / ветра / молнии.
- Перезарядка: 20 секунд
- Продолжительность: 3 секунды
- Длительность замораживания: 2 секунды
Рукавицы с молнией
Lightning Bolt
Огненные молнии с 0.Задержка на 4 секунды у врагов. Разброс увеличивается при использовании, кроме первого выстрела.
Вы потеряете ценный урон на дистанции более 8 метров.
| Редкость | Обычный | Необычный | Редкий | Эпический | Легендарный |
| Стоимость маны | 9 | 9 | 9 | 8 | 8 |
| Урон | 6–8 | 6–10 | 7–11 | 8–11 | 9–12 |
| ДПС | 19.4 — 25,8 | 19,4 — 32,3 | 22,6 — 35,5 | 25,8 — 35,5 | 29 — 38,7 |
Lightning Strike
Призывает молнию, которая ударит через 0,9 секунды.
Применяйте к врагам шок при ударе. Также может навредить вам, если вы не будете осторожны.
- Перезарядка: 15 секунд
- Дальность: 28 метров
- Урон: 20
- Длительность шока: 2 секунды
Пожар
Fireball
Выпускает огненный шар, который взрывается при контакте.Чем ближе противник к центру взрыва, тем больше урон.
Оставляет после себя горящую область, которая длится 6 секунд; если он упадет на землю.
| Редкость | Обычный | Необычный | Редкий | Эпический | Легендарный |
| Стоимость маны | 20 | 18 | 17 | 16 | 15 |
| Урон | 10–25 | 10–30 | 10–34 | 10–36 | 10–38 |
| ДПС | 10.4–26 | 10,4 — 31,3 | 10,4 — 35,4 | 10,4 — 37,5 | 10,4 — 39,6 |
Flamewall
Создайте стену пламени, которая воспламенит всех противников, оказавшихся в ней, на 2 секунды.
Блокирует ледяные и токсичные снаряды.
Вы получите урон, если шагнете в стену, но не получите урона от воспламенения.
- Перезарядка: 15 секунд
- Продолжительность: 15 секунд
- Дальность: 28 метров
- ДПС: 6 за тик
- Ignite DPS: 4 за тик
Токсичный
Toxic Spray
Распылите 10 ядовитых потоков прямо перед собой, которые наносят урон в зависимости от того, сколько снарядов вы поразили врага.
| Редкость | Обычный | Необычный | Редкий | Эпический | Легендарный |
| Стоимость маны | 20 | 18 | 17 | 16 | 15 |
| Общий урон при попадании | 14.07.2030 | 17.08.36/36 | 19/30/41 | 20.10.31/43 | 22/34/46 |
| Макс ДПС | 30,6 | 36.7 | 41,8 | 43,9 | 46,9 |
Toxic Cloud
Выбросить токсичный снаряд, который при ударе создает токсичное облако.
Урон будет вызывать коррозию ваших врагов в течение 3 секунд.
Вы получите урон при входе в облако, но не получите повреждений от коррозии.
- Перезарядка: 15 секунд
- Продолжительность: 5 секунд
- ДПС: 6 за тик
- Коррозия ДПС: 4 за тик (только броня)
Камень
Shockwave
Создает извержение, которое наносит урон всем противникам, попавшим в его зону действия.Нельзя использовать в воздухе.
| Редкость | Обычный | Необычный | Редкий | Эпический | Легендарный |
| Стоимость маны | 25 | 23 | 21 | 20 | 19 |
| Урон | 30 | 39 | 42 | 44 | 45 |
| ДПС | 23,1 | 30 | 32.3 | 33,9 | 34,6 |
Boulderfall
Бросьте вашим противникам валун, который взрывается при ударе.
Чем больше времени камень находится в воздухе, тем больше урон.
- Перезарядка: 10 секунд
- Урон: 20-50
Рукавицы ветра
Wind Shear
Бросает ветер на ваших противников, чтобы нанести им урон, а также отразить любые заклинания, которые они могут бросить в вас.Ваш урон будет меньше на дистанциях более 5 метров.
| Редкость | Обычный | Необычный | Редкий | Эпический | Легендарный |
| Стоимость маны | 9 | 9 | 9 | 8 | 8 |
| Урон | 3–7 | 3–9 | 3–10 | 4–11 | 4–12 |
| ДПС | 12–28 | 12–36 | 12-40 | 16–44 | 16–48 |
Торнадо
Создайте торнадо, которое притянет любого из ваших противников, ограничивая их подвижность.
Любые летающие противники будут втянуты в вихрь с большей силой.
Имеет радиус 13 метров и может притягивать заклинателя.
- Перезарядка: 15 секунд
- Продолжительность: 4 секунды
- Дальность: 28 метров
.
Обустройство скважин. Ремонт скважин — Статьи
Постулат о том, что человек думает головой, легко опровергается повседневной практикой. Достаточно посмотреть на то, что человек, якобы разумный, вытворяет с нормально работающими скважинами. За примерами далеко ходить не надо.
Пробурили мужику на садовом участке скважину. А электричества нет. Тот репу почесал, додумался. Взял стреляную снарядную гильзу, сбоку две дырочки просверлил, проволочку вставил – ведерко получилось. Привязал веревочку, и таким макаром два года из скважины воду доставал.
Все хорошее когда-нибудь кончается. Оборвалась веревочка.
Как ведерко вытащить?
Собрался консилиум садоводов-любителей. Судили-рядили, осенило. Ведерко под обсадную трубу загнать!
Смастерили треногу, сверху блок прикрутили, лом притащили, к лому ухо приварили, к уху цепь привязали, к цепи – трос стальной. Трос через блок перебросили, колхозом навалились, давай сверху по ведерку ломом стучать! Раз ударили, два ударили, на третий трос оборвался.
Только после этого бурильщикам позвонили.
Задачка. Было в скважине одно ведерко. Стало: ведерко, лом полутораметровый, цепь, в руку толщиной, обрывок троса.
Вопрос. Зачем человеку голова на плечах?
Казалось бы, блестящее образование способствует развитию логического мышления. По-видимому, это не так.
Пробурили одному профессору скважину на даче. Весь сезон он водичкой пользовался, все хорошо было. На следующий год, по весне, опускает профессор насос. Насос до воды доходит, а дальше не лезет.
Профессор с претензиями к бурильщикам. Те приезжают, буровой снаряд собирают, скважину проверяют. Скважина до самого дна чистая. Опускают насос. Он до воды доходит, дальше не лезет. Операцию повторяют. Результат тот же. Чудеса!
Оказалось, профессор на зиму скважину деревяшкой заткнул. Выстругал пробочку из бревнышка, аккурат под диаметр трубы.
Пробочка ссохлась, в скважину провалилась и на поверхности воды плавает. Веса насоса не хватает, чтобы деревяшечку утопить, а буровыми штангами – запросто. Штанги разбирают, пробочка всплывает. Операция повторяется.
Хорошо, что бурильщики опытными оказались. Пробочку выудили, профессору предъявили, словом на букву «м» обозвали, на том и успокоились.
Для справки. Тот же эффект возникает, когда детишки резиновый мячик в скважину бросают.
Но ничто не идет в сравнение, когда война соседей начинается. Ладно, если дохлую крысу или кошку друг другу в скважину бросят.
Но бывают редкостные исключения.
Один сосед другому гантели гимнастические бросил, да не просто, а проволокой связанные. Гантеля чем хороша. Она, как груша в унитазе, открытый ствол перекрывает, и вода в скважину не поступает. Попробуйте их достать!
В другой деревне сосед соседу ведро солярки в скважину вылил. Расползлась нефтяная пленка по водоносному пласту на пол деревни. Полтора года вся округа с водой мучилась.
Мужика побили. По нашему мнению, есть за что.
Но больше всех доблестные ветераны Великой Отечественной отличились
Была у дедушки скважина. Лет двадцать давала прекрасную чистую воду. Не знаем, какая муха его укусила, но показалось дедушке, что воды стало меньше. Позвал он дружков своих, таких же ветеранов Куликовской битвы, совет держать. Думали-гадали, додумались. Надо полость под трубой увеличить, чтоб вода лучше поступала.
Сбегали дедушки за куском кровельного железа, изготовили гильзу, засыпали в нее 26 (!) банок охотничьего пороха, воткнули припасенный с войны детонатор, опустили в скважину, подсоединили к аккумулятору, за угол спрятались, контакты замкнули.
Бахнуло на всю округу. В близлежащих домах стекла вдребезги. Обсадная труба, длиной 9 (!) метров как пушинка из земли выскочила, на крышу спланировала, по пути снесла шифер, а заодно и печную трубу. А дедушкам хоть бы что. Боевой опыт, блин!
А вот хорошей воды не стало. Совсем.
Взрыв нарушил водоупорный пласт, верхняя вода, как в раковине на кухне, устремилась в образовавшийся пролом, и в течение недели в радиусе 100 м.
все мелкие скважины и колодцы обсохли. Дедушек чуть не убили.
Соседям пришлось глубокие скважины бурить, с вонючей железистой водой. Так как другой нет. Ни на какой глубине.
Статистика, и не только.
Откроем страшную военную тайну.
В девяноста пяти случаях из ста, виновниками прекращения работы скважин являются сами хозяева. Причина – социальный инстинкт, национальный менталитет и рыночные отношения.
Тезис требует иллюстраций.
Этюд первый
Есть праздник — Открытие Дачного Сезона. Он обычно с майскими праздниками совпадает.
Выезжают стада садоводов-любителей на волю, на дачные участки, с детьми, кошками и собаками. Женщины — в позу эротичную, грядки копать. А мужики друг к другу в гости — выпить, закусить, новостями поделиться. Через полчаса лыка не вяжут. Женщинам обидно. Начинают зудеть, побуждать мужиков к общественно полезной деятельности. Что самое простое? Насос в скважину опустить. А реакция, после общения с друзьями, не та! И улетает насос в скважину вместе со шлангами, веревочками и удлинителями.
Кто виноват? Конечно, женщины. Какая необходимость пьяного мужика тревожить? Он пару дней жизнью понаслаждается, чувство вины проснется, за три секунды насос поставит, и все остальное по уму сделает. А если не очнется, то зачем такого мужика в хозяйстве держать?
Этюд второй
Есть на земном шаре народ — любознательный, дружелюбный, работящий. Имя — узбеки. Подмечена в народе странность. Если есть скважина, узбек и маленький камушек, то камушек обязательно попадет в скважину посредством узбека. Сколько раз их спрашивали, зачем они это делают, вразумительного ответа так и не дождались. Похоже, прет их от плеска воды в обсадной трубе! Что тут сделаешь?
Бросают они камушки и в те скважины, где стоит насос. В результате камушек падает в зазор между насосом и стенкой обсадной трубы, заклинивая насос намертво. Хозяева, как истинно русские люди, не зная меры, пытаются достать насос, выдирая с корнем не только шланги, но и страховочный трос вместе с электрическим кабелем.
А потом платят большие деньги за ликвидацию последствий узбекского любопытства. Обидно!
Этюд третий
Есть в бизнесе один прием, позволяющий многократно увеличить сбыт продукции.
Сделать, например, насос типа «Малыш», и вложить в комплектацию гнилую веревочку. Потребитель, глядя с подозрением, но согласно инструкции, подвешивает на этой веревочке насос. Через неделю веревочка обрывается.
Далее варианты.
— как правило, насос улетает в скважину вместе со шлангами и электрическим кабелем. Вероятность извлечь его целым и невредимым – менее 30 %.
— насос повисает на электрическом кабеле и продолжает работать. Через достаточно короткое время изоляция нарушается, происходит короткое замыкание, электрический кабель выгорает. Хорошо, если в доме срабатывает предохранитель, если не срабатывает, дом сгорает. Прецеденты бывали.
— насос повисает на водоподъемном шланге и продолжает работать в перекошенном состоянии, при этом корпус насоса касается стенки обсадной трубы.
Рано или поздно корпус разрушается, и наступают последствия, изложенные в предыдущем пункте.
При любом раскладе Вы покупаете второй насос, стимулируя отечественного или китайского производителя. Правда, умнеете. В комплект к насосу берете стальной тросик. Самые продвинутые, учитывая агрессивность наших вод, приобретают тросик в виниловой оболочке.
Но даже самый навороченный трос, в палец толщиной, не поможет, если Вы не сделаете главного. Не купите изоленты и не увяжите трос, водоподъемный шланг и электрический кабель в единый жгут. Если Вы этого не сделаете, электрический кабель может ослабнуть и, изогнувшись петлей, попасть в зазор между насосом и стенкой обсадной трубы, намертво заклинив насос, аналогично узбекскому камушку. И выглядеть Вы будете в глазах бурильщиков полноценным узбеком.
О коварстве атмосферных вод, керне лягушек, и не только.
Каждому инопланетянину известно — человек стремится к комфорту.
Комфорт человеческий заключается в том, чтобы пробурив скважину, завести воду в дом.
При решении этой задачи мысли подавляющего большинства застройщиков не идут дальше магического термина «глубина промерзания».
Стандартным решением считается строительство колодца или кессона, глубиной, превышающей глубину промерзания, обрезание верха обсадной трубы и прокладывание трубопровода от колодца к дому. Кое-где подобные конструкции работают, но гораздо чаще они приводят к прекращению работы скважин. Замерзший трубопровод, как показывает практика, не самое страшное, что может произойти.
Рассмотрим картину мира во взаимосвязи природных явлений.
Поставим эксперимент. Выкопаем на огороде ямку, аналог технологического колодца, и посмотрим, что с ней произойдет во время сильного дождя или таяния снега. Не трудно догадаться, что она до самого верха заполнится водой.
Вот эта атмосферная вода и есть главный враг скважин.
Как показано на рис. 1, движение дождевых и талых вод происходит по контакту почвенно-растительного слоя (3) и подстилающего его слоя глины или суглинка (4).
Подойдя к бетонной стенке колодца (1), водный поток устремляется вниз по прослабленному копаному грунту и добирается до дна. Далее – два варианта.
- Если скважина пробурена с большим боковым зазором (подробности в статье «Бурение водозаборных скважин»), то шанс прорыва атмосферных вод вдоль наружной стенки обсадной трубы, вплоть до эксплуатационного водоносного пласта, очень велик. Если прорыв произошел, то частицы грунта, увлекаемые потоком, плотно замуровывают низ обсадной трубы. Иногда обрушение горных пород носит лавинообразный характер, при этом в обсадной трубе мгновенно образуется песчаная пробка мощностью в несколько метров. В любом случае, скважина работать перестает.
- Если скважина пробурена с малым боковым зазором, или проведена качественная затрубная цементация, то атмосферные воды заполняют колодец. Процесс продолжается до тех пор, пока вода не начнет течь внутрь обсадной трубы. Как и в первом случае, водный поток несет с собой большое количество взвешенных механических частиц, которые оседая на дне скважины, постепенно образуют плотную грязевую пробку, что также приводит к прекращению работы скважины.

Бывали случаи, когда поглощение атмосферных вод происходило по двум вариантам одновременно.
В народе вышеописанные эффекты известны под общим названием «заиливание скважин».
Теперь перейдем к разбору «полетов».
Главной ошибкой строительства технологических колодцев является решение о бетонировании дна. Понятно стремление хозяев к чистоте и удобству, но увидеть, что начался процесс поглощения атмосферных вод, невозможно.
Был случай, когда атмосферные воды, подмыв грунт под колодцем, спровоцировали обвал, и возникла гигантская воронка, глубиной пять и диаметром семь метров. Посредине торчала труба, а на ней, как воронье гнездо, бетонный колодец о двух кольцах. На краю воронки — обнажившийся треснувший фундамент трехэтажного особняка, трещина, аж до крыши. Рядом стоял хозяин и рвал волосы на мягком месте. И обвинить-то некого!
Ошибкой можно считать и действия хозяев, когда колодец без дна, а около обсадной трубы обнаружена щель, поглощающая воду.
Владельцы скважин обычно пытаются заделать промой цементным раствором. После того как раствор превратится в камень, вода промывает новую щель, с легкостью обходя цементную пробку.
Помочь может разве что сухая порошковая глина. Она продается в строительных магазинах и применяется при строительстве печей. Ее засыпают в щель маленькими порциями, слегка утрамбовывая палкой. Под действием влаги, содержащейся в породах, глина размокает, расширяется в объеме в 10 раз, и иногда останавливает процесс поглощения вод.
Верхом идиотизма является установка металлического кессона, и приваривание его к обсадной трубе. Понятно, что по своей функциональной сути он аналогичен колодцу с бетонированным дном, с одним дополнительным недостатком. Зимой, когда грунт промерзает, кессон выпирает наружу, он тянет за собой обсадную трубу, герметизация эксплуатационного пласта нарушается, и, как следствие, скважина перестает работать.
В случае, когда удается избежать воздействия атмосферных вод, не обольщайтесь, есть еще одна напасть. Лягушки. Для своих брачных игр они вполне могут выбрать колодец. Не знаем, как устроена их голова, но констатируем факт, лягушки склонны к суициду. Причем, весьма экзотичным способом. Они прыгают внутрь обсадной трубы, и там подыхают.
Приезжают хозяева на дачу, насос опускают, а водичка.… Попахивает.
Прочищая одну из таких скважин, мы достали со дна керн дохлых лягушек длиной в 80 сантиметров! Зрелище впечатляющее. Хозяева до сих пор воду не пьют, брезгуют почему-то.
Как Вы догадались, мы не являемся сторонниками технологических колодцев, и считаем, что ваять их можно лишь при определенных условиях, главное из которых – возможность дренирования атмосферных вод.
Как показано на рис. 2, колодец (1) необходимо совместить с дренажной траншеей (2).
Устройство аналогичной траншеи подробно описано в статье «Канализация». Дно колодца не бетонируется, для удобства обслуживания насосного оборудования, можно насыпать тонкий слой гранитного щебня, предварительно сделав вокруг обсадной трубы глиняный затвор (3).
При сооружении затвора желательно использовать сухую порошковую глину. Во избежание лягушачьих потех, не забудьте закрыть верх обсадной трубы герметичным оголовником (4), а сам колодец – утепленной крышкой (5). Вокруг колодца желательно прокопать водоотводные канавки (6).
С нашей точки зрения, вышеописанная конструкция соответствует менталитету и технологиям каменного века. Люди, имеющие голову на плечах, давно используют для ввода воды в дом специальное приспособление – адаптер. Мы не собираемся облегчать Вам жизнь, разжевывая, что это такое, поэтому отсылаем на рыбную ловлю в мутные воды Интернета. Прочитав пару десятков статей и посмотрев красивые картинки, Вы легко поймете, о чем идет речь. Добавим только, что выкопав траншею под трубопровод, не забудьте сделать вокруг обсадной трубы глиняный затвор, а учитывая квалификацию менеджеров, помните, типоразмер адаптера должен соответствовать диаметру обсадной трубы.
Надеемся, мы наглядно показали, что ликвидация последствий непродуманных инженерных решений — операция дорогостоящая и не всегда возможная.
Уважайте, все-таки, труд бурильщиков!
Из вышесказанного — вывод: Не зная броду, не лезь в воду!Русская народная пословица
Статьи по бурению скважин | ООО «ГидроМонтаж»
Как пройти плывун при бурении скважины?
19 января 2022
Как утеплить скважину на зиму?
12 января 2022
Заиливание скважины: что делать?
28 декабря 2021
На сколько опускать насос в скважину?
21 декабря 2021
Как достать обсадную трубу из скважины?
21 декабря 2021
Как раскачать скважину?
8 декабря 2021
Как почистить скважину своими руками?
30 ноября 2021
Чем обсыпать трубу скважины после бурения?
24 ноября 2021
Как закрыть скважину на даче?
23 ноября 2021
Какой насос выбрать для скважины?
16 ноября 2021
Как работает скважина на воду
26 октября 2021
Вода из скважины идет с песком
19 октября 2021
Как бурят скважину на воду?
13 октября 2021
Устройство скважины на воду в частном доме
6 октября 2021
Виды скважин на воду
30 сентября 2021
Какой диаметр обсадной трубы для скважины выбрать?
30 сентября 2021
Как обустроить скважину после бурения?
22 сентября 2021
Вода из скважины пахнет сероводородом – что делать?
14 сентября 2021
Глубина артезианской скважины без лицензии
8 сентября 2021
Когда лучше бурить скважину на воду?
8 сентября 2021
Правильная скважина на воду
30 августа 2021
Какие трубы лучше для скважин на воду?
24 августа 2021
Чем опасен марганец в воде из скважины?
10 августа 2021
Как провести воду в дом из скважины?
3 августа 2021
Что делать, если вода из скважины пахнет болотом
27 июля 2021
Почему из скважины идет мутная вода?
27 июля 2021
Желтая вода из скважины
20 июля 2021
В скважине быстро заканчивается вода
20 июля 2021
Почему чернеет вода из скважины?
29 июня 2021
Пробурили скважину: что делать дальше?
29 июня 2021
Как найти водоносный слой при бурении скважины
22 июня 2021
Основные способы бурения скважин на воду
22 июня 2021
Как узнать глубину скважины на воду?
8 июня 2021
Откуда берется вода в скважине?
8 июня 2021
Где бурить скважину под воду на участке?
12 мая 2021
Что такое грунтовые воды
12 мая 2021
Бурение скважин на воду своими руками
23 июля 2019
Виды бурения скважин на воду
6 сентября 2016
В скважине мало воды, что делать?
18 августа 2016
Вода из скважины идет рывками
18 августа 2016
Глубина бурения скважины
26 июля 2016
Глубина скважины для питьевой воды
12 июля 2016
Последовательность проведения буровых работ
28 августа 2015
Влияние некачественной воды на организм человека
11 августа 2015
Что такое дебит скважины?
21 июля 2015
Не идет вода из скважины.
Пропала вода в скважине
14 июля 2015
Сколько стоит пробурить скважину?
14 июля 2015
Технология горизонтально направленного бурения
13 июля 2015
Проблемы «железистой» воды
13 июля 2015
Правда об артезианских скважинах
13 июля 2015
Старая скважина на воду
6 июля 2015
Восстановление скважины
25 июня 2015
Как смонтировать погружной насос в скважину?
25 июня 2015
Что лучше — скважина или колодец?
11 июня 2015
Глубина артезианской скважины
8 июня 2015
Что нужно знать перед началом бурения
18 мая 2015
Что вам нужно знать
Обсадная труба является одной из наиболее важных частей вашей скважины.
Обсадная труба вашей скважины представляет собой длинную трубчатую структуру, которая образует ее структуру.
Что делает корпус водяной скважины?
Корпус водяного колодца обеспечивает герметичный проход для потока воды наверх. Он предотвращает попадание в систему водоснабжения отложений, грязи и других загрязнений.
Обсадная колонна поддерживает стенку скважины, предотвращая обрушение рыхлых обломков горных пород и рыхлого гравия, через которые пробита скважина.
Обсадная труба жилого колодца обычно имеет размеры от 4 до 6 дюймов. Обсадные трубы коммерческих скважин обычно имеют тенденцию быть намного шире.
Обсадные трубы колодцев обычно закрываются пластиковой или алюминиевой крышкой для защиты от насекомых, грязи, пыли, мелких животных и мусора. На крышке есть вентиляционное отверстие, помогающее контролировать давление воды во время откачки.
Некоторые распространенные материалы, используемые для изготовления корпусов, включают пластик и сталь (может быть углеродистой или нержавеющей).
Раньше владельцы скважин предпочитали стальные обсадные трубы; однако популярность корпусов из ПВХ неуклонно растет благодаря повышению прочности, долговечности и коррозионной стойкости ПВХ.
Выбор подходящего материала для обсадной трубы водяной скважины
При выборе материала обсадной колонны необходимо учитывать некоторые факторы: местные правила, тип оборудования, используемого для строительства скважины, и связанные с этим затраты.
Ваш подрядчик по водоснабжению также примет во внимание химию и геологию воды. Если рН вашей колодезной воды ниже 6,5 и ее щелочность также слишком низкая, она может вызывать коррозию.
Поскольку ПВХ устойчив к pH-коррозии, а также не подвержен гальванической коррозии, ваш подрядчик может рассмотреть возможность использования труб из ПВХ.
Точно так же, если колодезная вода имеет высокий уровень растворенных твердых веществ, она может вызвать коррозию стальных труб в результате воздействия гальванического тока.![]()
При установке кожуха подрядчик должен избегать чрезмерных изгибов или вертикальных перемещений, чтобы предотвратить растрескивание или деформацию материалов кожуха. Поврежденный корпус может принести больше вреда, чем пользы. Это может повлиять на структурную целостность скважины и чрезвычайно затруднить установку насосного оборудования или демонтаж оборудования для обслуживания.
Распространенные причины негерметичности корпуса
Со временем в корпусе могут образоваться трещины. Трещины могут возникать, когда грунт сдвигается во время стихийного бедствия, такого как землетрясение, или из-за ударных волн, создаваемых взрывами на близлежащей строительной площадке.
Камни или другие предметы, давящие на корпус, также могут его повредить. Если обсадная колонна вашего колодца имеет трещины из-за некачественных или сварных швов, она не сможет предотвратить попадание грунтовых вод и загрязнений.
Если молния ударит в колодец во время сильной грозы, обсадная колонна колодца может быть повреждена.
Это может привести к развитию утечек.
Если у вас стальной корпус, он может подвергнуться коррозии, что со временем приведет к утечкам.
Во избежание проблем регулярно осматривайте корпус и не забывайте проверять часть, выступающую над землей, на наличие утечек и повреждений. Эта часть подвергается воздействию элементов и особенно уязвима для растрескивания.
Деталь также может треснуть, если вы или кто-то другой случайно ударите ее газонокосилкой или другим оборудованием.
Некоторые распространенные признаки утечки
Треснувшая обсадная колонна – верный путь к катастрофе. Если крышка на верхней части корпуса колодца будет повреждена, внутрь могут заползти насекомые и мелкие животные.
Если они погибнут и разложатся, вредные бактерии могут попасть в систему водоснабжения. Употребление загрязненной воды с повышенным содержанием бактерий является основной причиной желудочно-кишечных заболеваний.
Многие домовладельцы знают о важности ухода за корпусом; однако они не замечают признаков негерметичности обсадной колонны.
Обнаружить утечку непросто, особенно если она находится под поверхностью. Следите за этими признаками, которые могут указывать на то, что обсадная колонна скважины повреждена.
- Уменьшение расхода воды (обычно постепенное)
- Песок, грязь, осадок или другие загрязнители в системе водоснабжения
- Фильтры для воды требуют частой замены
- Вы обнаружили новую проблему загрязнения
Раз в год обращайтесь к подрядчику по скважинам для осмотра и обслуживания скважины.Во время сеанса технического обслуживания ваш подрядчик проверит корпус на наличие утечек и других проблем. Они либо отремонтируют, либо заменят поврежденный корпус, чтобы предотвратить проблемы.
Как ремонтируется обсадная колонна?
Как только вы заметите утечку, немедленно обратитесь к своему подрядчику. Специалист опустит в вашу скважину камеру для тщательного осмотра.
Как только ваш подрядчик доберется до сути проблемы, он определит наилучший план действий.
Действия будут зависеть от того, есть ли у вас единичная утечка на небольшом участке или крупная или множественная утечка.
Незначительные утечки часто легко устраняются и обычно устраняются с помощью ремонтной муфты или футеровки скважины. Ремонтная втулка достаточно компактна, чтобы поместиться в корпусе без каких-либо повреждений.
После наложения рукава на утечку ваш подрядчик запечатает его, чтобы убедиться, что он держится.
Отремонтировать большой участок колодца не так просто, как починить меньший.Если обсадная труба вашего колодца подверглась коррозии, может оказаться невозможным надеть муфту на утечку.
Weeks Drilling & Pump Co. предлагает ряд решений по водоснабжению под одной крышей. Мы ведем ваш проект от начала до конца. Чтобы записаться на обслуживание скважинных насосов в округе Напа , , позвоните по телефону 707-823-3184.
Как вытащить трубу из скважины и как лучше контролировать корпус агрегата
Когда колонна, удерживающая стенку скважины в неизменном состоянии, перестает выполнять свои функции, неизбежно возникает вопрос, как вытащить трубу из скважины с наименьшими затратами сил и средств.
В этом случае воспользуйтесь несколькими способами. Все они предполагают использование специализированного оборудования.
В представленной нами статье подробно описаны проверенные способы извлечения обсадной колонны из водозаборного коллектора. Представлены проблемы, с которыми можно столкнуться при вытягивании колонны труб из скважины. С учетом рекомендаций наша проблема будет решена с наименьшими затратами сил и времени.
Содержание статьи:
- Что такое кожух?
- Когда нужно извлечь кожух?
- Какие факторы следует учитывать?
- Список связанных проблем
- Подготовка к демонтажу ствола скважины
- Способы извлечения трубы из скважины
- Способ натяжения экстракционной колонны
- Метод экстракционной промывки
- Применение метода разматывания
- Коммерческое и бытовое оборудование
- Выводы и полезные видео по теме
Что такое кожух?
Колодец — тот же колодец, но очень глубокий и небольшого диаметра.
Для укрепления стены и обеспечения герметичности конструкции скважины используется обсадная труба. При наличии нескольких слоев воды, непригодной для употребления человеком, оболочка не позволяет смешивать их с чистой питьевой водой в почве.
Использование в качестве обсадных труб из металла, пластика и асбеста. Первые из них прочные, хорошо выдерживают механические нагрузки. Выпускают их диаметром от 114 до 508 мм. Они снабжены резьбой, что облегчает их сборку и разборку.
Основной недостаток — склонность к коррозии и высокая стоимость.Они используются в основном для глубоких шахт с большим количеством водных ресурсов.
Скважина со стальной обсадной трубой в случае необходимости может быть восстановлена. Если колонка изготовлена из другого материала, с возвратным инструментом для сверления нельзя
Лишены недостатков стальных труб, пластмассовых изделий. Внутренний диаметр трубы ПВХ от 80 до 200 мм. Изделия также имеют нити, химически стойкие, легкие.
Заглубляйте пластиковые трубы не более чем на 60 м.
Прочностные характеристики и стоимость пластиковых осадных башен имеют оптимальное соотношение.Недостаток — низкая устойчивость к механическим воздействиям. Идеально подходит для украшения колодца на заднем дворе
Трубы асбестоцементные диаметром 10 — 50 см и длиной 500 см. Используйте их все меньше и меньше. Они хрупкие и небезопасные для здоровья.
Когда нужно извлечь корпус?
Причин для снятия обсадной колонны со скважины по существу всего три:
- Разгерметизация ствола, возникающая из-за дефектных соединений или звеньев обсадных труб ржавчины.
- безнадежно заклинил инструмент или оборудование в багажнике, из-за чего невозможно снять старый насос и установить новый.
- Требуется изменение конструкции трубчатого колодца: углубление экрана трансформационного колодца и т.д.
Остальные случаи не являются причиной для извлечения структуры. Иногда можно спасти положение, установив полимерный вкладыш подходящего диаметра.
Если произошел разрыв на большой глубине, демонтаж просто невозможен.Тогда проще пробурить новый источник, вы потратите кучу денег на восстановление старого.
галерея изображений
Фото
Самый простой способ снять обсадную колонну со скважины, при освоении источника воды. Так бывает, если ствол выпадает невыбуриваемым инструментом или перекручивается. Добыча осуществляется в порядке, обратном установке
Сложнее всего достать землю из старой обсадной, иссякшей скважины. Как правило, ствол в таких ситуациях просто тампонируют — засыпают грунтом, не снимая трубы
Смысл разбирать два верхних корпуса блока есть, если, например, погружной насос застрял в верхней части ствола.При этом трубный хомут фиксируется и протягивается через гидравлический
Если в распоряжении владельцев скважины нет оборудования с гидросистемами, то необходимо воспользоваться блочной конструкцией, которая подключается к механической лебедке
Снятие корпуса в процессе разработки
Демонтаж старой скважины на воду
Разборка двух верхних тяг
Использование блоков в тянущих трубах
Какие факторы следует учитывать?
Обычно скважина бурится на месте на большую глубину, поэтому вынуть ее из обсадной колонны — дело нехитрое.
Прежде чем решиться на такое действие необходимо четко знать ответы на следующие 6 вопросов:
- , изготовленный из кожуха;
- вес продукта;
- насколько глубок его фундамент;
- сколько времени прошло с момента его создания;
- условия эксплуатации;
- , если есть достаточно веская причина, по которой его следует удалить.
Возможно, работы по сносу будут настолько сложными, трудоемкими и затратными в финансовом плане, что рациональность не решает вопрос, как проще и быстрее достать трубу из скважины, и отказаться от идеи в пользу принято решение о новом устройстве источника воды.
Список связанных проблем
В процессе извлечения кожуха из-под земли можно столкнуться с рядом неприятных сюрпризов. Надо заранее подготовиться к тому, что подготовленный блок и лебедка с поставленной задачей не справятся из-за недостаточной тяги. Тогда надо кран заказывать, а это добавит проблем: нужен чек, от чего ландшафт неизбежно пострадает.
Необходимо учитывать время, что трубки могут быть настолько «затянуты» грунтами, что придется снижать коэффициент трения путем сверления отверстий вокруг наконечника и заполнения их большим количеством воды.труба будет легче из влажной земли. Побочный эффект таких действий — вероятность обрушения стен шахты.
При снятии обсадных конструкций обойтись без специального оборудования. Сооружая его прочным настилом из реек или брусков из металлопроката
Извлекаемая трубка недостаточной жесткости. Если он сделан из асбеста, то об углублении его без повреждений не может быть и речи.
Она просто развалится и выйдет на поверхность в виде отдельных осколков и осколки окажутся на дне колодца.Такую мину лучше не использовать повторно, если она удалена из трубы из асбеста, учитывая, что этот материал небезопасен.
Подготовка к демонтажу ствола скважины
Осознавая возможные трудности, необходимо основательно подготовиться к процессу.
Первый этап — определение веса товара, для чего:
- замерил глубину скважины, диаметр трубы, толщину стенки;
- открытой направляющей и, ориентируясь на диаметр и толщину стенки, составляют по массе 1 пог.
м; - умножаем на значение найденной в шахте глубины и получаем искомую массу трубы.
Это значение будет определять выбор лебедки по тяговому усилию. Если фигура получилась солидная, а лебедки с тяговым усилием не существует, единственный выход – заказать кран. При незначительном отклонении расчетных значений подойдет обычная лебедка.
Способы извлечения трубы из скважины
У профессионалов есть свои методы натягивания оболочки: натяжка с последующим обрывом, с возвратно-поступательной промывкой, отжимом.
Способ натяжения экстракционной колонны
Для использования этого метода вам понадобится выдвижная система или домкрат. Сила, возникающая при растяжении, выше критического предела пластичности материала оболочки. Поэтому конструкция может не выдержать и лопнуть.
Алгоритм обработки
следующий:
- Вокруг устья трубы выкопать траншею глубиной около 1 м.
- Надевают хомут на трубу, а к нему прикрепляют тросы, после чего конструкция немного натягивается.

- Зажим, который крепится к кабелю, сдвиньте вниз и повторите те же действия. Обеспечивает плавную тягу.
- Верхняя кромка корпуса растянута до разрыва. Фрагмент извлекают из мины, а остаток захватывают специальным ловильным орудием и процесс продолжают или после замены поврежденного участка ствола кожуха устанавливают на прежнее место.
Вариант
удобен для демонтажа труб большого диаметра и с толстыми стенками.
Извлечь этим методом всю строку практически невозможно. Чаще всего тюбик не пригоден для дальнейшего использования
Если ось скважины имеет вертикальное отклонение, метод извлечения не может быть использован. Для такой сложной работы лучше нанять буровую бригаду.
Похоже на механический захват — хомут, посредством которого фиксируется труба. Процесс извлечения может усложнить выход из строя и заклинивание стояка, поэтому нужно учитывать пластичность материала
Подъемник, используемый для подъема, должен иметь большую грузоподъемность.
Оптимальный вариант – использование домкратов. Следует знать, что рассчитывать на дальнейшее применение восстановленной трубы не приходится.
Метод экстракционной промывки
Если обсадная труба не выходит из-под земли из-за образования песчаной пробки, освободить и снять ее можно достаточно простым способом – промывкой и натяжкой. Для этого понадобится насос со специальным приспособлением для промывки. Давление насоса подключено к верхней трубе.
Давление должно быть минимальным, но достаточным для циркуляции воды.Колонну промывают, и после того, как идет песок, повышают давление. пройтись по корпусу трубы, прокручивая его ротором и встряхивая. Все это делается параллельно с промывкой. Таким образом, уменьшится трение, и колонна будет легче выходить из скважины.
В идеале диаметр трубы может не только закрепить насос вверху, но и опустить вторую колонку в низ. Обратный поток воды начинают, как только край шланга для промывки опускается ниже башмачно-муфтового осадочного столба на 300 см.
Процесс продолжают до полного устранения песка вокруг трубной браги.
Иногда при подъеме трубы на 10 м ее извлечение становится невозможным из-за прочной заглушки. В этом случае выход один — удалять осколки. Отдельно следует остановиться на процессе извлечения трубы.
Сначала на ее корпус наварена арматура отрезка диаметром около 18мм. Этот элемент необходим для того, чтобы закрепить стропы лебедки и начать подъем осциллятора кожуха райзера.
Для подъема необходимо прикладывать вертикально направленную тяговую силу. Для этого в самой верхней точке извлекаемой трубы работают монтажный блок, и трос перемещается через него. При вращении барабана лебедки происходит преобразование крутящего момента в тяговое усилие.
Легкий вес трубки, можно использовать рычаг. Его конец подводят под свариваемую арматуру и, прикладывая давление, медленно вытягивают стояк из земли.
Применение метода разматывания
Использование данного метода позволяет отвинтить элементы обсадной колонны и извлечь их из ствола скважины.
Для применения метода требуется поставка инструментов:
- Рыболовная корона;
- ;
- ;
- Комулятивные торпеды.
ротор
пуансон
В шахту опускается ловильная коронка специальная левая резьба и стальная бурильная труба. ротор вращается через трубу против часовой стрелки.
Сделав примерно 20 оборотов, привести в действие возвратно-поступательный корпус, увеличив нагрузку до максимума. При зацепе трубка не отрезается, а возвратно-поступательная размотка повторяется.В результате этих усилий должны быть откручены неполные соединения.
Устройства для захвата труб, оснащенные спиральными или цанговыми захватами. Диаметр трубы должен быть заготовлен меньшим диаметром кожуха Труболовки
Если резьбу не удалось ослабить даже после ряда циклов, в свою очередь допускается специальный инструмент, усилие вращения которого вызывает колебания трубы за счет трения и крутящего момента, передающего извлекаемый стояк.
Результат: после вращения инструмента 1 для составного часа встряхнуло.На следующем этапе захватывают верхний обод колонки и отвинчивают ее фрагмент. Для извлечения открученной части трубки наружу прикладывают растягивающее усилие. Действие повторяется до тех пор, пока вся колонна не будет разобрана и все ее элементы не окажутся наверху.
Процесс раскручивания
основан на сочетании крутящего момента нагрузки и силы растяжения. Сначала раскручиваем стояк кожуха, а после вынимаем. Что бы колонка обрезалась, крутящий момент и усилие натяжения надо постоянно контролировать
Когда все усилия не увенчались успехом, используйте радикальный метод — нарушение целостности конструкции за счет применения кумулятивных торпед.В результате взрыва на заданной глубине в теле трубы появляются кольцевые вырезы. Остается вырезать отдельные элементы с помощью перфоратора или другого режущего инструмента.
Все эти работы под силу специализированным организациям. Стоимость их немалая, поэтому владельцы загородных самораскрывающихся труб ищут другие способы.
Коммерческое и бытовое оборудование
Для снятия обсадной колонны с глубокой скважины применяется профессиональное оборудование заводского изготовления.
Характеризуется своими номинальными параметрами, такими как давление в МПа, усилие хода — вперед и назад в мс, максимальный крутящий момент кН/м, наибольшая сила зажима или подъема, угол зажима, масса в кг, размеры в мм, диапазон диаметров извлекаемые трубы.
Установка состоит из опорной плиты с установленными на ней стационарным захватом и двумя силовыми гидроцилиндрами, верхней плиты, подвижного захвата, которым зажимается труба
Штоки гидроцилиндров с возвратной комбинированной опорой оборудованы крестовиной, на которую опирается верхняя плита.Для зажима опорной стойки на этой плите имеется специальный подвижный захват. В качестве неподвижных и подвижных губок используются клиновые 3 кулачка, имеющие внутренние вырезы и размещенные в обойме.
Гидравлические цилиндры, подключенные к насосной станции.
В случае аномалии, когда для извлечения трубки недостаточно силы, используется заклинивающее зажимное устройство. Натяжение может быть недостаточным в том случае, когда из-за непредвиденных обстоятельств возникают дополнительные силы трения между телом трубы и стенкой скважины.
Оборудование монтируется на кожухе и зажимной стойке, с помощью подвижного захвата, а затем раскачивается. Подъем равен ходу поршня. Следующий этап — фиксирующая трубка фиксируется захватом, а верхняя пластина возвращается в исходное положение. Трубка удаляется, повторяя эти шаги. В процессе волочения стояка поддерживайте его краном.
При таком оборудовании из земли вырывается кожух, верх которого почти не виден, т.е. K. Настройка низкого срабатывания. Еще одно преимущество механизма – возможность поднимать стальные трубы, которые бывают различными в широких пределах.
Демонтаж части трубы малого диаметра на соответствующем ее оборудовании можно произвести самостоятельно. Для этого потребуются два швеллера для стоек, тросовый барабан, внутренний диаметр подшипника 40 мм, веревочная ручка.
Изготовить две опоры высотой около 1 м и шириной около 0,6 м. Они имеют форму буквы Т в перевернутом виде. В верхней части стоек закрепить подшипник, а через него проходит ось. На оси барабан и закрепленная рукоятка.
Закройте трубку кабеля и начните вращать барабан.Труба постепенно выходит из почвы. Если демонтажу подлежит пластиковое изделие, используйте специальный зажим.
Поскольку вытяжная труба опускается ниже веревки. Когда конструкция имеет значительную длину, используйте специальное приспособление — Chalco, чтобы удержать колонну, переместив трос в новое положение.
Выводы и полезные видео по теме
Видео №1. Автор видео снял процесс снятия кожуха ПВХ трубы:
Видео №2. Инструменты и оборудование для извлечения обсадной колонны:
В зависимости от финансовых возможностей и наличия техники можно использовать любые средства для извлечения трубы.Важно соблюдать осторожность и не пренебрегать безопасностью. Возможно, после всех расчетов вы решите, что лучше заложить новый колодец.
Если пришлось перетаскивать обсадную колонну ствола скважины, расскажите, как удалось ее снять. Делитесь информацией, которую могут использовать посетители сайта в подобных ситуациях. Пожалуйста, пишите комментарии, задавайте вопросы, оставляйте посты со своим мнением о предложенных контактных материалах и фотографиях.
38.Убедитесь, что ваша скважина построена правильно | |
Некоторые проблемы со строительством скважин очевидны, например Чтобы не допустить попадания поверхностных вод в колодец, обсадная колонна должна выступать на | |
| Также, убедитесь, что кожух вокруг колодца изготовлен из надлежащих материалов.Стальная труба чаще всего используется в скважинах малого диаметра, поскольку она выдерживает напряжение во время установки, давление окружающего грунта и коррозионные почва и вода. Тем не менее, термопласт становится все более популярным. Если почва особенно агрессивна, можно использовать нержавеющую сталь. ![]() Обсадную трубу больших буровых скважин иногда делают из бетона или бетона. стекловолокно. | |
| Есть обычно представляет собой зазор между стенкой пробуренной или пробуренной скважины и снаружи корпуса.Затирка должна быть помещена в этот зазор или поверхностные загрязняющие вещества будут двигаться прямо вниз по стенке корпуса и в ваши подземные воды. Также все места, где находится электропроводка, трубы, или оборудование для наблюдения, входящее в колодец, должно быть надлежащим образом опломбировано. | |
| А градуированный уклон вокруг устья скважины отводит поверхностные воды от в непосредственной близости от колодца, что снижает вероятность загрязнения. | |
| Вы должен дезинфицировать ваш колодец каждый раз, когда система открывается для ремонта или новый установлен. Как правило, подрядчик по скважине или насосустановщик несет ответственность за то, чтобы все было сделано правильно. | |
| Когда вы проверяете существующую скважину на правильность строительства, это помогает, если у вас есть журнал скважин — запись, которую ведет бурильщик.Если ни у вас, ни у бурильщика нет каротажа, уточните в Геологическая служба штата Иллинойс или Служба водных ресурсов штата Иллинойс. Брать журнал в местный Департамент здравоохранения, и они должны сможет сказать вам, соответствует ли ваш колодец современным строительным стандартам. | |
| Наконец, при осмотре существующей скважины важно учитывать тип хорошо у вас есть.Есть три основных типа: скважины с песчаной точкой; вырытые или буровые колодцы большого диаметра; и скважины глубокого бурения. | |
| Песчаная точка колодцы, вероятно, наиболее уязвимы для загрязнения, потому что они неглубокие — обычно менее 40 футов в глубину. Кроме того, они используются в районах с высокопроницаемыми песчано-гравийными водоносными горизонтами. Но они не так широко распространены на Среднем Западе, как два других типа. скважин. | |
| Большой диаметр вырытые или пробуренные колодцы также особенно уязвимы для загрязнения из источников вблизи колодца из-за их конструкции и, как правило, неглубокого глубина. | |
| Глубокое сверление колодцы часто не считаются уязвимыми к загрязнению из неточечных источников. источники загрязнения.Тем не менее, оцените глубину до водоносного горизонта, чтобы получить представление о риске. Также многое зависит от полнотелости скважины.кожух, защищающий от неглубоких грунтовых вод. Если только несколько футов глубокая скважина обсажена, возможно просачивание неглубоких грунтовых вод. Неглубокие грунтовые воды могут нести загрязнения. | |
Инструмент для извлечения труб из скважины 1,25–6 дюймов
Технические характеристики:
Материал корпуса: Нержавеющая сталь
Материал собачки: Инконель
Совместимая труба: Самая жесткая труба
Минимальный размер отводной трубы: 1.25 дюймов, Sch50
Максимальный размер отводной трубы: 6 дюймов, Sch50
Минимальный размер корпуса колодца: 3 дюйма, Sch50
Грузоподъемность: Более 1000 фунтов
Применений:
The Fetch — идеальное решение для большинства ситуаций, связанных с извлечением воды из колодца.
Было показано, что Fetch работает с ПВХ, оцинкованной, нержавеющей сталью, стекловолокном, кабелепроводом и даже полиэтиленовыми трубами. Благодаря уникальному дизайну Fetch работает с определенным набором наружных корпусов и отводных труб.Существует 3 разные модели Fetch. Убедитесь, что вы выбрали правильную модель для своего приложения.
Для успешного извлечения нужно учитывать несколько факторов. Fetch лучше всего работает в прямолинейной обсадной колонне. Если обсадная труба наклонена или повреждена в результате природных явлений, таких как обвал или землетрясение, может оказаться невозможным отрегулировать правильный угол для извлечения трубы. Если насос упал на дно колодца, в некоторых случаях он мог застрять в камне, грязи или даже песке.Еще одна вещь, которая может помешать Fetch извлечь трубу, — это провод насоса. В случае, если проволока скопилась в верхней части скважинной трубы, которую вы пытаетесь извлечь, она не сможет надежно прикрепиться к трубе.
Операция:
1. Определить глубину колодца. Используйте отрезок веревки или троса для подъемной линии, достаточный для того, чтобы достать до дна колодца. Убедитесь, что прочность на растяжение троса соответствует требованиям, необходимым для извлечения.Вторичная веревка или шпагат такой же длины понадобятся для линии освобождения.
2. Надежно привяжите шнур к большому отверстию в верхней части Fetch. Линия выпуска привязана к одному из меньших отверстий на механизме выпуска.
3. Проверяйте устройство Fetch при каждом использовании, перемещая спусковой механизм вперед и назад. Он должен двигаться легко, без заеданий. При наличии значительного сопротивления проверьте инструмент на наличие каких-либо препятствий или отложений, которые могут помешать его правильной работе.
4. Держите шнур извлечения и шнур разъединения, чтобы предотвратить спутывание. Fetch не будет работать должным образом, если линии запутаются. Удерживая извлекающую линию или прикрепив ее к внешней опоре снаружи скважины, опустите Fetch вниз по стенке обсадной колонны.
Потяните за основную веревку, чтобы восстановить объект. Для этого может потребоваться несколько попыток в разных точках обсадной колонны (см. схему).
-Полезный совет: Разорванные патрубки обычно находятся на боковой стенке кожуха.Попытки сдвинуть его с разных точек вдоль боковой стенки принесут больший успех, чем опускание по центру.
Если Fetch не тянет трубу или застревает, ослабьте извлекающую линию и потяните вверх линию освобождения. Это снижает нагрузку на собак и позволяет восстановить Fetch.
Сброс собачек и направляющих:
Чтобы сбросить собак, слегка постучите обеими сторонами по твердому предмету. НЕ УДАРЯЙТЕ СИЛЬНО.
Вам нужно только сбросить их примерно на 1/32 дюйма.При их сбросе ползунки должны двигаться свободно. Если нет, повторяйте, пока слайды не освободятся.
Если собаки уходят слишком далеко, подклиньте ноги куском трубы, чтобы открыть их шире.
Подъем и опускание насоса
Замена неисправного погружного насоса требует тех же инструментов и методов, что и установка нового насоса с нуля, за исключением того, что сначала нужно поднять старый.
Информация, которую вы получите здесь, основана на работе по замене насоса, которую я выполнил в скважине глубиной 143 фута, пробуренной в нашем сельском доме.Это типичная установка, и она позволяет вам увидеть как снятие, так и замену стороны этой работы. Будь то подъем или опускание подводного аппарата, этот процесс включает в себя две вещи: самодельный инструмент, сделанный из оцинкованной стальной трубы, и обычный фитинг для водяных колодцев, называемый безамбарным адаптером.
ТЕХНИЧЕСКИЙ СОВЕТ: переносные топливные насосы
Портативность и производительность – главные достоинства водяных насосов с бензиновым двигателем. Хотя они не подходят для прямого питания обычной бытовой системы водоснабжения, они идеально подходят для наполнения переносных резервуаров для воды, для ручного орошения, для осушения затопленных территорий и даже для наполнения приподнятых резервуаров для воды для использования в домашнем хозяйстве с самотечной подачей воды.
водная система.Хотя большинство моделей построены на основе относительно тяжелых 4-тактных двигателей, мой маленький 2-тактный насос ECHO весит менее 15 фунтов. но может заполнить 200-галлонный резервуар для воды чуть более чем за десять минут. Это был отличный исполнитель на протяжении многих лет. Такой насос сделает вас героем, если ваш район подвергнется затоплению, в результате которого останутся затопленные подвалы и перебои в подаче электроэнергии. Просто вставьте всасывающую линию в подвал через окно, заправьте насос, когда он находится снаружи, затем запустите его и наблюдайте, как вода хлынет наружу.
Представьте себе металлический сантехнический отвод, который раздвигается внутри колодца на две части. Это адаптер без ямок. Горизонтальная половина стационарно монтируется через отверстие, просверленное в боковой части металлического кожуха колодца, выходя из кожуха под землей, ниже линии замерзания, если в вашем регионе бывает холодная погода. Другая половина адаптера соединена с гибкой трубой, которая проходит на дно скважины, где находится насос. Адаптер без ямок имеет отверстие с резьбой для рукоятки в верхней части, которое принимает трубную резьбу 1 1/4 дюйма.Подробнее об этом позже.
При монтаже насоса подвижная часть безканального адаптера скользит вниз, зацепляясь с неподвижной половиной фитинга, закрепленного болтами через обсадную колонну, создавая водонепроницаемое соединение под углом 90º. Снятие насоса и водовода включает в себя отделение скользящей части переходника без приямка, потянув его вверх и из колодца. Это то, для чего вам нужен этот самодельный инструмент.
Этот инструмент состоит из стальной водопроводной трубы с резьбой диаметром 1 1/4” длиной шесть футов, с тройником сверху и двумя рукоятками. Нижний конец инструмента ввинчивается в отверстие в верхней части безамбарного адаптера, что позволяет вытягивать его и трубу, а также накачивать и извлекать из скважины. Вытягивание существующей установки вверх и вниз — тяжелая работа в глубоком колодце, потому что полиэтиленовая труба заполнена водой.
Получить некоторую помощь.
Надежность по дизайну
Извлечение вышедшего из строя погружного насоса преподаст много уроков, и одна из самых удивительных — это причина, по которой многие погружные насосы вообще перестают работать. Это не обязательно связано с тем, что двигатель выходит из строя (хотя это, безусловно, может произойти), но часто из-за того, что изоляция на проводах стирается из-за повторяющихся движений и трения о внутреннюю часть металлического кожуха скважины или стенки самой скважины.
Каждый раз, когда насос останавливается и запускается, поскольку он свисает с конца пятидесяти, ста или двухсот футов трубы, вся установка раскачивается в ответ на крутящий момент двигателя. Стоп, старт, тереть, тереть. После многих лет такого действия изоляция провода истончается, либо ломается, либо обнажается оголенная медь, что приводит к короткому замыканию, препятствующему работе насоса.
Другая распространенная проблема также связана с крутящим моментом двигателя.
Со временем повторяющееся усилие скручивания при запуске двигателя может привести к тому, что резьбовые фитинги в верхней части насоса будут скручиваться все туже и туже, обматывая провода вокруг полиэтиленовой трубы до тех пор, пока они не сломаются. И если всего этого недостаточно, существует постоянная опасность коррозии и выхода из строя обжимных проводных соединений во влажной среде глубоко в колодце. Это типичные слабые места в установках погружных насосов, и это именно то, где моя особо тщательная процедура установки отличается от того, что обычно делается.Но прежде чем я расскажу вам подробности, вам нужна некоторая техническая информация.
Физика перекачки воды
Погружные насосы, струйные насосы и поршневые насосы являются тремя наиболее распространенными электрическими вариантами для подачи воды под давлением в бытовую систему, и каждый из них имеет свои сильные и слабые стороны. Чтобы понять почему, сначала нужно осознать два важных факта о физике воды.
Во-первых, вода не может быть извлечена за счет всасывания из чего-либо глубже, чем примерно 22 фута.Второй факт заключается в том, что водяные насосы не могут перемещать воздух. Вот почему для некоторых насосов требуется процесс, называемый заливкой.
Заполнение включает часто хлопотную работу по заполнению водозаборных труб и корпусов насосов водой перед эксплуатацией, а заполнение может быть одной из самых сложных частей приведения системы водоснабжения в действие. Водяные насосы не могут качать воду через пустую трубу, потому что эти насосы не предназначены для перемещения воздуха. Как вы увидите позже, необходимость заливки также важна для выбора помпы.
Чем ниже уровень воды находится ниже поверхности земли, тем сильнее требуется всасывание внутри трубы, чтобы тянуть эту воду вверх против силы тяжести. Когда для забора воды требуется общий вертикальный подъем чуть более 20 футов или более, вакуум внутри трубы становится настолько большим, что вода закипает при обычной комнатной температуре.
Вы не заметите этого кипения, но оно все равно происходит во впускной трубе. Все, что вы увидите, это то, что ваш насос не может поднимать воду с этих глубин, потому что насосы не могут перемещать испарившуюся воду (точно так же, как они не могут перемещать воздух).Как бы хорошо ни был заправлен насос, он просто не будет работать. Глубина воды под поверхностью имеет решающее значение, поскольку она определяет тип насоса, который вы можете использовать для подачи проточной воды в ваш дом, и способ его настройки.
Погружные насосы дороже обычных струйных насосов, но они работают лучше по двум причинам. Поскольку они устанавливаются ниже уровня воды, их не нужно заливать. Подводные аппараты также могут работать с большой глубины. Поскольку они никогда не всасывают воду, а всегда выталкивают ее вверх, проблем не возникает.
Значит ли это, что погружные насосы — единственный способ получить воду из колодца, где статический уровень воды находится более чем на 20 футов ниже поверхности? Нет.
Струйные насосы также могут быть сконфигурированы для забора воды как с больших, так и с малых глубин. Струйный насос получил свое название от части, называемой «струей». Это своего рода носовая часть, которая прикручивается болтами к передней части помпы, когда она новая. Если вы забираете воду с высоты менее 20 футов по вертикали, вы просто устанавливаете одну водозаборную трубу на конец струи и спускаетесь в колодец.Если вы черпаете воду с высоты более 20 футов, из струйного насоса выйдут две трубы, а не одна.
Начните с отвинчивания форсунки с передней части насоса в качестве первого шага в изменении конфигурации для работы на глубине более 20 футов. Установите два резьбовых фитинга на переднюю часть насоса, где раньше была форсунка, затем соедините форсунку с насосом двумя трубками. Следующее видео показывает, как струйный насос может быть сконфигурирован для работы в мелководном режиме с одной трубой или в глубоком режиме с двумя трубами.
ВИДЕО: Установка мелководного и глубоководного струйного насоса
Эффективное удаление обсадной колонны при ликвидации скважин
Операции по ликвидации скважин представляют собой чистые затраты для оператора без возврата их затрат. Однако для управления будущими обязательствами эти действия имеют решающее значение. Их правильное выполнение предполагает детальное планирование. В соответствии с передовой практикой в стволе скважины устанавливается постоянный барьер из качественной покрывающей породы, а все трубчатые элементы погружаются в цемент.В этом заключается основная проблема ликвидации скважин; Кольцевая изоляция иногда нарушена или отсутствовала с самого начала (например, подводные скважины). Решение этих проблем изоляции кольцевого пространства приводит к дополнительным шагам в процессе ликвидации скважины, что приводит к дополнительным затратам времени и денег для оператора.
В этом документе обсуждаются проверенные на практике экономичные решения для удаления обсадной колонны, в том числе уменьшение занимаемой поверхности или предоставление решения за одну операцию, которое снижает общую стоимость операции.В нескольких примерах будут освещены различные проблемы, решенные с помощью новых идей и комбинации наземных систем и скважинного оборудования.
История болезни 1: 13⅜ дюйма. обсадную колонну, частично застрявшую в скважине, необходимо удалить, единичная операция разрезания и извлечения не увенчалась успехом, а фрезерование было невозможно из-за неглубокого/слабого пласта и проблем с эквивалентной плотностью циркуляции (ЭЦП). Усовершенствованная технология фрезерования позволила сделать 30 разрезов обсадной колонны за один проход на коротких участках, что позволяет свободно вытягивать каждую секцию, используя тяговое усилие буровой установки, при минимальных операциях с поверхностью.Практический пример 2. Ограничения по грузоподъемности платформы или тяговому усилию часто приводят к сложным операциям по снятию обсадной колонны для извлечения щелей и/или окончательной ликвидации скважины. Применение силы протяжки в скважине за счет закрепления в обсадной колонне большего размера и использования давления насоса вместо избыточного натяжения позволяет освободить трубу с ограниченными поверхностными характеристиками. Будут показаны несколько примеров, в том числе сэкономленное время.
Практический пример 3: Операции по удалению проводника с платформы могут быть очень сложными, если тип соединителей не может выдержать полную нагрузку на проводник с внутренними колоннами обсадных труб.Решение без буровой установки, выполняющее одновременные операции с основной буровой установкой с использованием расходуемой обсадной колонны для подъема со дна, стало экономически эффективным решением.
Практический пример 4: Удаление проводников с платформы, где проводники были ранее обрезаны и теперь находятся в толще воды, представляет собой проблему другого рода. Ограниченный размер платформы привел к решению для подъема обсадной колонны с помощью направляющих тросов, которые безопасно и экономично извлекают проводники из-под коренной линии без привлечения самоподъемной буровой установки.Руководство по выбору «что теперь делать» в конце документа содержит обзор различных доступных решений, в зависимости от объема скважинных работ и возможностей поверхности.
4. Скважины малого диаметра
4.
Скважины малого диаметра
4.1 Буровые или шнековые колодцы
4.2 Забивные колодцы
4.3 Струйные колодцы
4.4 Гидравлические
перкуссия (также методом полого стержня)
4.5 Перкуссия
(также метод тросового инструмента)
4.6 Гидравлический поворотный
4.7 Корпус и решетки
4.8
Методы получения вертикальных возвратно-поступательных движений
4.9 Канат
4.10 Разработка скважин
и отделка
4.11 Решение проблем
Этот метод земляных работ заключается в стружке или резке материала со дна скважины вращением цилиндрического инструмента с одной или несколькими режущими кромками. Этот процесс аналогичен сверлению отверстия в дереве или металле с помощью бура или дрели.Вынутая земля обычно подается вверх и содержится в корпусе шнека, где она остается до тех пор, пока шнек не опорожняется. Шнек вращается, поднимается и опускается с помощью вертикального вала, который проходит вверх от шнека до удобной точки над уровнем земли, из которой он может вращаться.
Вращение часто осуществляется с помощью силы человека, прилагаемой к рукоятке, прикрепленной к вертикальному валу. Однако шнек может приводиться в действие другими источниками энергии, такими как энергия животных или двигатель.В этом случае источник питания приводит в движение горизонтальный зубчатый венец. Два выступа, отходящие вверх от зубчатого венца, приводят в движение стержень, известный как «келли», который проходит по диаметру кольца. Квадратная часть вала шнека проходит через квадратное отверстие в центре ведущей штанги, что заставляет вал шнека вращаться вместе с ведущей штангой, обеспечивая при этом свободу в вертикальном направлении.
Каждый раз, когда шнек заполняется выкопанным материалом, его необходимо вынимать из ямы для опорожнения. Для этого вал шнека должен быть разделен на секции, которые можно отсоединить и отложить в сторону.
Несколько типов шнековых буров успешно используются для бурения скважин (рис. 3). Цилиндрический ковшовый шнек представляет собой цилиндр из листового металла с креплением для вала шнека в верхней части.
Дно имеет спиральную форму с одной режущей кромкой. Он может быть закреплен на петлях и защелкиваться, чтобы его можно было открыть для опорожнения. Двухлопастной шнек состоит из двух цилиндрических лопастей, прикрепленных к валу шнека. Лезвия обрезаны и изогнуты в нижней части, образуя режущие кромки. Этот тип шнека часто используется для бурения отверстий под столбы.
Рис. 3. Земляные буры. (а) цилиндрический ковшовый шнек
Рис. 3. Земляные буры. б) бур двухлопастный
Рис. 3. Земляные буры. (в) винтовой бур
Рис. 3. Земляные буры. (d) трубчатый шнек
Земляной шнек третьего типа (рис. 4) имеет спиральную форму. Этот тип шнека обычно имеет две режущие кромки, одна из которых установлена на передней кромке спирали.Продается в промышленных масштабах для бурения отверстий или посадки деревьев.
Четвертый тип «шнекового» устройства (рис. 5 и 6) использовался автором на вязких или тяжелых глинистых почвах, где обычные шнеки с режущими кромками не работали должным образом. Он состоит из куска трубки или трубы с прорезью, нижний конец которой имеет зубчатую форму и расширяется. Верхний конец крепился к обычному валу шнека. Этот шнек поочередно трамбуется вниз, а затем вращается. Движение вниз заставляет почву выталкиваться внутрь шнека, где она прилипает, а вращение отрывает эту почву от дна отверстия.Небольшое количество воды может поддерживаться на дне отверстия для смазки.
Большинство типов шнеков хорошо работают на самых разных почвах. Используемый тип может во многом зависеть от того, что можно получить или построить на месте. При выборе или строительстве шнека следует соблюдать несколько принципов:
— режущие кромки или кромка должны иметь диаметр, немного превышающий диаметр корпуса шнека над ними, чтобы шнек не волочился по бокам отверстия
— режущие кромки должны быть расположены под углом таким образом, чтобы только режущая кромка, а не поверхность за ней, соприкасалась с обрабатываемой поверхностью; это улучшает проникновение и уменьшает сопротивление
— по мере увеличения отношения высоты к диаметру шнека прямолинейность отверстия имеет тенденцию к увеличению (т.
е. высокий шнек малого диаметра имеет тенденцию просверливать более прямое отверстие, чем короткий шнек большого диаметра)
— корпус шнека должен удерживать вынутый материал до тех пор, пока шнек не будет извлечен из отверстия для опорожнения. Мелкодисперсный материал имеет тенденцию вытекать из шнека, если отверстия слишком велики. При достижении уровня грунтовых вод шнеки обычно не могут удерживать шлам, и углубление скважины должно осуществляться одним из других описанных способов. \
Рис. 4 Спиральный шнек местного производства, прикрепленный к удлинителю трубы
Рис. 5 Цилиндрический «шнек» местного производства, используемый на липких грунтах
Сверление осуществляется трамбовкой вниз с последующим закручиванием. Зубья шнека должны быть развальцованы наружу, чтобы обеспечить зазор между шнеком и отверстием. Инструмент меньшего размера предназначен для очистки шнека от уплотненной почвы.
Рис.
6 Цилиндрический шнек с удлинителем трубы и прикрепленной ручкой
Штатив используется для поддержки шнека во время бурения.
Буры обычно не могут пробить камень. Однако тонкие слои или небольшие кусочки камня иногда можно измельчить или сместить и удалить с помощью ударной насадки или спирального шнека («бараньего рога»), сделанного из стального стержня по форме похожего на штопор. Если камень можно пробить или удалить, бурение можно продолжить. В противном случае необходимо попробовать другой процесс или новое местоположение.
Необходимость опорожнять шнек каждый раз, когда он заполняется, накладывает некоторые практические ограничения на глубину отверстий шнека.Поскольку секции вала шнека необходимо разъединять каждый раз, когда шнек опорожняется, время, необходимое для опорожнения, увеличивается с глубиной отверстия. Чтобы свести к минимуму количество соединений, длина вала шнека или «удлинителей» должна быть максимально возможной. Часто шнековые валы изготавливаются из отрезков водопроводной трубы длиной от 6,1 до 6,4 метра (20-21 фута).
Удлинители (рис. 7 и 8) могут быть соединены с помощью гнезда, прикрепленного к верхней части каждого из них. Нижняя часть следующего удлинителя вставляется в эту муфту и удерживается там шпилькой через гнездо.Обычные трубные муфты с резьбой не обеспечивают удовлетворительного соединения, так как они изнашиваются при длительном использовании. Необходима подвесная конструкция определенного типа для устойчивости длинных удлинителей и обеспечения их вертикального положения во время операции бурения. К этой конструкции также удобно прислонять растяжки, когда они расцеплены. Накладная конструкция для закрепления и направления надставок может состоять из треноги с поперечиной между двумя ногами (рис. 9 и 10) или из двух вертикальных стоек, вкопанных в землю с поперечиной между ними.Рукоятка или другое устройство для вращения вала шнека должно быть сконструировано таким образом, чтобы его можно было установить в любой точке вдоль удлинителей, чтобы его можно было поддерживать на подходящей рабочей высоте (Рисунок 11).
Рис. 7 Удлинитель шнека и рукоятка
Рис. 8 Муфта для удлинителей шнека изготовлена из трубы большего размера и приварена к верхней части удлинителя.
Следующий удлинитель крепится болтом 10 мм. Во время соединения или разъединения нижняя часть муфты опирается на доску с насечками.Короткая часть стержня вставляется для предотвращения случайного падения удлинителя в отверстие.
Рис. 9 Тренога, используемая для поддержки длинных удлинителей шнека во время бурения
Рис. 10 Тренога, используемая для поддержки длинных удлинителей шнека во время бурения
Рис. 11 Бурение винтовым шнеком
Рис. 12 Лезвие для расширения отверстия, прикрепленное к верхней части шнека
После того, как примерное место скважины выбрано, можно установить подвесную опору и определить точное местоположение, подвешивая отвес к направляющей подвесного шнека.
Затем можно выкопать небольшую стартовую яму для шнека. Важно, чтобы стартер шнека располагался как можно ближе к вертикали.
Самая глубокая скважина, хорошо известная автору, составляет примерно 38 метров (125 футов). Этот колодец был пробурен бригадой рабочих, которым платили по счетчику, и это было пробурено по очень разумной цене. Однако при других экономических условиях практический предел ручного сверления может быть меньше. Когда бурение становится слишком медленным, может быть более практичным продолжить использование другого метода.
Некоторые землеройные буры могут быть оснащены лезвием для расширения скважины до нужного диаметра (Рисунок 12). Бурение разведочной скважины перед рытьем скважины большого диаметра также может быть хорошей инвестицией в условиях неопределенности.
Забивной колодец состоит из остроконечной перфорированной трубы или трубы с остроконечным колодезным экраном, которая пробурена в водоносный горизонт. Труба с заостренным колодезным экраном вбивается на место почти так же, как гвоздь вбивается в дерево.Обычно для сопротивления движущим силам используются специальные трубы с толстыми стенками и муфты специальной конструкции. При подходящих условиях этот метод может дать готовую скважину за очень короткое время. Несмотря на то, что диаметр скважины обычно невелик, а дебит относительно низок, несколько приводных скважин могут быть соединены вместе и перекачиваться одним насосом. Поскольку забивные колодцы строятся быстро, их можно использовать в качестве временного источника воды, а затем выкапывать, когда они больше не нужны. Забивные колодцы могут быть установлены и использованы для осушения котлована во время строительства.В отличие от других методов строительства скважин, материал просто оттесняется в сторону, а не извлекается в процессе проходки. Это означает, что мало что известно о материале, через который проходит скважинная труба. Однако такой тип скважины можно использовать в разведочных целях для определения статического уровня воды и скорости притока по сравнению с понижением. Этот процесс не может проникнуть в твердые образования. За исключением непроницаемых пластов глубина, на которую может быть пробурена такая скважина, зависит от нарастания трения между трубой скважины и пробуриваемым материалом и передачи усилия шуруповерта по длине трубы.От двадцати пяти до тридцати метров (80-100 футов), вероятно, будет максимум. Забивной колодец можно было использовать для завершения ямы, выкопанной до уровня грунтовых вод каким-либо другим методом, например с помощью бура.
Движение обычно осуществляется путем поочередного подъема и опускания груза, используемого в качестве привода (рис. 13). Водитель направляется либо по внутренней, либо по внешней стороне трубы, заставляя ее ударять прямо и точно. Если отвертка предназначена для удара по верхнему концу трубы, на резьбу навинчивается заглушка для ее защиты.В качестве альтернативы привод может быть спроектирован так, чтобы ударять по зажиму, сделанному для этой цели снаружи трубы. Также можно использовать длинный тонкий драйвер, который помещается внутрь трубы и ударяет по плоской поверхности внутри точки скважинного фильтра. Этот последний метод устраняет сжимающую нагрузку на трубу, обычно вызываемую забивкой, и делает ненужной тяжелую забивную трубу.
Рис. 13 Устройства для проходки скважин. (a) направляется снаружи трубы
Рис.13 Устройства для проходки скважин. б) с направляющей внутри трубы
Рис. 13 Устройства для проходки скважин. в) проходка на зажиме
Рис. 13 Устройства для проходки скважин. (d) проезд внутри точки
Экраны колодца для проходки должны иметь достаточную прочность, чтобы противостоять силам, создаваемым водителем, и истиранию материала, через который они проходят. Один распространенный тип (рис. 14а) состоит из перфорированной приводной трубы с наконечником.Перфорированный участок трубы оборачивают слоем латунного экрана нужной крупности, а экран защищают от повреждений, оборачивая его слоем перфорированного латунного листа. Оба слоя припаяны к трубе. Другой тип скважинного экрана (рис. 14b) изготавливается путем намотки трапециевидного стержня по спирали вокруг набора круглых продольных стержней, расположенных по кругу со сваркой всех пересечений. Преимущество этого типа сита состоит в том, что он имеет высокий процент открытой площади и форму щели, которая не может быть забита мелкими частицами песка.
Рис. 14 Точки привода и экраны. (а) перфорированная труба с экраном
Рис. 14 Точки привода и экраны. (б) спиральная трапециевидная проволока
Точка привода может быть изготовлена на месте из трубы (рис. 15). Острие делается путем: (i) сплющивания конца трубы до постепенного сужения, подобного рабочему концу отвертки или холодного долота; (ii) вырезание V-образного надреза от углов уплощенного конца до точки в середине трубы рядом с началом конуса; (iii) объединение двух полученных точек в одну точку; (iv) сварка двух сторон острия вместе; и (v) опиливание или шлифование любых неровностей для получения гладкой точки.При отсутствии сварочного оборудования точку можно припаять или приварить. Над точкой следует приварить или приклепать хомут, чтобы увеличить размер отверстия до диаметра, немного большего, чем у используемых трубных муфт. В качестве альтернативы наконечник может быть выкован из твердой стали и приварен или приклёпан к концу трубы. В этом случае следует позаботиться о том, чтобы сделать буртик на задней части наконечника, который достаточно точно упирается в конец трубы, и сделать наибольший диаметр наконечника больше, чем у трубных муфт, чтобы обеспечить зазор.
Рис. 15 Привод изготовлен из трубы. (a) формовочная точка на конце трубы
Рис. 15 Приводная точка изготовлена из трубы. (b) альтернативные перфорации и точки
Перфорации можно сделать, просверлив отверстия нужного размера или сделав серию коротких диагональных надрезов ножовкой (рис. 15b). В любом случае в трубе должна быть сохранена достаточная прочность, чтобы можно было вести ее. Лучше всего это можно обеспечить в случае распила, оставив несколько продольных полос неперфорированными.Если сделаны перфорации большего размера и закрыты экраном из нужной сетки, припаянной вокруг трубы, экран должен быть защищен от разреза или зачистки: (i) обертывание и пайка листового металла с крупными отверстиями вокруг него и (ii) наличие наружный диаметр больше наружного диаметра сита либо на острие, либо на хомуте, прикрепленном к трубе под ситом.
Если попытаться загнать с помощью обычных труб и муфт, вероятно, произойдет срезание или срывание трубной резьбы или разрыв трубы в местах резьбы.Следует отметить, что резьба на трубе стандартного веса прорезает более половины толщины стенки, что значительно снижает прочность трубы в месте нарезки. Приводная труба и муфты, кроме того, что они тяжелее стандартных труб, сконструированы таким образом, что концы труб соединяются встык внутри муфты. Это приводит к тому, что большая часть движущей силы передается концами трубы, а не резьбой. Кроме того, муфты часто длиннее обычных муфт с отверстием на каждом конце, которое проходит назад над нерезьбовыми частями трубы, чтобы обеспечить боковое усиление более слабым резьбовым концам.
Если приводная труба и муфты недоступны, можно использовать несколько методов для повышения прочности обычной трубы. Эти могут позволять использовать обычные трубы для забивных скважин, если соблюдать осторожность:
я. Если имеется подходящая скважинная точка, забивка может выполняться внутри скважинной точки, а не в верхней части трубы.
ii. Если забивка должна производиться вблизи верхней части трубы, это следует делать с помощью хомута вокруг внешней стороны трубы, а не на самом конце трубы.
iii. Нагрузку на резьбу можно уменьшить одним из следующих способов:
— установка резьбонарезной головки дальше по трубам, чтобы концы труб можно было соединить встык в центре муфты;
— размещение короткого хомута внутри муфты для прилегания обоих концов трубы встык;
— манжеты приварные к наружной стороне трубы, прилегающие встык к концам муфты.
В этом методе используется высокоскоростной поток воды для выкапывания ямы и выноса извлеченного материала из ямы.Поэтому для этого требуется какой-либо тип насоса, с двигателем или с ручным приводом, разумной мощности, а также запас воды. Можно разделить воду и извлеченный материал в отстойнике или резервуаре и повторно использовать воду, минимизируя тем самым требуемое количество. Поскольку этот метод основан на эрозионном действии воды, очевидно, что чрезвычайно твердые материалы не могут быть проникнуты. Тем не менее, полужесткие материалы могут быть пробиты комбинацией гидравлических и ударных воздействий.Это достигается путем поднятия и опускания струйного долота с долотообразным краем. Крупные материалы, такие как гравий, требуют большей скорости воды для вертикального перемещения из скважины, чем более мелкие материалы. Однако очень мелкие, плотно упакованные материалы, такие как глина, требуют высокой скорости воды для их вытеснения. Рекомендовано давление воды 3 кг/см 2 (40 фунтов на кв. дюйм) для песка и 7-11 кг/см 2 (11-150 фунтов на кв. дюйм) для глины или гравия. При хороших условиях бурение происходит очень быстро.
Используются две основные схемы:
(1) Вода закачивается по струйной трубе или трубе, которая используется внутри временной или постоянной обсадной колонны (рис. 16а). Выемка материала струей воды обеспечивает опускание обсадной колонны и вынос вынутого материала вверх из скважины через кольцевое пространство между промывочной трубой и обсадной трубой. Вращение кожуха и нарезание зубьев на его нижней кромке увеличивает скорость спуска. Если обсадная труба, утопленная во время гидромониторной операции, является временной, последняя обсадная труба с прикрепленным к ней экраном опускается внутрь временной обсадной колонны, которая затем извлекается из скважины домкратом.В качестве альтернативы постоянная обсадная труба может быть утоплена во время операции гидромониторинга. В этом случае экран скважины опускается внутрь обсадной трубы, а затем обсадная труба поднимается достаточно высоко, чтобы экран скважины подвергался воздействию водоносного горизонта.
(2) Водоструйная обработка может быть выполнена путем закачивания воды вниз через саму обсадную колонну, при этом вынутый грунт поднимается вверх через кольцевое пространство снаружи обсадной колонны (Рисунок 16b). Если струйная обработка прерывается до того, как обсадная труба будет погружена на всю требуемую глубину, так что взвешенный материал оседает вокруг нее, могут возникнуть трудности с повторным запуском процесса промывки.Когда используется обсадная труба с открытым концом, фильтр скважины затем опускают, а обсадную трубу слегка приподнимают, чтобы обнажить фильтр скважины. В качестве альтернативы можно использовать колонну обсадных труб со специальной самоизливающейся точкой на конце скважинного фильтра. Струйное отверстие на конце колодезного экрана закрыто обратным клапаном, который удерживается на своем седле либо за счет плавучести, либо с помощью пружины, когда он не удерживается в открытом состоянии давлением струйной воды. В некоторых случаях меньшая ветвь трубы проходит через внутреннюю часть кожуха и экрана и ввинчивается в верхнюю часть струйной точки.Труба используется для передачи струйной воды от насоса к точке без утечки через экран. После операции промывки эта труба откручивается и снимается.
Верхний шкив или лебедка облегчают перемещение обсадных и водоструйных труб. В некоторых случаях может быть желательно забивать обсадную колонну с интервалами, как описано в других разделах.
Рис. 16 Промывка скважины. (а) с использованием гидромониторной трубы
Рис. 16 Гидродинамическая обработка скважины.(б) промывка в корпусе
В этом методе скважина остается наполненной водой, а выемка осуществляется сочетанием механического и гидравлического воздействия (Рисунок 17). Режущее долото с долотообразной кромкой прикреплено к нижней части колонны бурильных труб. Полое долото имеет впускные отверстия на небольшом расстоянии от его режущей кромки. В процессе бурения бурильную трубу попеременно поднимают и опускают. Давление из-за удара режущего долота о дно скважины и инерция воды вызывают попадание смеси воды и шлама во входные отверстия режущего долота.Это приводит к переполнению уже заполненной бурильной трубы. Обратный клапан в режущем долоте предотвращает вытекание смеси воды и шлама из отверстий при поднятии бурильной колонны. Шлам может быть осажден из воды в бассейне или бочке после того, как смесь переливается из бурильной трубы, а затем вода может быть использована повторно. Гидравлический удар ограничивается бурением относительно мелких материалов, поскольку крупные материалы не поднимаются на поверхность через бурильную трубу. Этот метод применялся на глубинах более 900 метров (3000 футов) в аллювиальных районах, где не встречались ни твердые породы, ни грубые породы.
Вариант этого метода традиционно используется в различных частях Азии. В традиционном методе обратный клапан заменяется рукой одного из бурильщиков, который перекрывает верхнюю часть трубы при ходе вверх и убирает руку при ходе вниз, чтобы обеспечить перелив. В традиционном методе полая бурильная штанга, а также обсадная труба могут быть изготовлены из бамбука (рис. 18).
Рис. 17 Гидравлический ударный механизм
Рис.18 Бамбуковая сетка диаметром 4 дюйма – бамбуковые полоски, прикрепленные к металлическим кольцам, затем обмотанные кокосовым канатом
Этот метод заключается в многократном поднятии и опускании долота с долотообразной кромкой для отрыва и измельчения материала со дна скважины. В яме держится небольшое количество воды, чтобы выкопанная порода смешалась с ней и образовала кашицу. Периодически ударное долото удаляют и опускают желонку для удаления шлама, содержащего вынутый материал.Желонка или желоночное ведро состоит из трубы с обратным клапаном внизу и дужки для крепления троса или каната вверху. После того, как его несколько раз подняли и уронили, чтобы заполнить навозной жижей, его выносят на поверхность для опорожнения. Откачка повторяется до тех пор, пока скважина не будет должным образом очищена, после чего бурение возобновляется; затем чередуются бурение и выкапывание. Если скважина нестабильна, спускают обсадную колонну и проходку обсадной колонны чередуют с двумя другими процессами.В рыхлом зернистом материале, таком как песок, одного вычерпывания может быть достаточно, чтобы удалить материал со дна скважины и позволить погрузить обсадную колонну. Для этой цели используется тяжелая желонка с режущей кромкой на нижнем конце, известная как «грязевая шаланда».
Ударный метод является универсальным и позволяет проникать во все типы материалов. Однако в очень твердом камне прогресс идет медленно. Хотя этот метод часто используется для крупногабаритного моторизованного оборудования, установленного на грузовиках, его можно успешно уменьшить и использовать с рабочей силой или небольшими двигателями (рис. 19 и 20).Его можно использовать в сочетании с другими методами, когда встречаются такие условия, как твердые или рыхлые материалы, которые делают его более подходящим.
Рис. 19 Баллончик с желонкой диаметром 6 см
Рис. 20 Выгребной колодец с рабочей силой. Для подъема полной желонки со дна колодца используется ручная лебедка.
Рис. 21 Ударная дрель местной ковки (вес около 80 кг)
Рис.22 Желонка местного производства с обратным клапаном из толстой резины
Оборудование для ударного бурения может быть изготовлено на месте (рис. 21 и 22). Тяжелая листовая рессора от большого грузовика или автобуса является хорошей режущей кромкой для ударной коронки (рис. 23). Его не следует нагревать во время изготовления, если нет навыков повторной закалки. Листовая рессора может быть обрезана до острого края (угол 90-120°) с помощью ножовочного полотна из быстрорежущей стали. Режущая кромка из пружинной стали может быть вставлена в конец тонкого куска мягкой стали длиной 2–3 метра (6–10 футов), такого как балка «1», два куска швеллерного железа вплотную друг к другу или кусок стального листа. труба, сплющенная на одном конце, чтобы плотно прилегать к пружинной стали.Пружинная сталь должна быть приварена или приклепана на место. Если возможно, верхний конец детали из пружинной стали должен упираться в выемку, вырезанную в опорном стержне. Это необходимо для уменьшения воздействия нагрузки на сварку или заклепки во время использования. Все переходы между деталью из пружинной стали и опорным стержнем должны быть скошены, чтобы не было острых углов, за которые можно было бы зацепиться сбоку от отверстия ни при ходе вверх, ни при ходе вниз. Режущая кромка должна быть шире, чем самый широкий размер опорного стержня, чтобы вокруг стержня в просверленном отверстии оставался зазор.Вес долота можно увеличить, добавив материал, например, прикрепив плоские железные стержни к стенке балки или канала или заполнив трубу бетоном, возможно, используя в качестве заполнителя кусочки чугуна. Начальный вес 50–60 кг (110–130 фунтов) может подойти для скважины диаметром 10 см (4 дюйма).
Рис. 23 Ударные долота местного производства
Рис. 24 Желонка местного производства
Желонка может быть изготовлена из куска стальной трубы 2 (Рисунок 4).Кольцо для седла обратного клапана может быть выковано из плоской заготовки, чтобы надежно входить в нижний конец трубы, где оно удерживается на месте с помощью сварки, заклепок или болтов. Клапан состоит из диска из толстой резины, армированного куском плоского металла и прикрепленного к седлу клапана одним краем.
Как желонка, так и ударное долото должны иметь на верхнем конце достаточно большую дужку или петлю для крепления веревки или троса. Большой размер облегчает «ловлю» или извлечение инструмента в случае, если веревка или трос оборвутся или оторвутся.
В этом методе используется буровое долото на дне вращающейся бурильной трубы. Шлам удаляется путем закачивания воды или смеси воды и различных глин вниз через бурильную колонну. Этот «шлам» увлекает буровой шлам и выносит его вверх через кольцевое пространство между бурильной трубой и стенкой скважины. Когда они достигают уровня земли, черенки можно отсадить в небольшой пруд, а «ил» рециркулировать. Если используется обратный путь потока (буровой раствор выкачивается на поверхность через полую бурильную трубу), система называется обратно-вращательной.Реверсивно-вращательная система позволяет выносить на поверхность более крупные частицы шлама, так как скорость восходящего потока внутри трубы больше, чем через затрубное пространство, из-за меньшего проходного сечения внутри трубы.
Второй функцией бурового раствора является герметизация и стабилизация стенок скважины для предотвращения обрушения и чрезмерной потери циркулирующей жидкости. Однако это уплотнение стенок может значительно уменьшить или предотвратить приток воды в колодец, если не будут предприняты надлежащие шаги для «освоения» колодца.
Обычно используются два типа буровых долот: (i) «рыбий хвост» с двумя стационарными лезвиями для использования в мягких материалах и (ii) вращающееся долото с тремя или более зубчатыми роликами, которые перекатываются по твердому материалу для раздавить и измельчить его.
Гидравлическое вращательное бурение обычно выполняется с помощью оборудования с большим двигателем. Этот метод используется почти исключительно при бурении нефтяных скважин, а также широко используется при бурении скважин на воду, когда скважины глубокие и необходимо пробить много твердой породы.
Существует как минимум два исключения из крупногабаритного оборудования, обычно используемого для этого метода. Первая представляет собой систему, основанную на небольшом переносном двигателе с вертикальным валом и воздушным охлаждением. Зубчатый редуктор, встроенный в двигатель, имеет выходной вал, который вращается со скоростью примерно 60 об/мин. Бурильная труба номинальным размером 1¼ дюйма крепится непосредственно к этому валу. Тройниковый вертлюг в верхней части бурильной трубы позволяет закачивать воду через него и возвращать на поверхность через кольцевое пространство вокруг него.Долото типа «рыбий хвост» используется для прокалывания мягких материалов. Для твердых материалов используется корончатое сверло. Это трубчатое сверло из твердого абразивного материала, которое прорезает кольцевую канавку и оставляет внутри сверла цилиндр из необработанного материала. Этот неразрезанный цилиндр можно извлечь из отверстия, вклинив мелкую свинцовую дробь между сердечником и внутренней частью корончатого сверла и удалив его из отверстия вместе со сверлом. В качестве альтернативы для извлечения можно использовать съемник керна с пальцами из пружинной стали для захвата керна.Второй небольшой двигатель обычно необходим для привода насоса для циркуляции воды.
Вторая система, используемая в Бангладеш, полностью ручная и основана на реверсивно-вращательной системе. Колонна бурильных труб с режущим долотом на забое вручную вращается в скважине. Ручной всасывающий насос, прикрепленный с помощью вертлюга к верхней части бурильной трубы, используется для подъема воды и шлама. Подача воды в затрубное пространство вокруг бурильной штанги осуществляется ручным насосом, присоединенным к двум временным забивным скважинам.
Сила животных также использовалась для привода роторного бурового оборудования.
Обсадная труба выполняет две основные функции: (i) поддерживает стенки скважины от обрушения; и (ii) исключить загрязненные поверхностные воды. Экран, который позволяет воде поступать в скважину, препятствуя при этом проникновению материалов водоносного горизонта, может представлять собой перфорированную секцию на нижнем конце обсадной колонны или может представлять собой отдельную конструкцию, прикрепленную к обсадной колонне.
В зависимости от используемого метода бурения и вскрываемых материалов обсадная труба может быть заглублена как неотъемлемая часть операции бурения, как в случае гидромониторной обработки; его можно разместить после того, как отверстие будет завершено; или он может быть размещен в какой-то промежуточной точке, например, когда достигнут уровень грунтовых вод и стенки ямы обрушатся, если их не поддерживать.
Ряд различных материалов успешно используется для обсадных труб. К ним относятся трубы или трубки из кованого железа, трубы, свернутые из листового металла, трубы из пластика, такого как поливинилхлорид (ПВХ) или стеклопластик (GRP), асбестоцементные трубы, бетонная плитка, глиняная плитка, бамбуковая/кокосовая оболочка (изготовленная из бамбуковые полоски, прикрепленные к стальным обручам и обернутые шнуром из волокна кокосовой шелухи и мешковиной), бамбуковые стебли большого диаметра с удаленными узловыми мембранами и расщепленные стволы пальм.Тип используемой оболочки будет определяться (i) тем, какие материалы доступны на месте; (ii) какие навыки доступны на местном уровне; (iii) относительная стоимость труда и материалов; (iv) используемый метод бурения; (v) характер геологической формации; и (vi) минимальный приемлемый срок службы скважины.
Особенно примечательным примером дешевой оболочки местного производства является оболочка из бамбука и кокосового волокна, разработанная в Индии (рис. 25, 26, 27 и 28). Этот кожух состоит из продольных полос расколотого бамбука, приклепанных к обручам на расстоянии примерно 25 сантиметров друг от друга.Затем сборка обматывается по окружности веревкой из кокосового волокна (кокосовое волокно) до тех пор, пока вся длина не будет покрыта. На тех участках корпуса, которые проникают в водоносный горизонт, кокосовый канат служит фильтром или экраном. На остальной части оболочки кокосовый канат может быть покрыт мешковиной, покрытой асфальтом. Секции корпуса стыкуются встык и крепятся несколькими продольными стальными стяжками, приклепываемыми к торцевым обоймам соответствующих секций.
Срок службы этих бамбуковых/кокосовых оболочек составляет два или три года.По истечении этого времени необходимо пробурить новую скважину и обсадить ее новой обсадной колонной. Использование бамбуковых/кокосовых оболочек является прекрасным примером изобретательности и местного труда, а также навыков, используемых для экономии скудного капитала и иностранной валюты.
В Египте стволы финиковых деревьев разрезают на 1-2 метра, очищают снаружи, расщепляют и выдалбливают. При ручном ударном бурении желонкой и долотом для расширения две половинки вставляются в скважину и погружаются на глубину от 100 до 200 метров.
Там, где имеется оцинкованный листовой металл, корпуса могут быть изготовлены путем прокатки полос в трубы с продольным швом (рис. 29 и 30). В одном случае листы оцинкованной стали размером 1 м x 2 м были разделены по длине на три равные полосы. Один изгиб на 90° был сделан вдоль одной кромки, а изгиб на 90° плюс изгиб на 180° был сделан вдоль другой кромки. Они были «свернуты» с помощью деревянного V-образного блока длиной 2 метра, поверх которого был уложен листовой металл, в то время как направленная вниз сила применялась к трубе диаметром 2 дюйма, расположенной поверх него.Перемещая листовой металл из стороны в сторону по V-образному блоку, можно было получить достаточно круглый контур. Согнутые ранее края соединили крючком и загнули, чтобы получился шов. Для окончательного скругления кожуха кусок 2-дюймовой трубы опирался на блоки у его концов и использовался как наковальня. Кожух надевали на трубу, а для придания окончательной формы использовали молоток из дерева или другого относительно мягкого материала.
Рис. 25 Кокосовая обшивка. Разрезанные бамбуковые полоски расположены вокруг стальных колец, а сборка обмотана кокосовым шнуром.
Рис. 26 Кокосовая обшивка. Обертка из кокосового волокна служит колодезным экраном на нижнем конце кожуха.
Рис. 27 Кокосовая койра. Корпус выше водоносного горизонта покрыт асфальтом и мешковиной.
Рис. 28 Кокосовая обсадная труба опускается в скважину.
Рис. 29 Изготовление корпуса из листового металла. (а) края зажаты между уголками и согнуты киянкой
Рис.29 Изготовление корпуса из листового металла. (б) прокатная полоса с трубой и деревянным V-образным бруском
Рис. 29 Изготовление кожуха из листового металла. (c) соединение краев вместе для образования шва
Рис. 29 Изготовление кожуха из листового металла. (г) обжимной шов и закругление кожуха трубной наковальней и киянкой
Рис. 30 Изготовление кожуха из оцинкованного листового металла
Корпус из листового металла обычно соединяется путем вставки одного конца в другой и последующей пайки соединения.Короткие продольные полоски листового металла, наложенные внахлест на стык и припаянные к обеим сторонам кожуха, могут использоваться для дальнейшего укрепления стыка, что является полезной практикой. Концы можно сделать так, чтобы они подходили друг к другу путем выборочной сборки, слегка обжав один конец или преднамеренно сделав корпус слегка скошенным, изменяя ширину шва от конца к концу.
В методе «Калифорнийская дымовая труба» используются две легкие кожухи из листового металла, одна из которых плотно прилегает к другой.Стыки на внутреннем кожухе приходятся на середину секций внешнего кожуха и наоборот. Два слоя собираются и свариваются вместе точечной сваркой по мере их утопления, создавая таким образом ламинированный корпус, который является относительно жестким и устойчивым к изгибу.
Асбестоцементная канализационная труба и бетонная или глиняная плитка часто изготавливаются с раструбными соединениями, чтобы один конец мог свободно скользить в соседний конец на короткое расстояние. При использовании такой трубы или плитки в качестве обсадной трубы раструбы направлены вниз, чтобы свести к минимуму попадание сыпучего материала через неплотное соединение в скважину.Отрезки могут опускаться в колодец по отдельности с помощью набора крюков, прикрепленных к шнуру. Крючки и шнур входят внутрь кожуха и удерживаются на нижнем конце кожуха до тех пор, пока он не встанет на место и крючки не будут освобождены, потянув за второй шнур. Как вариант, если обсадная колонна не слишком. тяжелые, соединения могут быть соединены проволокой, когда они монтируются над скважиной, а обсадная колонна опускается с верхнего конца. Этот метод будет ограничен относительно неглубокими скважинами из-за веса колонны обсадных труб.
Глиняные, бетонные и асбестоцементные плитки относительно хрупкие и могут сломаться, если внутри них будут предприниматься такие операции, как ударное бурение или вычерпывание. Если такие операции необходимы для погружения обсадной трубы в водоносный горизонт, необходимо, чтобы самая нижняя секция обсадной трубы была изготовлена из более прочного материала, такого как стальная труба или труба.
Трубы или трубы из поливинилхлорида (ПВХ) представляют собой пластиковый материал, наиболее часто используемый в качестве корпуса. Обычно он намного дешевле стали, легкий, легко режется, перфорируется и вставляется.Секции соединяются путем окрашивания концов растворителем, чтобы смягчить их, а затем вставлять их в муфту, где они сплавляются по мере испарения растворителя.
Перфорация обсадной колонны для использования ее в качестве экрана скважины может быть выполнена путем сверления или разрезания ножовкой, как описано в разделе о буровых скважинах.
Для облегчения опускания обсадной колонны по мере бурения использовался ряд методов:
я. Забивка: этот метод обсуждался ранее в связи с проходкой колодцев.Его можно нормально использовать только с тяжелым кованым корпусом, используя специальные приводные муфты, которые позволяют концам корпуса упираться друг в друга, защищая тем самым резьбу от деформации. Как указывалось ранее, движение осуществляется путем подъема и опускания груза, который направляется либо внутри, либо снаружи кожуха и ударяется либо о специальный приводной колпачок, навинченный на конец кожуха, либо на зажим снаружи. трубы.
ii. Поддомкрачивание: в этом методе (рис. 31а и 32) используются деревянные анкеры, закопанные рядом со скважиной, и домкраты для поддержания направленного вниз усилия на обсадную трубу по мере продолжения бурения.
iii. Грузы (рис. 31b и 32), такие как мешки с землей или бочки с водой, могут быть сложены на опору, закрепленную вокруг трубы. В качестве альтернативы к обсадной колонне можно прикрепить платформу, на которой стоит бурильщик (рис. 31 с и 33).
iv. Грузы (рис. 31 d) на рычаге, прикладываемом к корпусу.
Рис. 31 Проходной корпус. а) с помощью домкратов
Рис. 31 Проходка корпуса. (б) утяжеление мешками с землей
Рис.31 Тонущий кожух. (c) с использованием веса буровой бригады на платформе
Рис. 31 Проходка обсадной колонны. (г) с помощью рычага и мешков с грунтом
Рис. 32 Проходка обсадной колонны. Используются два метода: (а) Рабочие возле обсадной трубы затягивают гайки на больших винтах, прикрепленных к деревянным анкерам под землей и на верхней части обшивки. (b) Обратите внимание на большие бетонные грузы, зажатые вокруг обсадной трубы непосредственно под верхним концом. Второй набор грузов расположен прямо над поверхностью земли.
Рис. 33 Проходной корпус. Вес бурильщиков используется для погружения обсадной колонны. Рабочие на земле вращают обсадную колонну во время бурения.
Ряд операций по бурению скважины требует подъемно-опускного движения. К ним относятся ударное бурение, сбрасывание, гидравлический удар и забивка обсадной колонны. Крупномасштабные ударные установки получают такое движение с помощью троса, один фиксированный конец которого проходит по шкиву на конце поворотного рычага, совершаемого возвратно-поступательным движением с помощью кривошипа и шатуна.Ближайший аналог этого в оборудовании с приводом от человека, рис. 34, , , 3, 5 и 36, состоит из каната или троса, выходящего вертикально из колодца, проходящего через шкив, а затем проходящего параллельно земле примерно на высоте плеча. и, наконец, прикрепляется к дереву или столбу. Чтобы получить возвратно-поступательное движение, бригада из 4-6 человек выстраивается лицом к веревке и поочередно одновременно тянет вниз и отпускает веревку.
Другое успешно используемое устройство состоит из рычага, вращающегося вокруг горизонтальной оси, рис. 37, с буровыми инструментами, прикрепленными к более короткому концу, и бригады из нескольких человек, совершающих возвратно-поступательные движения к более длинному концу.При желании к более длинному концу можно было добавить грузы, чтобы частично уравновесить буровые инструменты.
Рис. 34 Натяжение закрепленного горизонтального каната для получения возвратно-поступательного движения
Рис. 35 Ударное бурение. Движение подъема и опускания достигается за счет натяжения веревки и ее отпускания. (А)
Рис. 35 Ударное бурение. Движение подъема и опускания достигается за счет натяжения веревки и ее отпускания. (Б)
Рис.36 Шкив на треноге, используемый для обеспечения возвратно-поступательного движения при ударном бурении и сборке
Рис. 37 Использование рычага для получения возвратно-поступательного движения
Существует несколько вариантов пружинной балки или системы пружинных стоек, рис. 38, 39 и 40. На рис. 38 буровой канат прикреплен к концу горизонтальной деревянной консольной балки, чем-то напоминающей трамплин. Жесткость балки можно регулировать либо путем изменения количества лепестков в пружине, либо путем изменения положения опоры, ближайшей к концу балки, к которому крепятся инструменты.В зависимости от жесткости балки, эластичности веревки или другого материала, прикрепляющего инструменты к балке, массы инструментов и природы материалов, в которые проникают, система будет иметь некоторую собственную частоту. То есть, если балку согнуть, а затем отпустить, система будет колебаться с постоянным числом циклов в минуту с постоянно уменьшающейся длиной хода до тех пор, пока движение не будет полностью демпфировано трением в системе. Если при каждом ходе вниз применяется тяга вниз, систему можно заставить колебаться бесконечно с минимальными затратами труда.На практике рабочая бригада стоит вокруг линии, прикрепленной к пружинной балке, и через соответствующие промежутки времени прикладывает направленное вниз усилие, чтобы система продолжала колебаться. Как вариант, к балке можно прикрепить отдельную веревку для каждого. Каждый рабочий ставит ногу в петлю или стремя и производит необходимое движение ногой и ступней. Этот метод иногда называют «выбиванием колодца». По мере изменения массы инструментов, глубины отверстия и проникающего материала собственная частота системы изменяется.Это можно компенсировать, отрегулировав жесткость балки, изменив количество створок или неподдерживаемую длину. Большая масса инструмента уменьшит количество колебаний в минуту, а большая жесткость балки увеличит их.
Чуть менее сложным, но широко использовавшимся в Северной Америке в первой половине XIX века является пружинный шест (рис. 39). Его делают из дерева длиной 8-10 м и диаметром, сужающимся примерно от 20 см на одном конце до 10 см на другом.Большой конец крепится к земле, возможно, путем нагромождения на него камней или бревен. Он поддерживается точкой опоры примерно на одной трети длины от нижнего конца. Верхний конец мог быть на высоте 2,5-3,0 м. К верхнему концу можно было прикрепить стременные канаты для раскачивания шеста.
Как в случае рессорной балки, так и в случае рессорного стержня, для вытягивания инструментов из отверстия и их вытягивания необходим верхний шкив. Этот шкив обычно поддерживается отдельной конструкцией, такой как штатив.
На рис. 40 показано китайское устройство для бурения скважин, в котором для получения колебательного движения используется большая дуга. Этот общий тип устройства существует не менее 2 600 лет назад, и ему приписывают бурение на глубину до 1 000 м. Такие колодцы использовались для получения рассола, из которого делали соль во внутренних районах Китая. Буровая веревка состоит из секций расщепленного бамбука, которые соединяются вместе путем вырезания блокирующих пазов в местах перекрытия концов и связывания соединения сталью или пенькой.Хороший бамбук имеет примерно такую же прочность на растяжение на единицу веса, как и мягкая сталь. Однако она явно не такая гибкая, как веревка или трос, поэтому показанная катушка большого диаметра используется для намотки бамбуковой лески. Ниже приведены некоторые размеры устройства, изображенного на рис. 39:
Длина дуги | 12–15 м |
Диаметр дуги | 20–25 см |
Диаметр стального троса для тетивы лука | 15–16 мм |
Диаметр барабана | 4 м (приблизительно) |
При бурении скважин часто используется вращающийся барабан или «катушка», приводимая в действие любым удобным источником энергии (Рисунок 41).Если веревка свободно обмотана вокруг вращающегося барабана, она останется неподвижной, пока вращается барабан. Однако, когда один конец веревки туго натянут, трение заставит веревку двигаться вместе с поверхностью барабана, и комбинацию веревки и барабана можно использовать в качестве брашпиля. Попеременно натягивая веревку и отпуская ее, можно поднимать и опускать груз, такой как ударное долото, набор гидравлических ударных инструментов или черпак. Постоянно удерживая конец каната натянутым, когда он выходит из барабана, систему можно также использовать для извлечения инструментов из скважины.
Рис. 38 Пружинная доска для получения возвратно-поступательного движения
Рис. 39 Пружинная стойка для получения возвратно-поступательного движения..
Буровое оборудование традиционного Китая (а) буровая установка с носовой частью для получения возвратно-поступательного движения и барабан для бамбукового бурового каната
Рис. 40 Традиционное китайское буровое оборудование. (b) соединение в расщепленной бамбуковой леске
Рис.40 Традиционное китайское буровое оборудование. (c) буровые инструменты
Рис. 41 Вращающийся барабан или «катушка» для получения возвратно-поступательного движения или для использования в качестве лебедки
Буровые системы, такие как шнековые, струйные и гидравлические ударные, используют колонну труб или насосно-компрессорных труб для соединения реальных буровых инструментов с входной мощностью на уровне земли или над ним. Всякий раз, когда инструменты должны быть подняты на поверхность земли, необходимо один за другим отсоединить отрезки трубы и отложить их в сторону.Для возврата инструментов на дно скважины необходимо выполнить эту процедуру в обратном порядке. По мере того, как яма становится глубже, этот процесс становится все более трудоемким, и поэтому прогресс замедляется. Раннее ударное бурение производилось с помощью жестких бурильных штанг, сделанных из деревянных или стальных секций, соединенных вместе. Их также приходилось соединять и расцеплять каждый раз, когда инструменты помещались в отверстие или вынимались из него. С другой стороны, при современном ударном бурении и сборке инструменты обычно гибко подсоединяются к источнику питания веревкой или кабелем.Это означает, что инструменты могут быть быстро извлечены из скважины или возвращены в нее, просто потянув вверх или выпустив веревку без какого-либо отсоединения или соединения.
Как манильская веревка диаметром 25-40 мм (1-1½ дюйма), так и стальная веревка или трос диаметром примерно 10 мм (3/8 дюйма) успешно использовались при самостоятельном бурении скважин. Чтобы продлить срок службы троса или манильского каната, следует использовать максимально практичный диаметр шкива. Веревки местного производства с короткими или грубыми волокнами, такими как кокосовое волокно (кокосовое волокно), могут быть ненадежными и недолговечными и вызывать задержки и убытки, намного превышающие деньги, сэкономленные за счет их использования..
Выше уже упоминались веревки из расщепленного бамбука, успешно используемые в Азии более 25 веков.
Термин «освоение скважины» относится к процессу удаления более мелких частиц из водоносного горизонта непосредственно вокруг экрана скважины, чтобы сделать водоносный горизонт более проницаемым и, таким образом, уменьшить сопротивление потоку воды в скважину. Это означает, что при заданной скорости откачки депрессия скважины и, следовательно, высота откачки будут уменьшаться.Для разработки скважины важно, чтобы отверстия в скважинном экране были выбраны надлежащего размера. Это требует сбора материала, взятого из водоносного горизонта в процессе бурения. Одно эмпирическое правило гласит, что отверстия должны быть такого размера, чтобы через них проходили наименьшие 2/3 частиц водоносного горизонта.
Разработка осуществляется за счет того, что вода попеременно течет в колодец и из него. Во время притока некоторые мелкие частицы будут унесены в скважину через фильтр, а другие мелкие частицы будут соединяться между частицами, слишком большими, чтобы пройти через экран.Изменение направления потока вытеснит такие частицы и даст им возможность пройти через сито в течение следующего периода притока. Мелкий материал, попадающий в скважину, в конечном итоге удаляется с водой. Удаление тонкодисперсного материала при освоении, кроме увеличения производительности скважины, уберегает от истирания устанавливаемый впоследствии насос.
Вычерпывание колодца, пожалуй, самый простой способ разработки. Каждый раз, когда желонка поднимается и сбрасывается, вода попадает в колодец и выходит из него.Мелкий материал, поступающий в скважину, задерживается внутри желонки и удаляется из скважины. Количество тонкого материала в желонке показывает, насколько далеко продвинулся процесс разработки. Особый тип желонки, известный как насос для песка, имеет внутри поршень. Этот поршень прикреплен к линии желонки таким образом, что он перемещается вверх внутри желонки по мере того, как линия переходит от провисания к натяжению. Движение этого поршня оказывает сильное помпажное воздействие на скважину и способствует засасыванию песка в желонку.
Уравнительный блок, который действует как поршень или плунжер внутри обсадной колонны, может быть прикреплен к колонне труб и перемещаться вверх и вниз в целях разработки. Ударный блок может состоять из двух или более деревянных дисков, скрепленных между собой резиной, контактирующей с внутренней частью корпуса.
Скважины также могут быть разработаны путем откачки воды с высокой скоростью, чтобы создать большую депрессию. Накачка внезапно прекращается, и большое количество накопленной воды стекает в скважину, чтобы обратить поток через водоносный горизонт вокруг экрана.Сжатый воздух также можно использовать для помпажа скважины во время разработки.
Если водоносный горизонт состоит из мелких частиц с небольшими вариациями по размеру, может оказаться невозможным адекватно увеличить проницаемость вокруг экрана с помощью методов разработки, описанных выше. В этом случае производительность скважины может быть увеличена за счет гравийной набивки, т. е. за счет внесения вокруг экрана материала, размер частиц которого больше, чем в водоносном горизонте. Использование гравийной набивки позволяет использовать более крупные отверстия сетки и, следовательно, дает больший процент площади притока.Он также окружает экран слоем материала с более высокой проницаемостью, чем сам водоносный горизонт.
Одним из способов введения гравия является первоначальное погружение временной обсадной колонны, диаметр которой больше диаметра окончательной обсадной колонны и экрана. Конечная обсадная колонна и экран опускаются во временную обсадную колонну и удерживаются концентрично направляющими, пока гравий вводится в кольцевое пространство между обсадными колоннами. Затем временную обсадную трубу можно извлечь из скважины домкратом. Другой метод — просверлить отверстие несколько большего размера, чем обсадная труба, до уровня грунтовых вод.Затем обсадную трубу опускают, а кольцевое пространство между обсадной трубой и скважиной засыпают гравием. По мере погружения обсадной трубы в водоносный горизонт часть гравия опускается вместе с обсадной трубой. Во время разработки большая часть гравия опускается, чтобы занять объем, оставленный песком, прошедшим через фильтр в скважину. Гравий можно также насыпать вокруг экрана через несколько небольших отверстий, просверленных для этой цели вокруг a. маленький круг, концентрический с колодцем.
Размер и градация используемого гравия должны быть такими, чтобы очень небольшое количество материала окружающего водоносного горизонта могло попасть в пустоты между частицами гравия.Если это произойдет, проницаемость гравийной набивки может значительно снизиться. Размер отверстия фильтра выбирается максимально большим, чтобы материал гравийной набивки не попадал в скважину.
После освоения скважины обычно желательно заполнить и герметизировать кольцевое пространство между внешней стороной обсадной трубы и стволом скважины. Эта операция, известная как цементация, выполняется для предотвращения попадания грязных поверхностных вод непосредственно в скважину и для обеспечения надежной поддержки верхнего конца обсадной колонны.Смесь портландцемента и воды, смешанная до довольно жидкой консистенции, является наиболее часто используемым материалом для заполнения швов. Глиняно-водная суспензия иногда также используется на больших глубинах, где изменения влажности не вызывают усадку и набухание глины.
Если использование насосного оборудования для заливки раствора нецелесообразно, раствор должен поступать на место под действием силы тяжести. Кольцевое пространство между обсадной трубой и отверстием должно быть не менее 5 см (2 дюйма). Также можно использовать длинный тонкий стержень, чтобы раствор заполнил все пустоты.Раствор должен простираться от поверхности на глубину не менее 6 м (20 футов) для обеспечения адекватного санитарного уплотнения между обсадной трубой и пробуренной скважиной.
Ни одно предприятие не обходится без проблем, но те, которые встречаются при бурении скважин малого диаметра, могут показаться более сложными, поскольку они обычно возникают в местах, где их не видно. Следовательно, для диагностики и преодоления проблем необходимо развивать высокую степень «чувства», дедукции, рассуждений и изобретательности. У бурильщиков скважин есть два основных правила относительно проблем:
(1) Предотвращайте проблемы до их возникновения , а не пытайтесь устранять их уже после их возникновения.Это требует большой бдительности к звукам, ощущениям, физическому состоянию инструментов и стружки и постоянных попыток предвидеть, что может пойти не так.
(2) Пытаясь исправить проблему, не делайте ничего быстрого или необдуманного , что может сделать проблему более трудной или невозможной для решения.
При бурении скважин, особенно с использованием трудоемких систем, возникают как минимум три типа проблем:
а. Маленькие инструменты падают в отверстие. Любой инструмент, достаточно маленький, чтобы поместиться в отверстие и регулярно используемый вокруг отверстия, рано или поздно упадет внутрь. Чтобы предотвратить это, все такие инструменты должны быть привязаны к какому-либо стационарному объекту прочным шнуром. Длинные тонкие предметы, такие как удлинители шнека, которые регулярно соединяются и разъединяются, должны иметь предохранительное устройство, такое как кусок стержня, пропущенный через них, чтобы предотвратить их соскальзывание в отверстие при случайном падении. Методы «рыбалки» для извлечения объектов из отверстия обсуждаются позже.
б. Инструменты застряли в отверстии. Хотя некоторые случаи застревания инструментов, вероятно, неизбежны, правильная конструкция и техническое обслуживание могут свести к минимуму количество таких случаев. Режущие кромки инструментов должны быть изготовлены и поддерживаться в рабочем состоянии таким образом, чтобы они прорезали достаточно большое отверстие, чтобы обеспечить зазор вокруг остального оборудования. Инструменты должны быть спроектированы с достаточно плавными переходами в поперечном сечении, чтобы не было острых уступов, которые могли бы зацепиться за неровности в отверстии или над которыми могли бы заклиниваться извлеченные частицы.Когда инструменты застревают в отверстии, обычно необходимо использовать какое-либо устройство, увеличивающее усилие, такое как цепная таль или автомобильные домкраты, чтобы вытащить их. Поскольку усилие, необходимое для освобождения инструмента, часто может быть значительным (даже если между инструментом и обсадной колонной застрял лишь небольшой кусок гравия), оборудование должно быть сконструировано таким образом, чтобы выдерживать натяжение в несколько тонн. Если есть опасения, что веревка, трос или связка труб порвутся во время сильного натяжения, обычно можно зацепиться непосредственно за застрявший инструмент с помощью правильно сконструированного крюка на конце другой более прочной веревки, троса или связки труб.Вытягивание может быть продолжено на последнем или на обоих насадках. Необходимость зацепления за верхние части инструментов следует учитывать при их проектировании. Например, желонки и ударные долота должны быть изготовлены с большими крючками, которые легко зацепить.
Коммерчески выпускаемые ударные инструменты включают набор «кувшинов». Это тяжелая и плотно прилегающая пара звеньев, встроенных в систему бурения. Поскольку звенья могут скользить друг в друге, часть бурильной колонны над ясами можно поднять на небольшое расстояние до того, как буровое долото покинет дно скважины.Это небольшое относительное движение, а также масса верхней бурильной колонны и троса могут быть использованы для перемещения застрявшего бурового долота вверх для его освобождения. Удар банок оказывает большую силу, чем обычно можно получить при постоянном натяжении. Если буровое долото застряло над дном отверстия, ясы также можно использовать для движения вниз. Предшественником ясов были два или три тяжелых звена цепи, соединявших верхнюю и нижнюю части буровой штанги. Однако они сильно бьются как при движении вверх, так и при движении вниз и относительно недолговечны.
в. Инструменты, отсоединяющиеся в отверстии. Возникновение этой проблемы можно свести к минимуму, постоянно проверяя состояние инструментов и крепежных деталей. Однако, когда из скважины необходимо удалить отсоединенный или упавший инструмент, этот процесс называется «выловом». Часто для выполнения этой задачи приходится изготавливать специальные инструменты. Это может потребовать как значительной изобретательности, так и большого количества проб и ошибок. Оттискной блок может быть полезен при разработке рыболовных инструментов.Это неглубокий цилиндрический контейнер диаметром, который точно входит в отверстие, с открытым дном и верхней частью, прикрепляемой к нитке трубы или желонке. Контейнер заполняется веществом, таким как мыло, воск или жир, достаточно твердым, чтобы держать форму, но достаточно мягким, чтобы можно было снять оттиск. Его осторожно опускают на объект лова, так что отпечаток, оставленный на блоке, дает информацию о форме, местоположении и ориентации объекта, что полезно при выборе инструментов и стратегии, которые будут использоваться при ловле.Оттискной блок можно сделать из толстого деревянного диска с полосой листового металла, прибитой по внешнему краю. Деревянный брусок можно забить гвоздями, чтобы закрепить оттискной материал.
Некоторые широко используемые рыболовные инструменты показаны на рис. 42. Другие инструменты должны быть разработаны для решения конкретной задачи.
Рис. 42 Рыболовные инструменты. (a) для извлечения отрезков трубы
Рис. 42 Ловильные инструменты. (b) цилиндр из листового металла с зубьями, которые сгибаются вместе, чтобы закрыть дно для захвата мелких предметов
Рис.




Как правило, подрядчик по скважине или насос
Также многое зависит от полнотелости скважины.
е. высокий шнек малого диаметра имеет тенденцию просверливать более прямое отверстие, чем короткий шнек большого диаметра)