Выгребная яма из бетонных колец
Поделитесь статьей:
В любом частном доме или на даче необходима канализация. Если есть возможность подключения к централизованному отводу стоков, то данный вопрос теряет свою актуальность. А если нет? Тогда частному домостроению необходим грамотно организованный септик. Отличным вариантом решения данной проблемы является обустройство выгребной ямы из бетонных колец.
Строительство септика из бетонных колец под силу организовать практически каждому владельцу частного дома, так как данный тип автономной канализационной системы отличается простотой конструкции. Достаточно поставить одно на другое бетонные кольца – и все! Септик готов. Выполненная таким образом выгребная яма способна служить хозяевам не менее 100 лет, ведь бетон – материал, который практически не подвержен процессам гниения и коррозии.
Размещение выгребной ямы на участке
Главный вопрос, который необходимо решить хозяевам участка – это место размещения выгребной ямы.
В идеале лучше определить его еще на этапе планирования строительства дома. Однако если нет такой возможности, то расположение выгребной ямы из бетонных колец должно максимально соответствовать действующим санитарным нормам.
Полезный совет. Септик рекомендуется размещать на расстоянии не менее 5-8 метров от дома, 25-30 метров от водозаборных колодцев и скважин, а также не менее 3-4 метров от плодово-ягодных насаждений. Располагать выгребную яму стоит таким образом, чтобы обеспечить к ней удобный и беспрепятственный подъезд ассенизатора.
При планировании места размещения автономной канализации необходимо учитывать уровень залегания грунтовых вод на участке. Близко расположенные подземные потоки не только будут препятствовать уходу воды из септика, но и могут представлять опасность, если яма переполнится. В таком случае содержимое септика рискует оказаться на улице.
Расчет объема выгребной ямы
При расчете параметров выгребной ямы нужно следовать простому правилу: чем больше септик, тем лучше.
Однако соблюсти данное условие не всегда представляется возможным ввиду ограниченности участка или финансовых возможностей хозяина. По этой причине необходимо рассчитать объема септика, приняв за основу количество постоянно проживающих в доме людей.
На одного человека в среднем приходится 3-4 кубических метров сточных вод. Соответственно, для небольшой семьи из трех-четырех человек ориентировочный объем септика составит 9-15 м³ с учетом наличия в доме стиральной машины, а для 5 человек объем увеличится до 18-20 кубометров. Закладывать для расчета меньшее значение не целесообразно, так как это приведет к частому обращению к услугам ассенизатора.
Конструктивные особенности выгребной ямы
В настоящее время на рынке представлен широкий ассортимент бетонных колец с диаметром до 2,5 метров. Однако оптимальнее использовать кольца сечением и высотой 1 метр. Таким образом, для выгребной ямы емкостью в 5 кубометров их потребуется 5 штук.
Конструктивно септик из бетонных колец может быть
выполнен в двух вариантах:
- в виде одной герметичной емкости;
- в виде двух сообщающихся ям, одна из которых герметичная, а вторая имеет фильтрующее дно.

При этом выполнение септика из двух сообщающихся емкостей предпочтительнее, нежели строительство одного герметичного колодца. Это продиктовано тем, что в первой части происходит осаждение тяжелых масс и их бактериальное разложение, а легкая фракция попадает во вторую яму, где будет впитываться в грунт. Это значительно увеличивает периоды между очистками.
Строительство
После определения объема септика приступают к рытью котлована под размещение бетонных колец. Глубина ямы с учетом забетонированного дна не должна превышать 3 метра. Большая глубина канализационного колодца создаст неудобства при откачке ассенизаторской машиной.
Полезный совет. Копать котлован нужно с небольшим запасом (около 50 см) по диаметру, чтобы в процессе монтажа колец предотвратить их заклинивание.
Установку первого кольца необходимо проводить на бетонную плиту, чтобы предотвратить утечку фекальных масс. Для этого за день проводят предварительное бетонирование участка дна котлована.
Плита должна получиться чуть больше, чем диаметр кольца. После того как бетон высохнет, на него устанавливают первое и все последующие кольца. Для экономии времени и денежных средств можно приобрести готовое бетонное кольцо с уже герметичным дном. В дальнейшем обязательно проводят полную герметизацию стыков.
Для заделывания таких отверстий можно использовать резиновую прокладку (например, старые велосипедные камеры), специальные герметики, жидкое стекло или цементный раствор. Желательно обработать бетонные кольца снаружи при помощи битумной мастики.
После монтажа и герметизации всех колец свободное пространство вокруг засыпается землей, а сверху устанавливается крышка для обеспечения технического доступа и обслуживания выгребной ямы. Лучше всего использовать люк, выполненный из пластмассы, так как он не подвержен коррозии, легко монтируется и обеспечивает должную герметичность всего сооружения.
При монтаже выгребной ямы из двух сообщающихся сосудов вторую группу колец устанавливают на гравийную подушку и дно второй емкости не бетонируют.
Два колодца соединяют между собой трубами. В результате изначально наполняется только первая емкость, а при достижении в ней определенного уровня легкая фракция (вода) начнет переходить во вторую, где будет впитываться в землю через гравий.
Полезный совет. Канализационные трубы, ведущие к выгребной яме и соединяющие емкости между собой, рекомендуется закапывать в земле не менее, чем на 0,8-1 метра во избежание замерзания.
Заключение
Организация выгребной ямы из бетонных колец – это весьма ответственное дело. От правильного подхода к нему будет зависеть частота вызова ассенизаторской машины. Для бесперебойного и длительного функционирования выгребной ямы используют биопрепараты, ускоряющие процессы гниения и брожения, способствующие более быстрой переработке отходов. Это в свою очередь позволяет экономить на откачке фекальных масс.
Статьи по теме:
- Клумбы на даче своими руками Долгими зимними вечерами все мечтают о наступлении весны, о начале дачного сезона.
Однако дача – это не только посадка овощных культур, это еще и оформление двора цветами, формирование […] - Погреб на даче своими руками Дачный сезон… Сколько смысла в этом словосочетании. Сразу представляются разные картины в уме. У кого отдых на природе, а у кого и огороды. Посадка, сбор и хранение урожая. Да, именно […]
- Пластиковые бутылки: поделки для дачи Гениальное изобретение XX века – пластиковая бутылка. Где ее только не увидишь! В школах на выставке детских поделок, на крыльце любого административного здания в виде кормушки для птиц. […]
- Сарай для дачи своими руками Пожалуй, ни один загородный участок не обходится без хозяйственных построек. Наличие подсобного помещения на даче является просто жизненно необходимым. Ведь хозпостройки являются не только […]
Создание выгребной ямы из бетонных колец, кирпича и пластика своими руками
Большинство дачных участков не оборудованы централизованной канализационной системой и поэтому, что бы осуществить сбор сточных вод дачники применяют построение выгребной ямы.
Существует еще один вариант решения это проблемы – использование специальных мини-станций, но они имеют высокую стоимость. Именно поэтому обустройство дачного участка выгребной ямой является самым удобным и эффективным вариантом.
Как сделать выгребную яму своими руками?
Выбираем место для выгребной ямы
Место для выгребной ямы
К этому вопросу необходимо относится очень серьезно. Существуют специальные нормативные документы и установленные санитарные нормы, с помощью которых выбирается необходимое место для выгребной ямы. Требования к расположению данного приспособления следующие:
- Расстояние от выгребной ямы до жилого помещения должно составлять как минимум 12 метров.
- Расстояние от выгребной ямы до ограждения должно быть не менее 1 метра
- Запрещается сооружать сливную яму рядом возле колодцев и скважин с питьевой водой, минимальное расстояние должно составлять 5 метров
- Не рекомендуется сооружать яму рядом с садовыми деревьями
- Расположение выгребной ямы должно быть удобным к подъезду машины-ассенизатора
Рассчитывается размер выгребной ямы
Размер выгребной ямы
Прежде всего, размер выгребной ямы зависит от количества жильцов и структуры почвы.
В среднем, месячный сток воды семьи из 3-4 человек составляет 12-13 кубометров, значит, выгребная яма должна иметь объем как минимум 18-20 кубометров.
Если грунт на вашем дачном участке спокойно пропускает жидкость, разрешается сделать минимальный запас объёма выгребной ямы (40% месячного стока воды).
Если грунт дачного участка представлен глиной либо другой породой, которая слабо пропускает воду, объем выгребной ямы должен составлять норму месячного стока.
Устройство выгребной ямы
Устройство выгребной ямы
Выкладывать стены выгребной ямы рекомендуется из кирпича, пластика, бетона либо железобетонных колец. Простейшим вариантом является отделка стен канализационной ямы кирпичом.
Для того, что бы выложить стены ямы при помощи кирпича, сначала необходимо подсчитать количество стройматериалов. После этого бетонируется дно (что бы исключить проблемы, связанные с выкачкой жидкости) и укладывается кирпич. Если укладку кирпича производить в шахматном порядке, можно «убить одним выстрелом двух зайцев»: сэкономить деньги на стройматериалы и сделать дополнительный дренаж воды в грунт.
Выгребная яма из кирпича, выложенного в шахматном порядке
По завершению работы устанавливается перекрытие либо монолитная плита. В установленном перекрытии обязательно должен находиться люк для выкачивания стоков машиной-ассенизатором.
Выгребная яма из кирпича
Можно устранить промерзание жидкости в яме при помощи утепления крышки, для этого верх стены делают ниже уровня земли на 30 см, устанавливают перекрытие и засыпают его землей, которая обеспечит сохранение тепла.
Рассмотрим также остальные виды сливных ям.
Выгребная яма из колец
Выгребная яма из колец
Сооружение выгребной ямы из железобетонных колец является очень популярным и имеет множество преимуществ, таких как:
- Долговечность (срок службы колец доходит до 100 лет)
- Бетон способен выдерживать процессы гниения и брожения, происходящие в выгребной яме
- Простота использования и монтажа
- Не загрязняет грунтовые воды
- Независимость от уровня подземных вод и типа грунта
Переходим к инструкции по созданию выгребной ямы из колец:
- Вырываем яму, подходящую под диаметр железобетонных колец
Яма для канализации своими руками
- Заливаем дно ямы бетонным раствором.
Соотношение цемента и щебня должно составлять 1:6. Раствор застывает на протяжении 5-7 дней. Если заливание дна осуществляется в жаркую погоду, бетон необходимо периодически смачивать водой, что бы избежать появления трещин и придать раствору еще большей прочности. - Как только бетон застынет, приступаем к опусканию колец. Многие производители железобетонных изделий предоставляют за отдельную плату подъемный кран, без помощи которого не обойтись. С помощью крана опускаем кольца на дно и приступаем к изоляции швов. Швы необходимо изолировать герметическим материалом, таким как жидкое стекло, резиновые утеплители либо даже велосипедная камера. Лучше всего выбирать жидкое стекло, которое необходимо добавлять в цементный раствор, тщательно перемешивать и нанести на стыки между кольцами. Изоляции швов с внутренней стороны обычно хватает, но если на участке наблюдается высокий уровень грунтовых вод, необходимо провести и внешнюю изоляцию, которая дополнительно защитит выгребную яму от влаги.

Установка бетонных колец для выгребной ямы
Рекомендуется выбирать кольца, имеющие «замок», который надежно сцепляет их друг с другом. Если же вы используете обычные кольца, придется дополнительно скрепить их металлическими скобами.
Поверх колец устанавливается бетонное перекрытие, имеющее отверстие для люка.
Делаем выгребную яму из пластика
Пластиковый бак для выгребной ямы
Выгребная яма из пластика является одним из самых простых и удобных способов создания канализационной системы на дачном участке. Краткая инструкция по монтажу выгребной ямы из пластика:
- Определяем место для выгребной ямы
- Подготавливаем яму
- Создаем бетонную подушку (плиту)
- Засыпаем бетонную подушку 10-сантметровым слоем песка
- Опускаем пластиковую емкость в яму
- Подсоединяем сточные трубы к емкости
- Засыпаем яму по периметру бетонно-песочной смесью (соотношение 1:5)
- Засыпаем верхний слой грунтом
Требования к установке пластикового бака для выгребной ямы:
Выгребная яма из пластика
- Размещайте емкость таким образом, что бы исключить изгибы и повороты сточных труб
- Если осуществить требование 1го пункта невозможно, повороты труб должны осуществляться под тупым углом
- Размещайте трубы на глубину 1-1,5 метра, что бы не допустить их промерзание в зимний период
- Если на дачном участке наблюдается неглубокое залегание грунтовых вод, может возникнуть проблема – дно емкости оказывается ниже уровня грунтовых вод.
Что бы решить эту проблему, установите бак в бетонный колодец.
Готовая конструкция выгребной ямы из пластика
Септик для выгребной ямы своими руками
Септик для выгребной ямы своими руками
Для того, что бы создать септик для выгребной ямы своими руками, необходимо соорудить дополнительную яму, глубиной немного больше чем первая. В эту яму опускаются железобетонные кольца на бетонное дно. В верхних кольцах необходимо просверлить отверстие для труб, которые будут переливать воду с одной ямы в другую.
Схема септика для выгребной ямы
Глубина залегания труб зависит от степени промерзания почвы и размеров ямы (если ваш регион славится сильными морозами, глубина залегания труб должна быть не менее 80 см).
Для того, что бы септик функционировал необходимо применять специальные биопрепараты, которые перерабатывают стоки. Очищенная вода с септика переливается в основную яму с которой просачивается в грунт природным путем.
Последним этапом является монтаж сливной трубы.
Уклон труб должен составлять 15 градусов, диаметр 15 см, т.к. данные параметры обеспечивают нормальную проходимость стоков.
Засыпать траншею с трубами необходимо после контрольного спуска воды в канализацию, что бы удостоверится, что канализация работает исправно.
Рекомендуем так же ознакомиться со статьей: туалет для дачи своими руками.
Выгребная яма из бетонных колец
Установка бетонных колец
Канализационная система в загородном доме — часто не что иное, как выгребная яма из бетонных колец и подводящие к ней пластиковые канализационные трубы. Это самая простая, самая дешевая система, которую использует большое количество загородных жителей.
Простота ее возведения заключается в том, что уже готовые бетонные кольца устанавливают по месту назначения и подводят к ним трубы. То есть, здесь нет необходимости обустраивать выгребную яму, как это делали несколько десятков лет тому назад. Вовсе не нужно сооружать ее из кирпичей или блоков с последующей герметизацией и обработкой стен.
Как правильно подобрать кольца?
В настоящее время производители предлагают несколько видов колец, которые отличаются между собой диаметром. Диапазон составляет 0,7-2,5 метра. Оптимальным вариантом для сооружения выгребной ямы будут кольца диаметром 1 метр и высотой также 1 метр.
Бетонные кольца
Для одного небольшого дома потребуется 5 колец, которые создадут объем выгребной ямы в 5 кубических метров. Если необходимо увеличить объем, то берется большее количество бетонных колец, или выбираются кольца с большим диаметром.
Разделение данного изделия производится и по конструктивным особенностям. Сегодня производители предлагают два типа колец для выгребных ям:
- Плоские;
- С замком.
Первый тип — это обычные кольца с плоскими краями. Во втором используется замковое соединение типа паз-гребень. Это достаточно удобная конструкция, которая обеспечивает простоту монтажа и герметичность всей ямы.
Для производства бетонных колец используют цемент марки не ниже М500 с установкой армирующего каркаса из металлической арматуры. В настоящее время производители предлагают бетонные кольца с днищем и крышкой, что значительно облегчает строительство выгребных ям.
Как построить выгребную яму?
Для этого в первую очередь выкапывается яма под бетонные кольца. Размер ее должен превышать диаметр колец приблизительно на 40 сантиметров. Глубина должна быть больше высоты колец, которые приняты к установке, на 20-30 сантиметров.
Затем дно ямы выравнивается и трамбуется. Следующий этап — подсыпка дна крупнозернистым песком, который поливают водой и трамбуют. Так создается своеобразная песчаная подушка, на которую и будут установлены железобетонные кольца.
Установка колец под яму
Дальнейшее развитие событий можно разделить на два пути. Первый — это установка нижнего кольца с днищем. Второй — это монтаж обычных изделий.
Если принимается первый вариант, то застройщик освобождается от трудоемких процессов, связанных с заливкой дна выгребной ямы.
Здесь придется лишь использовать некоторое количество разных строительных материалов, куда входят бетонные компоненты и металлическая арматура для создания армирующего каркаса.
Поэтому специалисты рекомендуют использовать именно первый вариант как самый простой. Но если случилось так, что приобрести модель с днищем не получилось, придется дно ямы заливать бетоном, то есть, создавать само дно.
Как это сделать? Во-первых, закупается необходимый материал. Во-вторых, арматуру нужно подрезать по размерам и уложить на дно ямы в виде решетки. Прутки арматуры между собой необходимо связать специальной вязальной проволокой.
Монтаж ямы
Обратите внимание, что армирующий каркас не должен лежать на самом дне, он должен полностью находиться в теле бетонного раствора. Поэтому необходимо немного приподнять его. Для этого можно использовать куски кирпичей или бетонных блоков.
Теперь готовится раствор, который состоит из:
- 1 части цемента;
- 2 частей песка;
- 3 частей щебня;
- 1/2 части воды.

Для такого раствора обычно используется цемент марки М400. Если марка ниже, необходимо уменьшить и количество наполнителей, и наоборот. Замес можно производить с помощью бетономешалки или вручную лопатами. Но учтите — необходимо сделать такое его количество, чтобы можно было залить дно ямы одномоментно без дополнительного замеса.
Теперь производится заливка бетона на дно. Материал нужно равномерно распределить по всей площади. Обязательное условие — это штыкование раствора для удаления воздуха.
Как устанавливаются кольца?
Установленная яма
Это очень тяжелое железобетонное изделие, поэтому вручную его в яму не опустить. Для этого придется вызывать подъемный автокран, что значительно повышает себестоимость выгребных ям. Но другого варианта нет.
В конструкции бетонных колец установлено 4 подъемных крепежа в виде ушек, за которые они и поднимаются. Изготовлены ушки из катанки диаметром не меньше 6 миллиметров.
Важно правильно подойти ко всему подъемному процессу, особенно к технике безопасности.
Поднимать кольца необходимо за все четыре ушка, при этом равномерность тросов должна быть идеальной. Все должно проходить без спешки, аккуратно.
Сначала опускается нижнее кольцо, которое выравнивается и выставляется с помощью уровня. Затем опускают остальные изделия.
Обязательное условие — это герметизация стыков с помощью специальных герметиков на цементной основе. А также обработка внешних и внутренних стенок выгребной ямы горячим битумом или другими видами гидроизоляционных материалов.
И последний этап — это установка крышки. Ее также поднимают краном и монтируют по месту назначения, хорошо герметизируя зазор между ней и верхним кольцом. После чего зазор между стенками ямы и стенками бетонных изделий, а также крышка засыпаются грунтом.
Вот так сооружается выгребная яма из бетона, а точнее, из бетонных колец. Ничего сложного в данном процессе нет. Конечно, придется провести большой объем земляных работ и использовать дорогую спецтехнику. Но канализация в загородном доме — это необходимая система, которая повышает комфортность проживания в самом доме.
И последнее, что придется учитывать, когда будет сооружаться выгребная яма. Это периодическая ее очистка, для чего необходима ассенизационной машины. Без нее удалить стоки и нечистоты не получится. Поэтому готовьтесь к расходам.
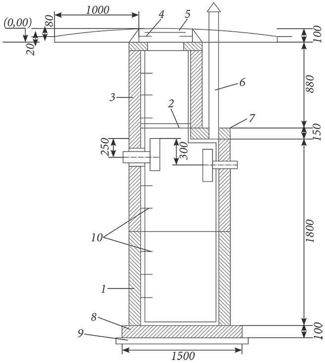
Выгребная яма из бетонных колец.
Наиболее простым средством отвода стоков, в котором биоочистка канализации как таковая не производится вовсе, является выгребная яма.
Она служит лишь для временного сбора и хранения стоков и предполагает надобность в периодической откачке и вывозе стоков ассенизаторской техникой.
Выбор выгребной ямы обычно целесообразен при непостоянном пользовании системой автономной канализации, например при летнем посещении дачи.
Объём выгребной ямы рассчитывают относительно количества человек, которые будут проживать в доме. Наиболее оптимальным вариантом станет выгребная яма из бетонных колец.
По оценкам некоторых экспертов, срок службы такой ямы равен примерно 100 лет.
Такие утверждения основаны на большой прочности бетона, который используется при изготовлении колец. Этот материал способен выдерживать длительные процессы гниения и брожения, которые никак не отражаются на его прочности.
Выбор места расположения выгребной ямы
При выборе места, необходимо знать, на какой глубине находятся грунтовые воды, а так же как на их близость влияют сезонные изменения. Понятно, что определить самостоятельно это не удастся. Близкое расположение к грунтовым водам нежелательно. Яма должна находиться на расстоянии не меньше двадцати пяти метров по диагонали от источника воды. И так, в соответствии с СанПиН 42-128-4690-88 и СНиП СТБ 1077:
- Расстояние от жилого дома – 5 метров.
- Расстояние от забора – 2 метра.
- Выгребная яма должна находиться не ближе 10 метров от центрального водовода и не менее чем в 25 метрах от колодца питьевой воды.

Это основные показатели, которые необходимо учитывать при монтаже. Если вы не планируете применять для очистки биологические препараты, тогда стоит продумать место подъезда ассенизаторской машины. Подъездные пути и место для расположения шланга должны быть свободными.
Особенности выгребных ям без дна из бетонных колец
Простейший вариант, предусмотренный СНиП – выгребная яма без дна из бетонных колец.
Такие сооружения разрешается использовать при суточном объеме сточных вод, отводимых из дома, не более 1 кубометра.
Согласно СанПиН выгребные ямы без дна должны оборудоваться непременно ниже уровня питьевого водозабора во избежание загрязнения воды в колодце канализационными стоками.
При устройстве выгребной ямы необходимо учитывать ряд различных параметров. Так, существуют требования к месту взаимного расположения такой ямы и питьевого колодца в зависимости от вида и свойств почвы на месте, где располагается сливная яма — СНиП предъявляет следующие правила:
- Если на участке преобладает почва глинистая, расстояние должно быть не меньше 20 м.

- В случае суглинистой почвы – 30 м.
- Песчаные и супесчаные почвы предполагают взаимное расположение колодца и выгребной ямы не ближе 50 м друг от друга.
Особенности герметичных выгребных ям из бетонных колец
В том случае, когда в домохозяйстве ежедневно образуется более 1 кубометра сточных вод, следует отказаться от варианта выгребной ямы без дна и рассмотреть возможность сооружения на участке герметичной выгребной ямы.
Герметичную выгребную яму бывают из различных материалов: металлические и пластиковые емкости, монолитные бетон, герметичный колодец из железобетонных колец.
Наиболее экономичным является колодец из бетонных колец. В отличие от металлических емкостей он практически не подвержен коррозии. Значительно дешевле, чем пластиковая емкость, кроме того более устойчив к горизонтальным и ветикальным подвижкам грунтов.
Над колодцем из бетонных колец мотритуется люк, через который производится его обслуживание и переодическая очистка. Наконец из бетонных колец проще и дешевле смонтировать выгребуную яму большего объема.
- Конструкционные особенности. Дно ямы может иметь уклон в сторону технологического люка, предназначенного для ее очистки.
- Выбор места расположения. Как мы уже знаем, расстояние выгребной ямы от здания и от ограждения участка: 10 метров и 1 метр соответственно.
- Периодическая очистка. Герметичная выгребная яма очищается специалистами с помощью ассенизаторской машины.
- Обеспечение свободного подъезда спецмашины к емкости для очистки.
- Возможность образования метана в процессе эксплуатации емкости-накопителя.
Этапы строительства выгребной ямы из бетонных колец
Для того чтобы определить размеры будущей выгребной ямы, необходимо за основу брать количество постоянно проживающих людей в доме.
Если сказать проще, то за основу для расчетов берут один кубический метр на одного человека.
Например, на семью из трёх-четырёх человек, понадобиться герметичная яма объёмом приблизительно в 12 кубических метров. Это с учётом естественных потребностей, наличия стиральной машины. Вычищать ее понадобиться около двух раз в год.
Монтаж сливных труб, должен был быть заложен ещё в проекте дома. Если дом старый и не имел их, то необходимо проложить трубы на глубине не менее 80 сантиметров, соблюдая уклон. Окончательный вывод труб производится на последнем этапе.
После того, как вы определились с объёмом и местом, необходимо выбрать кольца для выгребной ямы. Наиболее целесообразно отдать предпочтение готовым, заводским кольцам.
Купить кольца колодцев можете у нас по телефонам
велком 8 (029) 340-21-81,
мтс 8 (029) 876-67-24
Заказанные кольца привезут в указанное время.
В случае если Вы выбрали выгребную яму без дна, то на дне колодца устраивают подушку из щебня.
Если Вы выбрали герметичную выгребную яму, то на дно котлована монтируется днище колодца (ДНП) либо дно колодца бетонируется
Особое внимание необходимо уделить гидроизоляции колодца. Для этого производят обмазочную (мастиками и жидким стеклом) и проникающую гидроизоляцию колец колодцев. А в раствор заполняющий швы между кольцами добавляют жидкое стекло.
Обычно трех колец вполне достаточно. Но, для того, чтобы яма могла функционировать как септик, целесообразно обустроить это надлежащим образом. Для устройства однокамерного септика с фильтрующим колодцем достаточно смонтировать рядом с герметичной выгребной ямой фильтрующий колодец из бетонных колец, дно в котором бетонировать не нужно.
Подробнее об устройстве септика
Подробнее об устройстве фильтрующих колодцев
Монтаж колектора в выгребную яму осуществляют на глубине около 80 сантиметров.
После устнановки колодца монтируют плиту перекрытия колодцев и смотровой люк.
Зетем производят обратную засыпку котлована с послойным уплотнением.
Все, что вам нужно знать о вашей старой выгребной яме
Выгребная яма , также называемая выгребной ямой или отстойником, представляет собой отверстие в земле, окруженное цементом, камнем, бетоном, кирпичом или другим материалом и используемое для сбора сточных вод из дома. Материал, используемый для стенки ямы, иногда перфорируют, чтобы сточные воды просачивались сбоку. Другими словами, выгребные ямы обеспечивают временное хранение сточных вод до того, как они просачиваются в землю. Первоначально они не были подключены к септику.Сточные воды не подвергались предварительной очистке перед сбросом в нее. Сточные воды направлялись прямо в яму. Так что выгребные ямы были не так эффективны, как сегодняшние септики.
У них не было механизма отделения твердых веществ от жидкостей. Выгребные ямы гораздо легче загрязняют подземные воды. Они также заполнялись намного быстрее и требовали частого опорожнения.
Все эти факторы объясняют, почему отстойники больше не строят на новых объектах. Однако, если вы покупаете дом, построенный очень давно, вы можете обнаружить выгребную яму.
Как работает выгребная яма?
Как мы видели, стены сделаны из нескольких материалов, но все они имеют общую черту: они не являются полностью водонепроницаемыми, чтобы вода могла просачиваться внутрь. Сточные воды будут просачиваться через дно ямы и, возможно, также через стенки. Большинство выгребных ям также имеют септик. Септик используется для удержания твердых частиц, чтобы они не скапливались в яме. Откачивать периодически нужно именно септик, а не выгребную яму.
Как узнать, есть ли на вашем участке выгребная яма
Выгребные ямы были установлены в домах, построенных до 1970 года. Так что, если ваш дом новее, маловероятно, что он у вас есть. Это связано с тем, что правительственные постановления запрещали установку отстойников на новых объектах с 1970-х годов. Если вы не уверены в возрасте вашего дома и в том, есть ли у вас выгребная яма или дренажное поле, вы можете проверить сертификат местонахождения.
Почему запретили выгребные ямы для новостроек?
Старые выгребные ямы, не подключенные к септику, представляли значительный риск для окружающей среды и очень быстро засорялись.Они не очищали сточные воды, а просто сбрасывали их в почву. Сточные воды были сосредоточены в одном месте. Сточные воды, просачивающиеся в землю, гораздо чаще загрязняли артезианскую скважину, грунтовые воды и другие поверхностные воды. Это имело различные последствия для общественного здравоохранения, а также другие нежелательные воздействия на окружающую среду. Выгребные ямы, соединенные с септиком, как минимум очищали сточные воды перед сбросом в отстойник. Однако площадь поглощения была очень ограниченной, и черный ил (биомат) также накапливался очень быстро.Выщелачивающий слой решил эту проблему, увеличив площадь поверхности зоны инфильтрации. Это позволяет гораздо легче обрабатывать сточные воды, поскольку они проникают в принимающую почву и до того, как они достигают грунтовых вод.
Как узнать, вышла ли из строя выгребная яма
Вопреки распространенному мнению, выгребная яма не обязательно должна быть полностью заблокирована, чтобы вы знали, что она больше не работает должным образом.
Хотя это один из самых очевидных признаков, вполне возможно, что выгребная яма все еще собирает сточные воды, даже если она больше не работает должным образом.Вот некоторые вещи, на которые следует обращать внимание при осмотре выгребной ямы.
- Наиболее очевидным признаком неисправного отстойника является то, что отстойник переполнен и больше не может удерживать сточные воды (ни на земле, ни внутри дома).
- Бывает, когда яма загрязнила ручей, болото или колодец с питьевой водой.
- Имеет место, когда уровень жидкости в септике выше сливной трубы, подсоединенной к выгребной яме.
- Возникает, когда дно отстойника опускается ниже уровня грунтовых вод, что приводит к прямому контакту сточных вод отстойника с грунтовыми водами (это очень опасно и его следует избегать любой ценой).
Неисправная выгребная яма загрязняет окружающую среду и может привести к размножению патогенов, вызывающих различные заболевания. Следует очень серьезно относиться к любому признаку сбоя системы и быстро принимать корректирующие меры.
Мы рекомендуем шоковую обработку, которая представляет собой метод занесения миллиардов бактерий в выгребную яму путем добавления биологических добавок.
Бактерии помогут переварить органические отходы, и это поможет системе снова функционировать оптимально.
Должен ли я заменить выгребную яму на выщелачивающую грядку?
Пока ваша старая выгребная яма не загрязняет окружающую среду, правительство разрешает вам оставить ее себе, потому что это право унаследовано от прадеда. Тем не менее, вы будете нести ответственность за то, чтобы выгребная яма не вызывала загрязнения грунтовых вод. Тем не менее, замена старой выгребной ямы на новую септическую систему может быть обязательной при следующих условиях:
- Если ваша яма находится на расстоянии 200 футов (или менее) от общественного колодца, водоема или любого источника питьевой воды
- Если ваша выгребная яма обслуживает нежилые помещения или если ваш дом становится многоквартирным.
- Если ваша выгребная яма переполняется и загрязняет окружающую среду
Сколько стоит замена выгребной ямы?
Замена выгребной ямы новой септической системой будет стоить от 10 000 канадских долларов до 90 005
30 000 канадских долларов.
Однако не все выгребные ямы можно заменить обычной септической системой. На небольших участках и рядом с колодцами и другими водоемами может потребоваться установка передовой системы очистки. Кроме того, вам может понадобиться использовать систему третичной обработки с УФ-лампой для снижения уровня фекальных колиформных бактерий.Усовершенствованные системы добавляют в систему уровень обработки. Они стоят дороже обычных систем. Инженер порекомендует вам тип септика, который лучше всего подходит для вашего объекта.
Заключение
Если ваш дом был построен до 1970-х годов, скорее всего, на участке есть выгребная яма. Пока отстойник находится на приличном расстоянии от источника питьевой воды (не менее 200 футов) и не загрязняет окружающую среду, вам не о чем беспокоиться. Конечно, вам по-прежнему необходимо тщательно следить за своей системой и поддерживать ее должным образом, чтобы избежать любого вида сбоя.Тем не менее, рекомендуется спланировать замену старой выгребной ямы на новую септическую систему, так как она будет лучше очищать сточные воды.
Замена выгребной ямы новой септической системой может показаться дорогостоящей, но, учитывая ее возраст, к сожалению, в ближайшие годы это будет неизбежно.
Замена выгребной ямы | Нью-Джерси | Откачка септика
В некоторых случаях для ремонта септика требуется замена выгребной ямы. До того, как септики стали обычным явлением, сточные воды из домов часто сливались в крытые вертикальные ямы, называемые выгребными ямами.Выгребная яма была ранним предшественником современной септической системы, обеспечивающей подземную систему для удаления переносимых водой сточных вод. Использование выгребных ям было в первую очередь обусловлено удобством, а их расположение определялось в основном ближайшей доступной землей. Иногда выгребные ямы теснили в подвалах городских построек.
Выгребные ямы в настоящее время рассматриваются должностными лицами общественного здравоохранения как нежелательные объекты, отчасти из-за исторического опыта чрезмерно используемых и вышедших из строя систем, а также из-за возросшей озабоченности по поводу защиты грунтовых вод.
Описание процесса замены выгребной ямы
Типичная выгребная яма представляет собой цилиндрическую яму диаметром несколько футов в глубоком грунте. Обычно имеется пористая внутренняя стена из камня, кирпичной кладки, сборных железобетонных колец или другого материала, достаточно прочного, чтобы укрепить почву. Внешняя поверхность (между каменной стеной и внешней грунтовой стеной) засыпается гравием. Есть бетонная крышка, сверху засыпается грунт.
Неочищенные сточные воды стекают в верхнюю часть внутренней камеры.Внутренняя камера удерживает и частично переваривает твердые частицы, а сточные воды просачиваются во внешнюю камеру, заполненную гравием, а затем в окружающую почву.
Эксплуатация и техническое обслуживание
Система предназначена для очистки и удаления обычных бытовых сточных вод. В систему очистки и удаления сточных вод нельзя вводить не биоразлагаемые материалы. Пластик и бумага (кроме туалетной бумаги) являются примерами небиоразлагаемых материалов, которые нельзя выбрасывать в канализацию.
Обычное количество грязи и мелкого небиоразлагаемого мусора (пуговицы, зубная нить и т. д.) от стирки неизбежно попадет в систему. Эти твердые вещества будут удерживаться в септиктенке до тех пор, пока он не будет откачан во время обычного технического обслуживания. Масла и смазки не должны сливаться в канализацию в избыточном количестве. Обычное мытье жирной посуды не считается излишним. Регулярное сливание жира со сковороды, фритюрницы или жаровни в канализацию будет считаться чрезмерным.
Правила сделок с недвижимостью и выгребных ям
Начиная с июня 2012 г. объекты, обслуживаемые выгребной ямой, уборной, надворной постройкой, выгребной ямой или выгребной ямой, не могут быть переведены без установки септической системы.(НЯК 7:9А-3.16(б)). Правила допускают ограниченные исключения из этого правила, такие как передача имущества между членами семьи или бывшими супругами. (NJAC 7:9A-3.16(c)). Кроме того, строительство, установка, чередование или ремонт выгребных ям, уборных, надворных построек, выгребных ям и туалетов с выгребной ямой больше не допускаются (NJAC 7:9A-1.
6(g). Если местный совет здравоохранения обнаружит, что такая система при необходимости ремонта система должна быть заброшена и заменена правильно спроектированной и утвержденной септической системой.(НЯК 7:9А-3.16(а)).
Положение о выгребной яме в качестве собственника недвижимости
Если вы в настоящее время владеете недвижимостью с выгребной ямой на участке, мы можем определить для вас, можно ли отремонтировать выгребную яму или ее необходимо заменить в соответствии с правилами вашего поселка. .
- Панели управления:
- Панели управления насосами для сточных вод – для внутреннего/наружного использования – 115 В/208 В/230 В/240 В Панели
- стоки
- Уборка штана
- Уборка в слива
- Глава высокого давления
- Power Snaking
- Телевизор и видео Осмотры
- Телевизор и видео. Понимание и обслуживание систем насыпей | Округ Гумбольдт, Калифорния
Септики с самотечными дренажными полями уже много лет используются в районах, не обслуживаемых общественной канализацией.
К сожалению, не все почвенные и земельные условия подходят для этих стандартных систем. Для защиты здоровья населения и качества воды нестандартные системы часто используются в районах, где стандартные системы не могут обеспечить безопасную очистку сточных вод. Насыпная система представляет собой тип нестандартной системы, которая обеспечивает:- Циклы дозирования и отдыха
- Равномерное распределение сточных вод
- Известный уровень очистки сточных вод
- Большее расстояние для сточных вод до попадания в грунтовые воды
Следующая информация поможет вам понять вашу систему насыпи и обеспечить ее безопасную работу с минимальными затратами.Типичная система насыпи состоит из 3 рабочих частей:
- Септик
- Насосная камера и насос
- Насыпь с замещающей территорией
Септик
Типичный септик представляет собой большой двухкамерный заглубленный контейнер из бетона, стекловолокна или полиэтилена.
Сточные воды из вашего дома стекают в бак. Тяжелые твердые частицы оседают на дно, где под действием бактерий они частично разлагаются. Большинство более легких твердых частиц, таких как жир и масла, поднимаются вверх и образуют слой пены.Слой жидкости существует между слоями твердых тел и переходит из одной камеры в другую.
Сточные воды, выходящие из септика, представляют собой жидкость, называемую сточными водами. Он был частично обработан, но все еще содержит болезнетворные бактерии и другие загрязняющие вещества. Из бака стоки самотеком поступают в насосную камеру.Надлежащий уход Включает:
- Ежегодный осмотр септика и откачка при необходимости. Если резервуар периодически не откачивать, твердые частицы, выходящие из септика, забьют насос и насыпь.Использование мусоропровода крайне не рекомендуется, так как это увеличит количество твердых частиц, попадающих в резервуар, и потребует более частой откачки.
- Предотвращение попадания вредных веществ в септик.
Никогда не помещайте в резервуар такие материалы, как жир, растительное масло, газеты, бумажные полотенца, окурки, кофейную гущу, подгузники, гигиенические салфетки, растворители, масла, краску или пестициды. Для получения информации о надлежащей утилизации опасных бытовых отходов обращайтесь в Управление по управлению отходами Гумбольдта. - Избегайте использования любых химических или биологических добавок для септиктенков. Такие продукты не являются необходимыми для надлежащего функционирования септиктенка и не снижают потребность в рутинной откачке резервуара.
Насосная камера
Насосная камера представляет собой емкость из бетона, стекловолокна или полиэтилена, собирающую стоки септика. Камера содержит насос, поплавки управления насосом и поплавок сигнализации о высоком уровне воды.Работой насоса можно управлять либо с помощью контрольных поплавков, либо с помощью таймеров. Поплавки управления настроены на включение и выключение насоса на уровнях, обеспечивающих перекачку определенного объема сточных вод на дозу.
Регуляторы таймера настроены на получение как продолжительности дозы, так и интервала или периода отдыха между дозами.Поплавковый сигнализатор высокого уровня воды запускает сигнал тревоги, чтобы предупредить вас о любой неисправности насоса. Если используются таймеры управления насосом, сигнализация также предупредит вас о чрезмерном использовании воды в доме или утечках в систему.Поплавок запускается, когда сток в насосной камере поднимается выше поплавка «вкл/выкл». Сигнализация должна состоять из зуммера и хорошо заметного светового индикатора. Он должен быть подключен к электрической цепи отдельно от насоса.
Напорная труба насоса должна иметь штуцер и клапан для легкого снятия насоса. Кусок нейлоновой веревки или другого неагрессивного материала должен быть прикреплен к насосу для перемещения насоса в камеру и из нее.
Правильный уход Включает:
- Ежегодная проверка камеры насоса, насоса и поплавков, а также замена или ремонт изношенных или сломанных деталей.
Техническое обслуживание насоса должно осуществляться в соответствии с рекомендациями производителя. Проверьте электрические детали и кабели на наличие коррозии. Если на панели сигнализации есть кнопка «нажать для проверки», ее следует использовать регулярно. - Установка фильтра сточных вод септика или сетки насоса, если в вашей системе их нет. Просеивание или фильтрация сточных вод из септиктенка обеспечивает эффективный способ предотвращения засорения насосов и труб твердыми частицами. Осмотр фильтра и его очистка при необходимости выполняются быстро и легко, а также предотвращают дорогостоящий ущерб от попадания твердых частиц в систему.
- Принятие мер по защите насыпи от перегрузки после длительного отключения электроэнергии или отказа насоса. Сточные воды будут продолжать собираться в насосной камере до тех пор, пока насос не начнет работать. При наличии дополнительных стоков в камере насос может дозировать объем больше, чем может выдержать насыпь.
Как только резервное хранилище в камере будет полностью израсходовано, сантехника в вашем доме может быть резервной. Если насос выключен более чем на 6 часов, сократите потребление воды до минимума.
Курган
Насыпь представляет собой дренажное поле, возвышающееся над естественной поверхностью почвы в специальном песчаном наполнителе.
Внутри песчаной насыпи находится гравийная подушка с сетью труб малого диаметра. Сточные воды септика перекачиваются по трубам в контролируемых дозах, чтобы обеспечить равномерное распределение по дну. Сточные воды выходят из труб под низким давлением через отверстия небольшого диаметра и стекают вниз через гравий в песок. Очистка стоков происходит по мере их движения через песок в естественную почву.
Каждая новая насыпь должна иметь специально отведенное место для замены.Она должна быть защищена, если существующая система нуждается в дополнении или ремонте.
Надлежащий уход Включает:
- Знание того, где находится ваша система и зона замены, и их защита.
Перед тем, как посадить сад, построить здание или установить бассейн, проверьте расположение вашей системы и зону замены. - Практикуйте экономию воды и балансируйте потребление воды в течение недели, чтобы не перегружать систему .Чем больше сточных вод вы производите, тем больше должна очищать и утилизировать насыпь.
- Отвод воды с таких поверхностей, как крыши, подъездные пути или внутренние дворики, в сторону от насыпи и зоны замены. Вся насыпь выровнена для обеспечения стока. Строения, канавы и подъездные пути размещайте достаточно далеко, чтобы не нарушалось движение воды из насыпи.
- Не допускать движение транспортных средств, тяжелого оборудования или домашнего скота на насыпь и в зону замены. Давление может уплотнить почву или повредить трубы.
- Правильное озеленение кургана. Не кладите непроницаемые материалы на насыпь или зону замены.
Такие материалы, как бетон или пластик, уменьшают испарение и поступление воздуха в почву, необходимое для надлежащей очистки сточных вод. Трава – лучшее покрытие для кургана. - Периодический осмотр насыпи и склонов на наличие запахов, влажных пятен или всплывающих сточных вод. Регулярно проверяйте контрольные трубы вашей системы насыпи, чтобы убедиться, что уровень жидкости постоянно превышает 6 дюймов.Это может быть ранним признаком проблемы. Позвоните в отдел гигиены окружающей среды округа Гумбольдт, чтобы получить помощь.
Что делать, если сработает сигнализация?
Если по какой-либо причине уровень сточных вод внутри насосной камеры достигает поплавка аварийного сигнала (неисправность насоса, поплавков, контура, чрезмерное использование воды или другая проблема), включается сигнальная лампа и зуммер. При бережном использовании воды (избегайте принятия ванн, душа и стирки одежды) резервное хранилище в насосной камере должно дать вам достаточно времени для устранения проблемы.
Чтобы отключить сигнал тревоги, нажмите индикатор сброса на панели сигнализации. Прежде чем обратиться в сервисный центр или в ремонт, проверьте, может ли проблема заключаться в следующем:- Сработал автоматический выключатель или перегорел предохранитель. Насос должен иметь отдельную цепь с собственным прерывателем или предохранителем. Если он находится в цепи с другим оборудованием, это оборудование может вызвать срабатывание выключателя.
- Отсоединен шнур питания насоса или поплавкового выключателя. Если электрические соединения штекерного типа, убедитесь, что вилки выключателя и насоса имеют хороший контакт в своих розетках.
- Поплавки управления запутались другими частями камеры, такими как шнур питания, подъемный трос или экран насоса. Убедитесь, что поплавки свободно перемещаются в камере.
- Мусор на поплавках и опорном кабеле, вызывающий отключение насоса.
Поднимите поплавки из камеры и очистите.
ПРЕДОСТЕРЕЖЕНИЕ: Всегда отключайте питание автоматическим выключателем и отсоединяйте все шнуры питания, прежде чем прикасаться к насосу или поплавкам.
Не входите в камеру насоса. Газы внутри насосных камер ядовиты, а нехватка воздуха может привести к летальному исходу. Если проблема не может быть обнаружена с помощью описанных выше шагов, позвоните своему специалисту по обслуживанию насосов или местному системному подрядчику для обслуживания или ремонта. Обслуживанием или ремонтом насосов и другого электрооборудования должен заниматься опытный человек.
Выгребные ямы и септиктенки: что нужно знать
Выгребные ямы и септиктенки: что нужно знать
Септики
Септик должен иметь емкость не менее 250 галлонов на каждого человека в доме.Стандартные размеры: 750, 1000, 1200 и 1500 галлонов.
Они могут быть изготовлены из сборного железобетона, пластика или стеклопластика. Старые резервуары могут быть изготовлены из стали, которая со временем часто подвергается коррозии, или они могут быть построены вместо блочной конструкции. Резервуары большего размера часто делятся на две камеры для улучшения отделения твердых частиц. Люки и смотровые окна расположены в крышке для обслуживания и осмотров.Выгребные ямы
Выгребная яма сочетает в себе обе функции септической системы в одной конструкции.Он состоит из большого перфорированного резервуара, в котором происходит сбраживание, окруженного абсорбционным слоем, где взвешенные и растворенные твердые вещества подвергаются окончательному сбраживанию, а вода фильтруется. Выгребные ямы не так эффективны, как другие системы, более подвержены сбоям и их трудно восстановить в рабочем состоянии.
Как работает ваша система септика?
Септик удерживает сточные воды из дома до тех пор, пока твердый мусор не осядет на дне резервуара (слой ила), а более легкие отходы, такие как масло, не поднимутся наверх, образуя слой пены.
Между двумя слоями находится осветленная жидкость, которая стекает в выходной патрубок и постепенно рассеивается через дренажное поле. Бактерии в септике естественным образом разрушают органические отходы и замедляют накопление слоя ила.
Что такое резервная система септика?
Ужасная резервная копия
Резервная копия — это уродливое вонючее месиво. Избыточное накопление твердых частиц сточных вод в резервуаре может оставаться незамеченным, пока в конечном итоге не приведет к отказу системы.Когда это произойдет, дополнительные канализационные и сточные воды могут попасть в ваш дом, вытекая в ваши ванные комнаты, кухонные раковины и прачечную.
Проблемные области
1) Обрушившаяся выгребная яма — заблокируйте корни
2) Скопление тяжелого ила забивает дно.
3) Плохой дренаж.Схема двухкамерного септика из бетонных колец. Септик из бетонных колец своими руками
Все больше людей, приобретающих загородные дома, задумываются о комфортном проживании, которое невозможно без водоотведения.

Наиболее популярны резервуары из бетонных колец, ведь этот традиционный материал имеет множество преимуществ.
Популярность бетонных колец для строительства автономной канализации связана не только с традициями, но и с рядом положительных качеств:
- Бетонные изделия имеют сравнительно невысокую цену. Материалы для строительства бака дешевле, чем готовая станция очистки их пластика.
- Бетон – прочный искусственный камень, устойчивый к перепадам температур, давлению грунта, большим залповым выбросам.
- Такие кольца прочные, а емкости из них вместительные.
Отрицательных качеств у таких септиков не менее:
- Из-за большого веса необходимо нанимать спецтехнику для доставки и установки бетонных колец.
- Отверстия для трубопроводов трудно сделать в бетоне.
- В стенах и стыковых соединениях образуются трещины и сколы, что приводит к попаданию стоков в грунт. Поэтому требуется регулярный осмотр резервуара.

- Такие очистные сооружения из-за большого диаметра требуют больших площадей.
- Распространенная проблема с этими септиками — вонь.
Если для вас преимущества резервуаров для обработки бетона перевешивают недостатки, то перед тем, как приступить к закупке материалов и монтажу, необходимо правильно составить проект.
Как рассчитать объем септика?
Чаще всего бетонная система очистки сточных вод состоит из из двух резервуаров :
- в первом протекают процессы осаждения крупных взвесей и анаэробного разложения загрязняющих веществ;
- после этого частично осветленная вода поступает на стадию почвенной фильтрации, чаще всего представляющую собой фильтрационный колодец.
Более редкой, но идеальной является конструкция из трех баков , при этом во втором можно устроить систему аэрации. Кроме того, трехкамерные септики устанавливаются, если суточный дебит превышает 1 м 3 .
Объем рассчитывается для первого бака для двухкамерного септика и для первых двух баков для трехкамерного устройства в соответствии с требуемой емкостью.
На основании полученного результата рассчитывается необходимое количество колец.Расчеты производятся по нескольким правилам:
- Чтобы рассчитать примерный суточный объем сточных вод, нужно количество проживающих умножить на 200 литров.Полученное значение рекомендуется увеличить на 10-15%, это позволит учесть приход гостей.
- Если расчетный объем оказывается меньше 5000 литров, то он умножается на 3. При большем значении объем необходимо увеличить в 2,5 раза. Это позволяет учесть время пребывания стоков в септике, которое обычно составляет 3 дня.
- Объем одного кольца рассчитывается по формуле объема цилиндра:
В = 3.14 x H x D 2/4 … В нем D — это диаметр кольца, а H — его высота.
- Самый верхний элемент не учитывает 2/3 объема.
Зная размер кольца и количество жильцов, легко рассчитать необходимое количество ЖБИ, выбрать место, закупить все необходимое и приступить к монтажу.

Как сделать септик из бетонных колец: пошаговая инструкция монтажа
Кроме расчетов, подготовительные работы также включают — выбор места и учет природных особенностей.
- бетонный каскад для защиты от атмосферной влаги и обеспечения самотечного движения сточных вод внутри очистных сооружений не должен располагаться в более низком рельефе;
- между очистным устройством и фундаментом должно быть не менее 5 м;
- расстояние до подземных питьевых источников — 50 м, а до водоемов и водотоков — 30 м;
- если подающий трубопровод имеет длину более 10 м, то на нем должен быть установлен люк-лаз;
- при высоком уровне грунтовых вод и слабопроницаемом грунте фильтрационный колодец необходимо заменить одним из видов фильтрационных полей или накопительной емкостью;
- важно учитывать возможность подъезда мусоровоза;
- должны прокладываться при отрицательных температурах почвы.
Трубопроводы
Выбрав место для установки баков, можно переходить к закупке оборудования и подготовке всего инструмента:
- В первую очередь вам понадобятся железобетонные кольца.
… Для отстойника и бака биологической очистки первый элемент можно приобрести с уже существующим дном, либо в процессе монтажа залить самостоятельно. Из ЖБИ также требуются плиты перекрытий. - Необходимо купить чугунные или пластиковые люки в количестве, равном количеству баков.
- Трубы вентиляционные и соединения камер друг с другом и с бытовой канализацией и их арматура.
- Песок для выравнивания траншей под трубы.
- Щебень для фильтрационной скважины.
- Гидроизоляция стыков между кольцами, например, битумная.
- Рубероид для наружной гидроизоляции резервуаров.
- Цемент , жидкое стекло.
- Устройства для резки и соединения полиэтиленовых труб.
- Лопата.
- Мастерок и кисть.
Также важно договориться об аренде подъемного и землеройного оборудования. Можно подготовить яму вручную, но это займет гораздо больше времени.

Раскопки
Перед копанием обычно делается разметка:
- в центр предполагаемой ямы ставится колышек;
- к нему привязана веревочка;
- к свободному концу веревки привязывается второй колышек на расстоянии, равном внешнему радиусу бетонного кольца, плюс еще 20-30 см;
- полученная система очерчивает контуры ямы.
Это делается для каждого резервуара. Глубина ямы должна быть немного больше общей высоты колец , так как нужно учитывать подготовку дна. Дно выравнивается по строительному уровню и трамбуется. Затем заливается бетонное основание, если не куплены кольца с глухим дном.
Для фильтрационного колодца цементное основание не нужно; вместо него насыпается щебеночный фильтр.
На этапе земляных работ готовят траншеи для подводящего трубопровода и труб, соединяющих резервуары, не забывая об уклоне 5 мм на каждый погонный метр.Дно канав засыпают слоем песка 10 мм.
Теперь можно переходить непосредственно к монтажным работам.

Установка и соединение колец
- С помощью крана кольца выпускают строго друг на друга, обрабатывая стыки между ними смесью жидкого стекла и цемента.
- Изнутри контейнера швы дополнительно промазываются битумом для гидроизоляции и соединяются металлическими скобами для прочности конструкции.
- Введен наружный канализационный трубопровод .
- В стенках рабочих емкостей сделать отверстия для подводящих и соединительных труб … Место примыкания 1 и 2 емкостей должно быть на 0,3 м выше, чем между 2 и 3 камерами.
- Фитинги устанавливаются в отверстия.
- Вентиляционная труба крепится к первому баку. .
- Проложить соединительные трубопроводы.
- Состыкуйте резервуары со всеми трубами. Все стыки обрабатываются герметиком, например, жидким стеклом.
- Накройте все контейнеры снаружи рубероидом.
- При необходимости компрессор спускается во второй бак и загружается активный ил.

- Установка потолков и люков .
- Крышка с изоляцией и засыпкой.
Устройство готово к использованию. Простейшие септики могут быть введены в эксплуатацию в течение полугода. Эта процедура ускоряется за счет добавления в емкости специальных бактерий.Правильная работа зависит от регулярного технического обслуживания.
Как обслуживать бетонный септик?
Техническое обслуживание системы Очистка сточных вод включает несколько видов деятельности:
- регулярный контроль количества осадка при осмотре и с помощью деревянной палочки, которую опускают в септик на дно;
- откачка шлама;
- проверка чистоты воды в фильтрационном колодце;
- раз в 5 лет — чистка грунтового фильтра;
- раз в год — проверка компрессора в аэротенке.
Стоимость бетонного септика
Одним из преимуществ бетонных септиков является низкая цена колец. , составляющих основную статью расходов.
Одно бетонное кольцо диаметром 1000 мм и высотой 900 мм без дна стоит около 2 тысяч рублей. Такое же кольцо с донышком стоит на 1000 рублей дороже.На семью из трех человек необходимо около 7 бетонных колец для двухкамерного септика : 4 — на первую емкость, 3 — на вторую.Также нужны 2 плиты перекрытия общей стоимостью 3400 руб., и 2 люка по 1000 руб. Суммарная стоимость всей продукции составит 20 400 рублей без учета доставки.
Услуги автокрана стоят в среднем 1000 руб./час. Также нужно учесть расходы на бетон, гидроизоляцию, щебень и песок, пластиковые трубы. Готовая стоимость самостоятельно установленного двухкамерного септика составит около 25-30 тысяч рублей. Это если копать яму вручную.
Подрядчики
предлагают монтаж канализации из бетонных колец под ключ не менее чем за 50 тыс. руб.
Цена готового пластикового анаэробного устройства очистки сточных вод с доочисткой грунта с аналогичной производительностью не менее 36 тыс.
руб. … При этом оно более долговечно. Его намного проще установить самостоятельно.Сложности при монтаже и эксплуатации могут возникнуть только на тяжелых грунтах с высоким УГВ. В некоторых регионах страны стоимость доставки также будет значительной.В остальных случаях лучше предпочесть пластиковый аппарат бетонному изделию.
Посмотрите видео как сделать септик своими руками:
Большинство частных домов не имеют центральной канализации, что приводит к значительным трудностям с отведением сточных вод. Как быть в такой ситуации? В таких случаях организуется автономная канализация: осуществляется централизованный сбор стоков со всех хозяйственных и хозяйственных построек на участке, которые выводятся в выгребную яму.
Самые обычные выгребные ямы, но время не стоит на месте и на смену им пришли септики. Септики бывают сборными из пластика, а также со станциями глубокой очистки.
Их недостатком является очень высокая стоимость. Альтернативный вариант – установка септика из бетонных колец.

Плюсы и минусы бетонного септика
Положительные стороны:
Надежность конструкции. Железобетон обладает высокой прочностью, долговечностью и способен противостоять агрессивным средам.
Переливной септик из бетонных колец полностью автономен, не требует для функционирования дополнительных элементов, таких как: электричество, насосы, дренажные установки, емкости для аэрации и бактерий и др.
Возможность строительство септиков различных размеров и типов. Это связано с большим разнообразием железобетонных колец: диаметр колец колеблется от 0,5 до 2 метров. Высота колец имеет два варианта — 0.6 и 0,9 метра.
Небольшой септик можно построить самостоятельно, даже без привлечения тяжелой техники. Монтаж не требует специальных навыков и знаний.
Септик прост в эксплуатации – участие человека не требуется.
Для строительства необходим минимальный набор материалов и инструментов.

Отрицательные стороны:
Для строительства септиков большой емкости необходимы манипуляторы.Это связано с большой массой бетонных колец и плит.
Для установки требуется как минимум два человека. Такие септики требуют периодической очистки.
Схема и работа септика
Перед началом работ необходимо определить место и принципиальную схему септика из бетонных колец. Стоит помнить, что бетонный септик должен располагаться на расстоянии не менее 5 метров от дома, не менее 2 метров от хозяйственных построек.При наличии местных источников водоснабжения: 30 и более метров от колодцев и колодцев.
Минимальное расстояние от септика до проезжей части 5 метров. Септик должен располагаться непосредственно на участке.
Септики бывают однокамерные, двухкамерные и трехкамерные. Пример каждого вида септика из бетонных колец можно посмотреть на многочисленных фото нашей подборки в конце этой статьи.

Строительство большего количества камер нецелесообразно.Наиболее популярны двухкамерные септики. Такие септики состоят из двух колодцев, между которыми в верхней части располагается соединительная труба.
В первый колодец поступают сточные воды из всех источников в доме. Он герметичен (имеет бетонное дно). По мере заполнения первой скважины стоки оседают, стоки распадаются на жидкую, твердую и газообразную части.
Твердая часть скапливается внизу, жидкая вверху, а газообразная удаляется через вентиляционный стояк, расположенный в самом верху септика (в плите колодца сделано отверстие, труба снята 0.5-1,0 метра над землей).
Дойдя до отметки штуцера, жидкая часть переливается во второй колодец. Второй колодец имеет осушенное дно (бетонной плиты на дне нет — вместо нее щебеночная подушка).
По мере поступления жидкие стоки накапливаются, оседают и впитываются в почву.
Как сделать септик из бетонных колец? Все начинается с расчета необходимого объема.Требуемый объем
В зависимости от объема сточных вод подбирается и общий объем септика.Для стандартной семьи из 3-4 человек требуется септик объемом около 6-9 куб. Расчет производится исходя из условий расхода воды в сутки на человека: 200 литров/сутки, а также минимального объема приемной дренажной ямы за трое суток.
При наличии 4 человек получаем общий максимальный объем сточных вод с учетом запаса в 200 литров — 1 куб. Это означает, что приемная скважина должна быть не менее 3 куб.
Второй колодец обычно делают такого же объема.Если людей больше, увеличивают количество колец в септике, их диаметр, а также возводят дополнительные камеры.
Максимальный объем трехкамерного септика может достигать 45 кубометров полезного объема.
Подготовка
Определив место для септика и рассчитав необходимый объем стоков, вы легко сможете определить необходимый объем септика.
Количество бетонных колец, плит днища и покрытия зависит от его объема (можно использовать готовые кольца с днищами).После покупки и получения всех материалов необходимо:
Подготовить котлован. Котлован следует копать сразу для всех камер (яма крупная), с запасом для установки колец по 0,5-1 метр с каждой стороны. Глубина ямы должна соответствовать полной высоте септика.
Выровнять дно котлована и засыпать его песчаной подушкой толщиной 0,1-0,2 метра. Утрамбуйте подушку.
Рытье котлована производить только механизированным способом.При сооружении септиков небольших объемов (до 4 кубометров) можно делать это вручную.
Приобрести цемент, песок, щебень, трубы канализационные, мастику битумную, колодец. Убедитесь, что у вас есть необходимые инструменты.
Установка септика
Для строительства септика нужна спецтехника и минимум 2 человека. Монтаж осуществляется снизу.
Дно устанавливается по уровню. Далее:Монтаж колец, покрытий осуществляется с помощью манипуляторов.Кольца устанавливаются на цементно-песчаный раствор, как и все плиты кровли.
После установки колец выполнить обмазочную гидроизоляцию, предохраняющую от влаги как сам септик, так и препятствующую попаданию стоков через стенки септика в грунт.
Проложить соединительную трубу между колодцами септика не менее чем на 0,2 метра ниже входной трубы из дома в приемный колодец. В последнем колодце сделать дренированное щебеночное дно.
Края отверстия для труб в стенах септика заделать цементным раствором. После того, как он затвердеет, хорошенько промажьте это место битумом.
Поддерживать уклон канализационных труб в пределах 3-5%.
Заключение
Бетонный септик не требует много времени и денег. Является бюджетным вариантом решения проблем с канализацией.

Монтаж малых септиков из бетонных колец можно производить своими руками, без привлечения спецтехники.
По окончании работ септик должен быть оборудован вентиляционными трубами, кольца скреплены между собой продольными вертикальными уголками или пластинами. Наиболее рационально размещать септик в самой низкой точке участка.
Фото септика из бетонных колец
Если пластиковые септики не вызывают у вас доверия, сделайте свой собственный, с аэрацией и отдельными камерами.Для этих целей наиболее выгодным вариантом являются бетонные кольца, и сегодня мы расскажем, как правильно их установить, гидроизолировать и проложить внутри коммуникационной сети.
Схема и принцип работы септика с раздельными камерами
Септик – это обобщенное определение многоуровневых систем очистки сточных вод, в основе которых лежит использование естественных биологических процессов.
К сожалению, большая часть «фирменной» продукции — это всего лишь попытка стандартизировать работу КОС, хотя такие сооружения всегда возводились только по индивидуальному проекту, в котором учитывались:- особенности почвы и рельефа;
- уровень грунтовых вод;
- температурный режим;
- химический состав сточных вод.
К этому списку часто добавляют ряд более конкретных индикаторов.
В домашнем строительстве септик из бетонных колец требует чуткого подхода, организации и планирования сооружения во всех возможных режимах, включая аварийный. Все процессы, связанные как с осветлением воды, так и с защитой камер от негативных внешних воздействий, должны быть отработаны до мелочей.
Первая камера представляет собой герметичную колонну первичного отстойника (ПО).Его объем определяется из расчета 200 литров на человека в сутки в течение не менее трех дней при нештатной работе. Вместимость ПП эквивалентна вместимости второй камеры (реактора или аэротенка), соответственно необходимо учитывать возможность трехкратного залпового сброса, предохраняющего септик от самозатопления.

Обычный септик использует гравитационный принцип перемещения воды между камерами и не способствует быстрому развитию бактериальных колоний.Септики, оборудованные системой аэрации и перемещения отходов, имеют ускоренный режим очистки за счет привлечения в процесс аэробных микроорганизмов, но требуют дорогостоящего технического оборудования и энергозависимы: до 1,4 кВтч/сутки и около 3-5 кВтч/сутки. сутки при рабочем отоплении.
В качестве предупреждения сделаем небольшой экскурс по подготовке к обустройству септика. Проложить подземную часть входной магистрали септика трубой ПНД 125 мм SDR 17.Его внутренний диаметр позволяет протянуть около 50 см свободного от раструба конца канализационной трубы диаметром 100 мм. Сливать осветленную воду лучше той же трубой, но диаметром, соответствующим штуцеру сливного насоса.
Какие кольца и как их копать в
Одним из ключевых свойств септика является герметичность камер ПО и аэротенка. Без этого сток будет просачиваться в верхние воды, загрязняя источники питьевой воды, ухудшая характеристики почвы, что привлечет внимание служб санитарно-эпидемиологического надзора.

При работе с кольцами трудно добиться глухой гидроизоляции: зимнее пучение разбивает стыки, кольца смещаются от подвижек грунта. Одних только качественных изоляционных материалов недостаточно, необходима кольцевая система крепления.
Еще одна проблема любой герметичной камеры в том, что ее эквивалентная плотность может быть ниже плотности грунта, поэтому со временем септик начнет продавливаться. Все это приводит к выводу, что стандартного кольцевого колодца методом последовательного рытья явно недостаточно.
Кольца
должны использоваться с четвертью (замком) для надежной посадки. Сначала выкапывается яма необходимой глубины, диаметром больше колец на один метр. Дно заливают в два этапа. Первый нижний слой 80 мм, армированный сеткой, с четырьмя диаметрально удаленными от центра к внешнему радиусу кольца анкерными вставками. Второй слой заливают на следующий день пескобетоном 30 мм, затем перед схватыванием нижнее кольцо опускают в котлован и устанавливают между закладными.

Предварительно кольца первых двух камер необходимо обработать одним или двумя слоями обмазочной гидроизоляции. Замки на торцах вскрываются особенно тщательно, и при установке каждого нового кольца наносится свежий слой мастики. Через стены рекомендуется крепить П-образные скобы с резьбой на концах из окончательного расчета через каждые 40 см.
После установки вала его закрывают колпаком с выпуском по бокам не менее 150 мм на уровне 100-120 см от земли.По месту расположения закладных элементов в крышке сверлятся отверстия диаметром 16 мм, затем емкость стягивается термоармированной арматурой диаметром 14 мм на резьбовых отводах. Горловину каждой камеры можно собрать из колец, но при высоком уровне грунтовых вод лучше отлить монолитно с колпаком или устроить глиняный замок на уровне верхней воды.
Снаружи колонны покрыты слоем вспененного пенополиуретана, возможно с подложкой из фольги.Не с целью утепления, а как средство, компенсирующее набухание почвы, и предотвращающее ее промерзание до колец.
Оставшееся пространство можно заполнить дорожным щебнем, но чаще его засыпают выкопанной глиной — это зависит от типа и состава местного грунта.Не все контейнеры одинаково запечатаны
Вода, выходящая из второй камеры, на 99% свободна от твердых частиц и жира, но является биологически загрязненной и требует дополнительной очистки в почвенном слое.Так вот, вопреки «глашатаям» от маркетинга, сливать воду из септика на рельеф категорически нельзя.
С функцией поля фильтрации прекрасно справляется колодец из перфорированных колец. Можно вкапывать кольца последовательно, но все же лучше начать с ямы и устроить по бокам 20-сантиметровую отсыпку щебнем, предвидя заиление ям. Для упрощения земляных работ можно заменить один глубокий контейнер парой более мелких.Фильтрующий колодец также предпочтительнее вынести из камер септика на 5-7 метров, чтобы почва вокруг камер меньше насыщалась влагой.
При укладке верхних колец не забудьте оставить закладные, соединяющие первую камеру со второй, а вторую с третьей посредством отрезков трубы ПВХ 110 мм, расположенных с разницей в уровне 50 см.
Трубу ПНД уложить с диаметром 70 мм от дна второй камеры до середины первой.Также не забудьте соединить аэротенк трубой ПНД с фильтрующим колодцем. Выходы труб в первые камеры заделывают и заделывают, затем комплектуют вертикально ориентированными тройниками так, чтобы переливающаяся жидкость бралась из слоя на 2-3 метра ниже поверхности, где нет твердого ила и легких осколков.1 — канализационная подводящая труба; 2 — тройник; 3 — первичный зумпф; 4 — аэротенк; 5 — дренажный колодец; 6 — труба ПНД Ø110; 7 — труба ПНД Ø70; 8 — щебень (гравий)
Система аэрации септика
Для поддержания жизнедеятельности аэробных бактерий через очищенные сточные воды необходимо периодически пропускать воздух — около 1300 л·м 3 /ч.Чем больше пузырьков воздуха распылено, тем эффективнее и быстрее происходит аэрация. С этой задачей хорошо справляются мембранные диффузоры, используемые на рыбных фермах для подачи кислорода в бассейны. Их нужно располагать в метре от дна аэротенка в количестве от одной до трех штук, в зависимости от размера и производительности всей системы.

1 — компрессор; 2 — силиконовые трубки; 3 — мембранный диффузор
Диффузоры соединяются с помощью силиконовых трубок, выведенных через переливные патрубки к горлышку контейнера.Компрессор может располагаться как на оборудованной площадке внутри аэротенка, так и в оборудованном рядом с баками кессоне.
Перемещение масс между камерами
Септик должен быть снабжен погружным шламовым насосом, который не только предотвратит затопление, но и поможет при периодической очистке от скопившегося шлама. По умолчанию он подвешен посередине второго бака, но поплавок выведен на полметра выше выпускного отверстия. Так насос срочно избавится от лишней осветленной воды, сбросив ее в фильтровальный колодец, и не даст затопить септик.
1 — кабель; 2 — поплавок; 3 — дренажный насос; 4 — трубчатый диффузор
Активный ил закачивается в первичный отстойник через вторую трубу между камерами, что ускоряет рост бактерий и работу всего септика. Чтобы не использовать еще один насос, конец трубы плавно опускается на 30 см от дна, а внутри устанавливается производительный трубчатый диффузор, который работает как эрлифт с высотой подъема до двух метров.

Комфортное существование невозможно без канализации.В частном доме или на даче это обычно выгребная яма или септик. Второй вариант более экологичный и безопасный – септик. Он разлагает отходы на нерастворимые осадки, которые оседают на дно, образуя ил, и достаточно чистую воду, которую обычно сбрасывают в грунт для дальнейшей дополнительной очистки. Наверное, самый популярный вариант этой установки – септик из бетонных колец. Технология его возведения проста, построить можно своими руками, стоимость сравнительно невысокая.Это объясняет его популярность.
Устройство и принцип работы
Септик из бетонных колец лучше размещать на хорошо дренируемых грунтах, не склонных к морозному пучиниванию. Корпус септика состоит из нескольких колец, поставленных друг на друга. Даже если у них есть язычки для лучшей фиксации, даже если они сшиты вместе, морозное пучение их сдвинет. В результате – протечки и дорогостоящий ремонт. И не факт, что после ремонта снова не сдвинется с места.
Поэтому делать септик из бетонных колец рекомендуется на супесчаных или супесчаных грунтах.Если грунты хорошо дренируют воду, уровень грунтовых вод низкий, имеет смысл отводить воду из септика в дренажную колонку. Такое устройство является наиболее оптимальным. При высоком уровне грунтовых вод очищенные сточные воды отводятся на дренажные поля. Их устройство требует больших площадей и не менее значительного объема земляных работ, но иногда работает только такая система.
Схема септика представлена на фото выше.Он состоит из двух рабочих камер, соединенных переливом. В них происходит процесс очистки. Третья колонна представляет собой дренажный колодец (вместо него может быть поле фильтрации), через отверстия в нижней части которого очищенная вода уходит в грунт. Это вкратце об устройстве септика из бетонных колец. Теперь о самом процессе.
Сток поступает в первую камеру. Он герметичен, с максимально ограниченным потоком воздуха. В условиях дефицита кислорода в ней протекает основной процесс разложения.
Органическое вещество перерабатывается микроорганизмами и бактериями. Органические вещества распадаются на более или менее чистую воду и нерастворимые вещества, которые выпадают в осадок и скапливаются на дне камеры.Через переливную трубу вода с меньшим загрязнением поступает во вторую камеру. В нем продолжается процесс очистки, но здесь он происходит с обязательным участием кислорода. Поэтому вторая камера оборудована вентиляционной трубой. Здесь остатки органики разлагаются и оседают на дно.Практически чистая вода сбрасывается в дренажную колонку и уходит в грунт, где происходит их окончательная доочистка.
Размеры камер септика и их количество
Для эффективной очистки стоков они должны находиться в септике не менее 3 суток. Исходя из этого, определяются размеры камер.
Как определить объем септика
По стандарту минимальный объем септика равен трехкратному суточному потреблению воды.На одного человека приходится 200-250 литров.
Итого, если у вас в семье 4 человека, то минимальный объем 3 куба. Столько и должны вместить накопительные баки, то есть первые две камеры. Третий — фильтрующий столбец — никак не относится к накопительным, поэтому не учитывается.Речь шла о стандартах, которые действуют в России. В Европе минимальный объем септика составляет 6 куб. И многие считают, что такие размеры более «правильные».Большие объемы сточных вод дольше хранятся в накопительных баках, а значит, лучше очищаются. При использовании нативного стандарта, в случае прихода гостей, легко «переполнить» норму. В результате неочищенные сточные воды попадут в колонну фильтрации, что загрязнит ее и всю прилегающую территорию. Устранение последствий – дорогостоящая и сложная процедура.
Даже если вы решили придерживаться российских норм, при наличии санузла, стиральной и посудомоечной машин, необходимо увеличить объем хотя бы на величину залпового сброса всех этих устройств (санузел — 300 литров, стиральная машина и посудомойка 50 и 20 литров, все вместе — будем считать 400 литров или 0.
4 кубометра).В соответствии с расчетным объемом подбираются размеры колец и их количество. Диаметр бетонного кольца может быть от 80 до 200 см, иногда встречаются кольца диаметром 250 см. Высота от 50 см до 1 м. В таблице ниже приведены размеры стандартных железобетонных колец, их маркировка, вес и объем. В графе «размеры» через дробь указывают наружный диаметр, внутренний диаметр и высоту. Все значения указаны в миллиметрах.
При расчете имейте в виду, что фактический объем колонны должен быть выше расчетного – стоки никогда не заполняются полностью, а поднимаются только до уровня установленных переливных труб. Именно до уровня этих труб следует разместить расчетное количество стоков.
Количество столбцов
В септике может быть три накопительных камеры (кроме фильтрующей колонны). Иногда такое устройство более практично — если требуется, например, установить в каждую из колонн шесть и более колец.Глубина ямы в этой ситуации получается большой.
Удобнее/выгоднее сделать три столбика из четырех колец.Возможен и обратный вариант — требуется небольшой объем септика. Происходит это на дачах периодического приезда с небольшим количеством обслуживающих его дачников. В этом случае колонку можно собрать в одиночку, разделив кольца внутри герметичной перегородкой. и сделать переливное отверстие на необходимом уровне.
Как сделать
Наиболее распространен линейный принцип построения.Все столбцы выстроены. Накопительные резервуары можно располагать поблизости, а фильтрующие — на некотором расстоянии от них и желательно подальше, чтобы стекающая вода не насыщала почву и не замерзала, усиливая явления морозного пучения.
Общие правила для столбцов хранения
Кольца для септика лучше брать с замками. Их легче монтировать, они меньше смещаются при морозном пучении, степень герметизации выше.Перед монтажом желательно обработать их обмазочной гидроизоляцией. Хорошие результаты дают битумная мастика и пропитка глубокого проникновения на цементной основе (типа «Пенетрон»).
При такой обработке из септика ничего не вытечет, а внутрь не попадут грунтовые воды.Остальные правила устройства септика из бетонных колец следующие:
- Оптимальное расстояние между накопительными колоннами 0,5 м. Этот зазор, заполненный грунтом, будет служить буфером при движениях грунта.
- На дно котлована насыпают и утрамбовывают слой щебня толщиной около 20 см. Его утрамбовывают до высокой плотности, лучше – с помощью мощной трамбовки. Поверхность заливки должна быть строго горизонтальной и ровной, без перепадов. Плоскость проверяют с помощью строительного уровня длиной не менее 1,5 метра (лучше 2 метра).
- На утрамбованный щебень:
- Все последующие устанавливаются на первое кольцо. Стык каждого тщательно герметизируется. Можно перед установкой кольца сбоку выложить слой того же аквацемента.После установки всех колец стыки еще раз промазывают гидроизоляционным раствором изнутри и снаружи. Использовать внутри ядовитые составы нельзя – бактерии, реагирующие на разложение биовключений, погибнут и септик работать не будет.

- Для более прочной фиксации колец их соединяют металлическими скобами (устанавливаются снаружи. Места «входа» скоб забетонированы, покрыты гидроизоляцией.
- Целесообразно утеплить верхнюю часть септика (выше глубины промерзания).Для этого используется полистирольная «скорлупа» или приклеивается нарезанный на полосы пенополистирол. Стоки, конечно, теплые, но в сильные морозы есть риск образования наледи, что снижает эффективность очистки. Поэтому изоляция желательна.
- Горловины из соображений экономии делают в верхней части колонн септика. Канализационные трубы вдоль участка обычно закапывают ниже глубины промерзания грунта. В средней полосе России она составляет 1,5-1,7 метра.И они тоже должны идти с уклоном. Пусть уклон небольшой, но так как длина дорожки большая (не ближе 8 метров от дома), то набегает вполне приличная сумма. Итого получается, что канализация заходит в септик около отметки 2 метра и вся часть колонки, которая расположена выше, пуста.
Вот и уменьшают с помощью голован, что можно сделать: - Переливная труба между камерами септика изготавливается диаметром 110-120 мм.Он может быть изготовлен из асбеста или пластика. Его вход тщательно запечатан.
- Впускная труба, идущая из дома, и переливные трубы между камерами оборудованы тройниками. Это направляет стоки вниз, предотвращая размывание корки (это необходимо для лучшей очистки стоков). Иногда тройники оснащаются патрубками, уходящим вниз.
- Расположение переливных труб определяется уровнем входной трубы (от дома). Перелив на противоположной стене должен быть на 5 см ниже этого уровня.Между второй камерой отстойника и фильтрующим колодцем перелив можно сделать на том же уровне, или опустить его на те же 5 см.
Особенности сооружения фильтрационной скважины
При устройстве фильтрационной колонны котлован выкапывается до грунтов, хорошо отводящих воду. На дно насыпают слой щебня толщиной 20-25 см, поверх него слой песка толщиной 30-40 см.
На эту засыпку устанавливаются кольца без дна. В некоторых случаях ставится перфорированное кольцо — отверстия диаметром не менее 30-50 мм (есть, кстати, и заводские).При установке перфорированного кольца грунт вокруг него также целесообразно заменить щебнем. Это необходимо для того, чтобы вода лучше стекала. В остальном конструкция фильтрующего колодца из бетонных колец такая же.
Как закопать кольца септика
Самый распространенный способ – вырыть общий котлован, установить кольца краном, проложить переливные трубы, заделать все стыки/щели, заделать, утеплить, затем засыпать и уплотнить грунт. Все хорошо, за исключением того, что количество выкопанного грунта очень велико.Чтобы все сделать быстро, проще воспользоваться услугами экскаватора. Вручную, своими руками, это долго, а если нанять бригаду «ментов», то получится долго и дорого. Обычно стоимость бригады землекопов сопоставима со стоимостью вызова спецтехники. Просто техник работает несколько часов, а бригада — несколько дней.
Но, возможно, такая ситуация не во всех регионах.Есть второй способ закопать бетонное кольцо — методично удалить грунт внутри кольца и под стеной.Под собственным весом кольцо падает. Но так закапывают только кольца без дна. Дно придется заливать позже и оно будет исключительно внутри кольца, что сильно снижает надежность септика. Кроме того, при таком варианте невозможно утеплить септик, кроме как выкопать его на глубину промерзания. Придется еще копать траншеи для прокладки переливных труб. Довольно проблемный метод для септиков, но тоже можно использовать.
Экономичный септик из бетонных колец
Линейное расположение колонн септика требует солидной площади, приходится вывозить большой объем земли. Также каждая из колонн должна быть оснащена горловиной, что еще больше удорожает конструкцию. Есть интересный вариант с установкой всех столбиков треугольником. уже есть экономия места и уменьшение объема земельных работ.
Вторым моментом экономии является то, что ревизионный вход можно сделать от одного до трех колец.
Только все переливы должны быть установлены в зоне его наличия. Других особенностей нет.Наличие септика на участке – это не только вопрос комфорта, но и санитарно-гигиеническая необходимость. Такое устройство требуется как в доме, при условии постоянного проживания, так и на дачном участке, куда периодически приезжают. Важно лишь подобрать конструкцию, оптимальную для конкретных условий. .
Септик своими руками из бетонных колец, схема и расположение которого правильно подобраны, будет иметь максимальную эффективность.Важно для тех, кто решает, как сделать септик из бетонных колец своими руками: схема конструкции может включать от одной до трех емкостей , причем с увеличением их количества повышается эффективность, потребность в услуги канализатора уменьшаются, но и стоимость проекта увеличивается.
Для наглядности следует более подробно рассмотреть наиболее полный вариант схемы септика из колец с использованием трех емкостей.
Загрязненная вода собирается в первый, самый крупный резервуар, где происходит отстаивание и осаждение наиболее крупных фракций, после чего частично очищенная вода проходит аналогичную процедуру во втором резервуаре, конструктивно практически не отличающемся от первого (иногда желательно сделать его чуть меньше по объему).

Во втором баке оседают мелкие включения, вода становится относительно чистой и поступает в третий бак. Его отличительной особенностью является наличие фильтрующего слоя вместо бетонного днища …Проходя через дренажный слой, вода избавляется от остатков загрязнения и уходит в грунт.
На фото пример установки септика из бетонных колец своими руками — схема из трех емкостей
Если выбран двухбакный септик из бетонных колец, то схема может включать два бака с бетонным дном или один с бетонным дном и один с фильтрующим слоем.
Однокамерные модели собирают только сточные воды и частично осаждают нерастворимые включения.Такие модификации дешевы, но малоэффективны и подходят только для периодически посещаемых дач. Удаление загрязненной воды из однокамерного септика может осуществляться только с помощью ассенизаторской машины. Аналогичная очистка требуется как для двухкамерных, так и для трехкамерных конструкций, однако необходимая частота откачки в этих случаях значительно меньше.

Тем, кто ищет самые простые варианты, советуем обратить на это внимание, это можно сделать буквально за один день.
Об особенностях организации канализации в бане мы.
Нюансы дизайна и полная комплектация
Чтобы септик, сделанный своими руками из колодезных колец, не выдавал своего присутствия неприятным запахом и не оказывал вредного влияния на состав почвы или воды в близлежащих водоемах, важно не пренебрегать нюансы и обустроить конструкцию в соответствии с требованиями.
Так сливная труба (предпочтительнее пластмассовые изделия) должна иметь уклон 2 см на метр длины по всей длине и входить в бетонный участок не глубже 20-25 см от верхней кромки верхнего кольца.Однако на практике очень часто вход трубы в секцию происходит значительно ниже при рытье траншеи и укладке труб глубже уровня промерзания грунта (примерно 1 м.)
Особенностью первой секции является наличие бетонного дна, что сводит к минимуму вероятность попадания грязных стоков в грунт.
Аналогичным образом устраивают первую секцию при выборе двухкамерного септика, а также единственный резервуар однокамерных моделей.Схема септика из бетонных колец на три-две емкости предусматривает заполнение дна последней из емкостей материалами, способными задерживать крупные и средние нерастворимые включения при их наличии и выводить жидкость в грунт.Для этого можно использовать песок, гравий или керамзит, а оптимальным решением будет послойная укладка материалов разной фракционности .
Предварительные расчеты
Причиной неэффективности сооружения или неудобства его эксплуатации может быть не только нарушение технологии на этапе строительства, но и ошибка в расчетах при определении необходимого объема и оптимального расположения сооружения.
Исходя из среднего объема водопотребления (на человека в сутки требуется около 200 литров воды) принято выбирать следующие объемы септиков из железобетонных колец:
- на 2-3 человека — 1.
5 куб. м (в этом случае нет необходимости устанавливать трехкамерную конструкцию, при правильной организации дренажа и очистки достаточно будет двух камер), - для 4 человек оптимальные баки 2 куб.м. м,
- при устройстве одного септика на 2-3 семьи (10-12 человек), проживающих в отдельных частях дома, потребуется объем не менее 5 куб.
Объем септика устанавливается с учетом того, что на полный цикл очистки сточных вод уходит в среднем 3 дня, поэтому емкость должна держать трехдневную норму без риска переполнения.
При выборе места сооружения следует соблюдать следующие требования по удаленности септика от тех или иных объектов:
- от природных природных водоемов — не менее 30 м,
- от места забора питьевой воды — не менее 50 м,
- от плодовых деревьев, овощных грядок — не менее 3 метров,
- от дороги не менее 5 м (важно обеспечить возможность беспрепятственного подъезда крупногабаритных транспортных средств, так как через определенные промежутки времени необходимо будет подъезжать к ассенизаторской машине для откачки сточных вод, а во время уборки септик — утилизация материала дренажного слоя).

Монтаж конструкции
Преимущества
Сделав своими руками септик из бетонных колец, вы можете быть уверены, что он будет отличаться долговечностью и эффективностью. При правильной эксплуатации он практически не изнашивается, не портится и прослужит десятки лет. При этом вам не придется тратить много денег на обслуживание.
Департамент здравоохранения — Департамент здравоохранения округа Кэрролл
Гигиена окружающей среды — Удаление сточных вод
Профили индивидуальной локальной системы удаления сточных вод (OSDS)
Во многих районах округа Кэрролл отсутствуют общественные канализационные системы для удаления бытовых отходов.В таких районах на участке каждого домовладельца устанавливаются индивидуальные септические системы для удаления переносимых водой отходов из дома. Хотя общественная канализация предпочтительнее, хорошо спроектированная, правильно построенная и должным образом обслуживаемая септическая система может, в пределах ее ограничений, обеспечить удовлетворительный срок службы.

Если вы планируете построить дом с септической системой, обязательно обсудите конструкцию системы с Департаментом здравоохранения, чтобы убедиться, что она соответствует вашим потребностям. Эта информация не содержит критериев для строительства или планирования септической системы.Каждая система должна быть индивидуально разработана для удовлетворения потребностей конкретного дома, который она должна обслуживать.
Септическая система (индивидуальная система канализации на участке) может быть построена после получения разрешения Департамента здравоохранения. Перед выдачей разрешения необходимо провести тесты на просачивание почвы, чтобы определить скорость, с которой почва может поглощать жидкость, подлежащую сбросу из септиктенка.
Тем не менее, могут возникнуть проблемы. Условия могут измениться. Количество людей, обслуживаемых системой, почва или поток сточных вод могут варьироваться настолько, что система выйдет из строя.Это может произойти, даже если проектирование и установка септической системы были одобрены Департаментом здравоохранения.

Отсутствие обслуживания само по себе может привести к выходу из строя хорошо спроектированной системы. По этим причинам никто, включая Департамент здравоохранения, не может гарантировать непрерывное функционирование какой-либо септической системы, поскольку эти системы ограничены по мощности и сроку службы. Тем не менее, надлежащее техническое обслуживание может помочь домовладельцу продлить срок службы септической системы и получить от нее наилучшее обслуживание.
Поскольку техническое обслуживание необходимо, домовладелец должен иметь схему расположения септической системы. На нем должно быть указано расположение дома, септика, распределительной коробки (если она есть), насосной ямы (если есть), места сброса сточных вод и колодца подачи воды. Попросите своего подрядчика предоставить такую схему, получить копию разрешения на удаление сточных вод или начертить его.
Чтобы обслуживать септическую систему, вы должны знать (1) что это такое, (2) где она находится, (3) как она работает и (4) когда ее следует обслуживать.

Септик обычно имеет прямоугольную форму и сделан из бетона, хотя существуют некоторые резервуары из бетонных блоков и стали. Он похоронен под землей на территории дома, который обслуживает. Резервуар обычно предназначен для удержания в течение 24-36 часов сточных вод, вытекающих из дома каждый день. По этой причине в некоторых домах требуются резервуары большего размера, чем в других. Размер септика определяется возможной вместимостью дома и другими факторами. Резервуар большего размера обеспечивает более обширное разложение и, как правило, дает лучший сервис.
ПРОФИЛЬ СЕПТИКА
В верхней части резервуара обычно имеется люк или очистные трубы диаметром шесть дюймов с крышками, выходящими на поверхность. Старые установки септиков часто полностью закапывали, хотя в верхней части было встроено отверстие для очистки с крышкой. В эксплуатации находится много резервуаров обеих конструкций. Сточные воды по канализации дома попадают в бак. Более тяжелые твердые частицы оседают на дно и разлагаются, образуя шлам.
Более легкие твердые вещества, жиры и жиры поднимаются на поверхность жидкости, образуя пену.Центральный слой жидкости представляет собой воду, содержащую растворенные и взвешенные сточные воды. Она вытекает из резервуара через выпускную трубу на плиточное поле, глубокую траншею, песчаную насыпь или дренажную яму. Отверстие выпускной трубы погружено в жидкость ниже слоя накипи, чтобы предотвратить попадание этого вещества в трубу. Плиточное поле, глубокая траншея, песчаная насыпь или дренажная яма являются второй частью системы.Эти конструкции позволяют жидкости, вытекающей из резервуара, просачиваться в почву на большой площади, поэтому эта жидкость может впитываться в землю.
Советы по правильному обслуживанию септика
При продолжительном использовании септика глубина как слоя накипи над жидкостью, так и ила под ним увеличивается. Если резервуар не запущен, одно или оба этих вещества в конечном итоге могут достичь выпускной трубы, а затем попасть в поле плитки, глубокую траншею, песчаную насыпь или дренажную яму и засорить систему.
Осложнения также могут возникнуть, если через систему протекает больше жидкости, чем может поглотить окружающая земля. Замена системы часто является единственным решением.ДЛЯ НАИЛУЧШЕГО ОБСЛУЖИВАНИЯ РЕКОМЕНДУЮТСЯ ЭТИ МЕРЫ ПРЕДОСТОРОЖНОСТИ:
- Ознакомьтесь с расположением компонентов вашей септической системы. Проверьте свою схему.
- Не позволяйте автомобилям проезжать через любую часть вашей подземной системы. Подземные трубы могут быть раздавлены или сломаны, что может привести к остановке работы системы.
- Не сажайте деревья или кустарники на системе или рядом с ней. Их корни могут проникнуть в поля и засорить их.
- Не перегружайте септическую систему. В септик должны поступать все сточные воды из вашего дома, в том числе из посудомоечных и стиральных машин, а также из измельчителей мусора.
- Дождевая вода из водосточных желобов, водоотливных насосов, вода из канализации фундамента или другая относительно чистая вода не должна направляться в ваш септик или поле для утилизации.
Это может привести к затоплению резервуара, взбалтыванию содержимого и переносу некоторых твердых частиц или жира на поля для утилизации, песчаную насыпь или дренажную яму. - Для лучшего обслуживания кухонные жиры и жиры следует выливать в одноразовый контейнер, который можно выбросить вместе с мусором или мусором. Если эти вещества вылить в кухонную раковину, они, как правило, доставляют неприятности, так как затвердевают в канализационных трубах и увеличивают слой накипи в септике.
- Раз в год проверяйте уровень твердых частиц в аквариуме, чтобы определить, нуждается ли он в очистке. Вы можете сделать это, выполнив действия, описанные в конце этой брошюры в разделе «Проверка септика».
- Узнайте в Департаменте здравоохранения список лицензированных перевозчиков сепараторов, который указан на желтых страницах вашего телефонного справочника в разделе «Септиктенки и системы». Они оборудованы для очистки твердых частиц и накипи из вашего септика. Невыполнение очистки септика, когда это необходимо, приводит к тому, что твердые частицы и пена попадают в поле для утилизации или в дренажную яму.
В этом случае зона просачивания может забиться, и сточные воды будут выброшены на поверхность земли или обратно в дом. Это создает опасность для здоровья вашей семьи и соседей.Кроме того, когда ваша септическая система выйдет из строя, раковины и туалеты не будут стекать. Коррекция может быть дорогой. Некоторые исправления требуют постоянных денежных затрат. - Промывка дрожжей или химикатов в систему не уменьшит содержание твердых частиц в баке; это не замена чистке. Если бы такие продукты имели ценность, Министерство здравоохранения первым предложило бы их использование. Естественные бактерии в резервуаре обеспечивают наиболее эффективный метод очистки. С другой стороны, обычно используемые количества отбеливателей, очистителей и химикатов для прочистки канализации настолько малы по отношению к вместимости септиктенка, что не мешают работе системы.
- При очистке резервуара в нем должно оставаться небольшое количество шлама. Это обеспечивает бактерии для процесса разложения.

- Если у вас есть какие-либо вопросы или проблемы, ПОЗВОНИТЕ В МЕСТНЫЙ ОТДЕЛ ЗДРАВООХРАНЕНИЯ. Их персонал проконсультирует и поможет вам в любом случае они могут.
- ПОЖАЛУЙСТА, ЗАПОМНИТЕ ДВЕ ВАЖНЫЕ ИНФОРМАЦИИ: Вы несете ответственность за уход и техническое обслуживание вашей частной канализационной системы. Переполнение септической системы — это человеческие отходы, которые могут переносить болезни, вызывать неприятные запахи и привлекать мух.Вам нужно предотвращать или исправлять поломки, чтобы защитить свою семью и соседей. Когда переполненная частная канализационная система создает опасность для здоровья местного населения, Департамент здравоохранения должен принять меры — часто действия против вас. Во-вторых, помните, что ремонт заброшенных систем может быть очень дорогим. Деньги, сэкономленные на отсутствии технического обслуживания, очень быстро теряются при замене вышедшей из строя системы. Если ваша система не проверялась в течение последних двух лет, было бы разумно сделать это.

Как проверить септик
Это можно сделать с помощью самодельных инструментов, один для проверки глубины ила и один для проверки уровня накипи.
Для проверки глубины ила используйте шест или шпильку размером 2×2 дюйма длиной около восьми футов. Обвяжите грубое турецкое полотенце вокруг шеста на расстоянии трех футов от одного конца. Снимите крышку люка или крышку прочистного отверстия, ближайшую к выпускной трубе. Проделайте шестом отверстие в слое накипи. Протолкните конец стержня с полотенцем через жидкость, пока не почувствуете сопротивление. Это слой ила. Протолкните стержень через ил, пока стержень не достигнет дна резервуара. Если глубина ила составляет одну треть или более глубины жидкости, необходима очистка.Некоторые власти рекомендуют чистить, когда осадок достигает глубины в один фут.
Чтобы проверить уровень накипи, используйте другой шест или шпильку 2×2 длиной около восьми футов. Прибейте плоскую доску размером около четырех дюймов к одному концу.
(Столб с прикрепленной доской должен выглядеть как буква «Т».) Протолкните конец с прикрепленной доской через слой накипи и переместите его в сторону в нетронутую область накипи. Медленно поднимайте шест, пока не почувствуете сопротивление со стороны квадратной доски, касающейся дна накипи.Нанесите отметку на стойку на уровне верхней части смотрового отверстия. Затем перемещайте стойку, пока не найдете нижнюю часть выпускной трубы или перегородки. Поднимите шест, чтобы квадратная доска зацепилась за нижнюю часть трубы или перегородки. Снова отметьте столб даже с верхней частью отверстия для доступа. Отметка, показывающая дно накипи, всегда должна быть выше отметки, показывающей дно выпускной трубы или перегородки. Очистка необходима до того, как пена станет достаточно глубокой, чтобы попасть под выпускную трубу или перегородку.Сухой колодец против систем септиков
Скорее всего, если вы читаете это, вы либо живете в сельской местности, либо в районе, где в течение всего года выпадают сильные дожди.

Если вы ответили утвердительно на любой из этих вопросов, вы, вероятно, уже немного знакомы как с сухими колодцами, так и с септиками.
Существует некоторая путаница в том, что отличает сухой колодец от септика. Правда в том, что хотя некоторые процессы могут перекрываться, поскольку технически они оба являются системами утилизации, они не взаимозаменяемы. Самая большая разница заключается в том, что сухие колодцы состоят из перфорированных колец, а септики состоят из резервуаров со сплошными стенками.
В этом посте мы рассмотрим основные различия между сухими колодцами и септиками, рассмотрим виды обслуживания и ухода, которые они требуют, и подробно поговорим о том, как работают обе системы.
Примечание. Мы занимаемся обслуживанием как сухих колодцев, так и септических резервуаров, от помощи в регистрации до технического обслуживания и вывода из эксплуатации. По любым запросам на обслуживание обращайтесь по телефону в Alpha Environmental .

Что такое сухой колодец?
Колодец Drywell или Underground Injection Control (UIC) представляет собой искусственную систему, используемую для сброса воды с поверхности под землю. Сухие колодцы предназначены для приема только ливневых стоков и позволяют водам просачиваться в подземные почвы через перфорированные боковые стенки сухих колодцев.Современные сухие колодцы часто изготавливаются из перфорированного бетона или пластика.
Сухие колодцы в основном используются на северо-западе Тихого океана для борьбы с сильными и постоянными дождями. Все конструкции сухих боксов, за исключением тех, которые обслуживают только жилые крыши, должны быть зарегистрированы в DEQ штата Орегон (Департамент качества окружающей среды).
В жилых домах иногда можно увидеть желоба, соединенные с водосточными желобами, по которым дождевая вода направляется прямо во двор дома. Подключение этого выхода к сухому колодцу предотвращает размывание или затопление почвы водой.
Как работает сухой колодец?
Представьте себе традиционный водяной колодец (выложенный кирпичами, выдолбленный, без покрытия, торчащий из земли), но вместо того, чтобы быть видимым, он погребен под землей.
Поверхностная вода с крыш и парковок направляется в сухой колодец по трубопроводу и поступает в сухой колодец для временного хранения. Затем накопленная вода просачивается через перфорированные стенки сухого колодца и медленно проникает в окружающие почвы.Некоторые сухие колодцы имеют водосборник.Водосборник — это, по сути, временная ловушка для отложений, используемая в качестве предварительного фильтра для воды перед входом в сухой колодец.
Жилая установка в сухом колодце
Настоятельно рекомендуется, чтобы сухой бокс устанавливался профессионалом. При неправильной установке вы, вероятно, в конечном итоге заплатите больше за дорогостоящий ремонт (и возможные штрафы), чем стоимость установки.
Опытная бригада знает, как установить сухой колодец, включая водосборники, в лучшем месте во дворе.Профессионал знает, как проверить состояние почвы (например, уровень поглощения почвы), чтобы убедиться, что ваш сухой колодец достаточно большой, чтобы вода не вернулась после первого сильного шторма.
Кроме того, они будут знать, что нельзя заходить слишком глубоко и рисковать любым загрязнением грунтовых вод глубоко под землей, и проверять, не живете ли вы на вершине высокого уровня грунтовых вод (что сопряжено со своим собственным набором осложнений).Наконец, установка сухого колодца профессионалом гарантирует, что вы соответствуете всем нормам, установленным Агентством по охране окружающей среды (EPA) и Департаментом качества окружающей среды (DEQ).
Техническое обслуживание, ремонт и решение проблем в сухих скважинах
Если у вас уже есть сухой колодец или вы заинтересованы в установке сухого колодца на своем участке, вам необходимо учесть несколько моментов.
- Регистрация сухого бокса . Как мы уже говорили выше, сухие колодцы без водостока должны быть зарегистрированы в DEQ.
- Отбор проб из сухого бокса . Отбор проб почвы снаружи или отложений и воды изнутри сухого колодца часто проводится для ежегодного соблюдения требований.
Если ваш сухой колодец используется в месте, где также обрабатываются химикаты или нефтепродукты, то отбор проб является обязательным. В зависимости от использования участка на некоторых объектах может быть запрещено иметь сухие колодцы. - Обслуживание сухого бокса. При использовании сухих колодцев существует риск потенциального загрязнения грунтовых вод или почвы. Это особенно верно, если мы говорим о коммерческих объектах, которые работают с опасными материалами. Но даже в жилых районах рекомендуется обслуживание сухих колодцев, чтобы убедиться, что ваш колодец прослужит как можно дольше.
Вывод сухого бокса из эксплуатации
В некоторых случаях сухие колодцы больше не нужны. Когда это происходит, необходимо соблюдать правила при выводе скважины из эксплуатации, чтобы следовать требованиям чистого закрытия. Alpha Environmental обрабатывает все эти правила, а также необходимое уведомление перед началом процесса. Это уведомление необходимо, поскольку работы по выводу из эксплуатации должны выполняться под наблюдением лицензированного геолога, инженера-геолога или инженера.

Помощь в регистрации сухого бокса
Все лица, которые владеют существующим сухим боксом или планируют его установить, должны зарегистрировать сухой бокс в DEQ. Сухие колодцы также должны быть зарегистрированы до вывода из эксплуатации. Alpha поможет владельцам сухих боксов с оформлением документов и упростит процедуры регистрации.
Что такое септик?
Обычно встречающийся в сельской местности (или в местах , а не , подключенных к централизованной канализационной системе), септик представляет собой местную канализационную систему, которая работает как метод удаления отходов, который удаляет загрязняющие вещества из ваших сточных вод .
Хотя септик представляет собой систему очистки сточных вод, нельзя сказать, что он делает все то же, что и централизованная канализационная система. Септик работает скорее как «хорошая замена» мест без подключения к более крупной и сложной канализационной системе. Хорошо, но. . . .
Как работает септик?
Септики имеют входную и выходную трубы.
Впускные трубы забирают отходы из дома и пропускают их через процесс разрушения бака (о котором мы подробно расскажем ниже), затем обеззараженная вода выталкивается через выход.Вот этот процесс вплоть до мельчайших деталей:
- Отходы поступают в септик через впускные трубы . В отличие от сухих колодцев, о которых мы говорили выше, септик не только собирает дождевую и грязную воду. Он также обрабатывает и построен специально для сточных вод и любой другой воды из сантехнических приборов. На самом деле, «сточные воды» — водянистые отходы — должны заполнять большую часть септика (если это не так, возникнут проблемы, о которых мы поговорим ниже).
- Органические материалы, попадающие в резервуар, разлагаются анаэробными бактериями .Анаэробные бактерии — это бактерии, которым не требуется кислород для развития, что делает их идеальными для подземных резервуаров.
- Шлам падает на дно бака . В этом процессе разложения неорганические твердые вещества и другие побочные продукты, известные как шлам, падают на дно.
Здоровый аквариум будет иметь тонкий слой ила на дне. - Подонки поднимаются на вершину . В то время как шлам падает на дно, пена поднимается наверх. Накипь состоит из жиров, жиров и масел.
- Любые оставшиеся твердые частицы улавливаются фильтром. Этот фильтр предотвращает попадание твердых частиц в выпускную трубу септиктенка.
- Сточные воды поступают в септическое дренажное поле . Далее водные отходы стекают на дренажное поле, иногда называемое полем выщелачивания. Здесь отходы проходят через перфорированные трубы (трубы с небольшими отверстиями сбоку). Вода выщелачивается в окружающую почву, и бактерии в почве начинают переваривать остальную часть сточных вод. Если раньше ваши отходы обрабатывались анаэробными бактериями (бактериями, которым не нужен кислород), то теперь они обрабатываются аэробными бактериями (бактериями, которые процветают за счет кислорода).
- Чистая вода просачивается в грунтовые воды и водоносный горизонт .

Ключевое различие между сухим колодцем и септиком: сухой колодец обрабатывает дождевую воду и (возможно) серую воду, тогда как септический резервуар обрабатывает сточные воды и фактически разрушает твердые частицы в процессе.
Техническое обслуживание, ремонт и проблемы септиков
- Доверьте откачку септика профессионалу . Перекачивание удаляет скопившийся ил и пену, что замедляет размножение бактерий в резервуаре.Ваш резервуар может нуждаться в перекачке каждый год, но между перекачками может пройти два или три года, в зависимости от размера вашего резервуара и количества отходов, которые вы пропускаете через систему. Попросите вашего инспектора дать примерную рекомендацию о том, как часто следует накачивать ваш резервуар.
- Не сбрасывайте неподходящие вещи в трубы вашего дома . Вот лишь некоторые из вещей, которые вызвали проблемы с септиком домовладельца: краска и растворитель для краски, средства женской гигиены, детские влажные салфетки и подгузники, окурки, наполнитель для кошачьих туалетов, бумажные полотенца, кулинарные масла и жиры.
Помещение этих предметов (и других подобных предметов) в дренажные трубы может привести к их засорению и необходимости технического обслуживания. - Регулярно проводите техническое обслуживание септика. Регулярное техническое обслуживание вашей септической системы поможет снизить вероятность возникновения чрезвычайной ситуации, например, резервных сепараторов. Регулярно опорожняя вашу септическую систему, вы можете снизить вероятность отказа септической системы.
Поле выщелачивания против фильтрационной ямы
Не забывайте, что в септике перерабатываются отходы жизнедеятельности человека (и другие потенциально трудно утилизируемые материалы, в зависимости от местоположения).Утилизация отходов жизнедеятельности человека должна производиться осторожно .
Мы говорили о септических дренажных полях (или полях выщелачивания) выше, но в некоторых местах используются дренажные ямы.
Фильтрационная яма представляет собой отверстие в земле, предназначенное для сбора септических стоков, таких как выход из септиктенка.
В то время как дренажные ямы могут быть разрешены, когда пространство не позволяет использовать обычное поле для выщелачивания, есть несколько проблем.Фильтрационная яма вертикальная (напротив горизонтального поля выщелачивания).Это может показаться незначительным, но это имеет значение.
Поскольку яма для просачивания расположена вертикально, она заглублена глубже под землю, а это означает, что сточные воды будут обрабатываться только анаэробными бактериями, а не аэробной бактериальной обработкой.
Из-за этого не рекомендуется использовать дренажную яму, а если вам нужно использовать дренажную яму, скорее всего, вам потребуются другие модификации, чтобы убедиться, что ваша септическая система не вызывает загрязнения.
Септик Танк vs.DryWell против выгребной ямы
Давайте подведем итоги.
Хотя они могут иметь схожие функции (обработка воды) и расположение (во дворе), на самом деле септик и сухой колодец служат разным целям.
Еще один вопрос, который нам часто задают, касается выгребных ям, поэтому мы решили, так сказать, убить трех зайцев одним постом в блоге.

Септик является частью системы септических отходов, которая заменяет работу централизованной канализационной системы . Септик собирает сточные воды, разлагает их с помощью анаэробных и аэробных процессов и позволяет обеззараженной воде просачиваться обратно в окружающую почву.
Сухой колодец — это дренажная система, которая используется только для дождевой воды или сточных вод . Находясь под землей, как септик, сухой колодец не справляется со сточными водами. Иногда водосборник строится с сухим колодцем, чтобы лучше улавливать отложения и не засоряться, когда сточные воды попадают в окружающую почву.
Выгребная яма (иногда называемая «выгребной ямой») похожа на неизящный недостроенный септик . Если септик является частью септической системы управления отходами, то выгребная яма — это просто отдельная яма, построенная для сбора сточных вод.Если у вас есть выгребная яма, пришло время обратиться к профессионалам рядом с вами, чтобы они могли модернизировать вашу систему до более современной септической системы.



Однако дача – это не только посадка овощных культур, это еще и оформление двора цветами, формирование […]
Соотношение цемента и щебня должно составлять 1:6. Раствор застывает на протяжении 5-7 дней. Если заливание дна осуществляется в жаркую погоду, бетон необходимо периодически смачивать водой, что бы избежать появления трещин и придать раствору еще большей прочности.
Что бы решить эту проблему, установите бак в бетонный колодец.


К сожалению, не все почвенные и земельные условия подходят для этих стандартных систем. Для защиты здоровья населения и качества воды нестандартные системы часто используются в районах, где стандартные системы не могут обеспечить безопасную очистку сточных вод. Насыпная система представляет собой тип нестандартной системы, которая обеспечивает:
Сточные воды из вашего дома стекают в бак. Тяжелые твердые частицы оседают на дно, где под действием бактерий они частично разлагаются. Большинство более легких твердых частиц, таких как жир и масла, поднимаются вверх и образуют слой пены.Слой жидкости существует между слоями твердых тел и переходит из одной камеры в другую.
Никогда не помещайте в резервуар такие материалы, как жир, растительное масло, газеты, бумажные полотенца, окурки, кофейную гущу, подгузники, гигиенические салфетки, растворители, масла, краску или пестициды. Для получения информации о надлежащей утилизации опасных бытовых отходов обращайтесь в Управление по управлению отходами Гумбольдта.
Регуляторы таймера настроены на получение как продолжительности дозы, так и интервала или периода отдыха между дозами.
Техническое обслуживание насоса должно осуществляться в соответствии с рекомендациями производителя. Проверьте электрические детали и кабели на наличие коррозии. Если на панели сигнализации есть кнопка «нажать для проверки», ее следует использовать регулярно.
Перед тем, как посадить сад, построить здание или установить бассейн, проверьте расположение вашей системы и зону замены.
Такие материалы, как бетон или пластик, уменьшают испарение и поступление воздуха в почву, необходимое для надлежащей очистки сточных вод. Трава – лучшее покрытие для кургана.
Они могут быть изготовлены из сборного железобетона, пластика или стеклопластика. Старые резервуары могут быть изготовлены из стали, которая со временем часто подвергается коррозии, или они могут быть построены вместо блочной конструкции. Резервуары большего размера часто делятся на две камеры для улучшения отделения твердых частиц. Люки и смотровые окна расположены в крышке для обслуживания и осмотров.
Между двумя слоями находится осветленная жидкость, которая стекает в выходной патрубок и постепенно рассеивается через дренажное поле. Бактерии в септике естественным образом разрушают органические отходы и замедляют накопление слоя ила. 

На основании полученного результата рассчитывается необходимое количество колец.
… Для отстойника и бака биологической очистки первый элемент можно приобрести с уже существующим дном, либо в процессе монтажа залить самостоятельно. Из ЖБИ также требуются плиты перекрытий.


Одно бетонное кольцо диаметром 1000 мм и высотой 900 мм без дна стоит около 2 тысяч рублей. Такое же кольцо с донышком стоит на 1000 рублей дороже.
руб. … При этом оно более долговечно. Его намного проще установить самостоятельно.


Как сделать септик из бетонных колец? Все начинается с расчета необходимого объема.
Количество бетонных колец, плит днища и покрытия зависит от его объема (можно использовать готовые кольца с днищами).
Дно устанавливается по уровню. Далее:



Оставшееся пространство можно заполнить дорожным щебнем, но чаще его засыпают выкопанной глиной — это зависит от типа и состава местного грунта.
Трубу ПНД уложить с диаметром 70 мм от дна второй камеры до середины первой.Также не забудьте соединить аэротенк трубой ПНД с фильтрующим колодцем. Выходы труб в первые камеры заделывают и заделывают, затем комплектуют вертикально ориентированными тройниками так, чтобы переливающаяся жидкость бралась из слоя на 2-3 метра ниже поверхности, где нет твердого ила и легких осколков.

Поэтому делать септик из бетонных колец рекомендуется на супесчаных или супесчаных грунтах.
Органическое вещество перерабатывается микроорганизмами и бактериями. Органические вещества распадаются на более или менее чистую воду и нерастворимые вещества, которые выпадают в осадок и скапливаются на дне камеры.
Итого, если у вас в семье 4 человека, то минимальный объем 3 куба. Столько и должны вместить накопительные баки, то есть первые две камеры. Третий — фильтрующий столбец — никак не относится к накопительным, поэтому не учитывается.
4 кубометра).
Удобнее/выгоднее сделать три столбика из четырех колец.
При такой обработке из септика ничего не вытечет, а внутрь не попадут грунтовые воды.
Вот и уменьшают с помощью голован, что можно сделать:
На эту засыпку устанавливаются кольца без дна. В некоторых случаях ставится перфорированное кольцо — отверстия диаметром не менее 30-50 мм (есть, кстати, и заводские).
Но, возможно, такая ситуация не во всех регионах.
Только все переливы должны быть установлены в зоне его наличия. Других особенностей нет.

Аналогичным образом устраивают первую секцию при выборе двухкамерного септика, а также единственный резервуар однокамерных моделей.
5 куб. м (в этом случае нет необходимости устанавливать трехкамерную конструкцию, при правильной организации дренажа и очистки достаточно будет двух камер),



Более легкие твердые вещества, жиры и жиры поднимаются на поверхность жидкости, образуя пену.
Осложнения также могут возникнуть, если через систему протекает больше жидкости, чем может поглотить окружающая земля. Замена системы часто является единственным решением.
Это может привести к затоплению резервуара, взбалтыванию содержимого и переносу некоторых твердых частиц или жира на поля для утилизации, песчаную насыпь или дренажную яму.
В этом случае зона просачивания может забиться, и сточные воды будут выброшены на поверхность земли или обратно в дом. Это создает опасность для здоровья вашей семьи и соседей.Кроме того, когда ваша септическая система выйдет из строя, раковины и туалеты не будут стекать. Коррекция может быть дорогой. Некоторые исправления требуют постоянных денежных затрат.

(Столб с прикрепленной доской должен выглядеть как буква «Т».) Протолкните конец с прикрепленной доской через слой накипи и переместите его в сторону в нетронутую область накипи. Медленно поднимайте шест, пока не почувствуете сопротивление со стороны квадратной доски, касающейся дна накипи.Нанесите отметку на стойку на уровне верхней части смотрового отверстия. Затем перемещайте стойку, пока не найдете нижнюю часть выпускной трубы или перегородки. Поднимите шест, чтобы квадратная доска зацепилась за нижнюю часть трубы или перегородки. Снова отметьте столб даже с верхней частью отверстия для доступа. Отметка, показывающая дно накипи, всегда должна быть выше отметки, показывающей дно выпускной трубы или перегородки. Очистка необходима до того, как пена станет достаточно глубокой, чтобы попасть под выпускную трубу или перегородку.

Поверхностная вода с крыш и парковок направляется в сухой колодец по трубопроводу и поступает в сухой колодец для временного хранения. Затем накопленная вода просачивается через перфорированные стенки сухого колодца и медленно проникает в окружающие почвы.
Кроме того, они будут знать, что нельзя заходить слишком глубоко и рисковать любым загрязнением грунтовых вод глубоко под землей, и проверять, не живете ли вы на вершине высокого уровня грунтовых вод (что сопряжено со своим собственным набором осложнений).
Если ваш сухой колодец используется в месте, где также обрабатываются химикаты или нефтепродукты, то отбор проб является обязательным. В зависимости от использования участка на некоторых объектах может быть запрещено иметь сухие колодцы.
Впускные трубы забирают отходы из дома и пропускают их через процесс разрушения бака (о котором мы подробно расскажем ниже), затем обеззараженная вода выталкивается через выход.
Здоровый аквариум будет иметь тонкий слой ила на дне.
Помещение этих предметов (и других подобных предметов) в дренажные трубы может привести к их засорению и необходимости технического обслуживания.