Как сделать ТВ антенну своими руками
Несмотря стремительное развитие интернета, телевидение остаётся главным источником информации для большинства населения. Но для того чтобы в вашем телевизоре была качественная картинка, нужна хорошая антенна. Совсем не обязательно покупать телевизионную антенну в магазине, ведь её можно сделать своими руками и сэкономить при этом приличные деньги.
Как сделать качественные антенны для различных диапазонов вещания и какие материалы при этом использовать, вы сможете узнать прочтя нашу статью.
Типы антенн
Существует множество типов и форм телевизионных антенн, ниже приведены основные из них:
- Антенны для приёма «волнового канала».
- Антенны принимающие «бегущую волну».
- Рамочные антенны.
- Зигзагообразные антенны.
- Логопериодические антенны.

- Логопериодические антенны.
Антенны решётки
- Антенны решётки.
Антенны для приёма цифрового телевидения
Весь мир, в том числе и наша страна, перешли с аналогового вещания на цифровое. Поэтому делая антенну своими руками или покупая её в магазине, необходимо знать какая антенна лучше подойдёт для приёма DVB-T2 формата:
- Комнатная антенна — подходит для приёма сигнала в формате DVB-T2 только на расстоянии до 10 километров от ретранслятора. В принципе на этом расстоянии, сигнал способна принять даже обычная оголённая проволока вставленная в антенный разъём телевизора и направленная в нужную сторону, но для более стабильного и устойчивого сигнала лучше воспользоваться комнатной антенной.
- Антенна типа «Ворона» — способна принимать цифровой сигнал на расстоянии до 30 километров. Данный тип антенны устанавливается вне жилища и не требует чёткой направленности на ретранслятор. Но в случаях если расстояние от источника сигнала составляет более 30 километров или рядом имеются генераторы помех, желательно направить антенну на телевышку.
- Антенна типа «Ворона» — способна принимать цифровой сигнал на расстоянии до 30 километров. Данный тип антенны устанавливается вне жилища и не требует чёткой направленности на ретранслятор. Но в случаях если расстояние от источника сигнала составляет более 30 километров или рядом имеются генераторы помех, желательно направить антенну на телевышку.
- Антенна типа DIPOL 19/21-69 — принимает сигнал на расстоянии до 50 километров. Требует установки на возвышенность 8-10 метров и чёткого направления на источник сигнала. В связке с усилителем, способна принимать цифровой сигнал на расстоянии до 80-100 километров. Отличные характеристики данной антенны, делают её одним из лучших вариантов для приёма сигнала в формате DVB-T2 на удалённом расстоянии от ретранслятора.
Если вы живёте не далеко от телевышки, то вполне можете сделать простейшую антенну для приёма сигнала в DVB-T2 формате своими руками:
- Отмерьте от коннектора 15 сантиметров антенного кабеля.
- Снимите с обрезанного края 13 сантиметров внешней изоляции и оплётки, оставьте только медный стержень.
- Сверяясь с картинкой телевизора, выставите стержень в нужном направлении.
Всё антенна готова! Нужно отметить, что такая примитивная антенна не способна обеспечивать качественный и устойчивый сигнал на удалённом от телевышки расстоянии и в местах с источниками помех.
Антенны своими руками
Давайте рассмотрим несколько вариантов телевизионных антенн, которые можно сделать самостоятельно, из подручных материалов:
Антенна из пивных банок
Антенну из пивных банок можно изготовить буквально за полчаса, из имеющихся у вас под рукой средств. Конечно сверх-устойчивого сигнала такая антенна не обеспечит, но для временного пользования на даче или в в съёмной квартире вполне сгодится.
Антенна из пивных банок
Чтобы сделать антенну вам понадобятся:
- Две алюминиевые банки из под пива или другого напитка.
- Метров пять телевизионного кабеля.
- Штекер.
- Два шурупа.
- Деревянное или пластиковое основание на которое будут крепится банки (многие используют деревянную вешалку или швабру).
- Нож, плоскогубцы, отвёртка, изоляционная лента.
Убедившись в том, что все вышеперечисленные предметы у вас имеются в наличии, произведите следующие действия:
- Зачистите один конец кабеля и присоедините к нему штекер.

- Возьмите второй конец кабеля и снимите с него изоляцию длиной в 10 сантиметров.
- Расплетите оплётку и скрутите её в шнур.
- Снимите слой пластика изолирующий стержень кабеля на расстояние в один сантиметр.
- Возьмите банки и в крутите в них шурупы по центру дна или крышки.
- Присоедините к одной банке стержень, а к другой шнур оплётки кабеля, закрутив их на шурупы.
- Прикрепите банки на основание с помощью изоленты.
- Закрепите на основании кабель.
- Вставьте штекер в телевизор.
- Перемещаясь по комнате, определите место наилучшего приёма сигнала и закрепите там антенну.
Существуют и другие вариации данной антенны, с четырьмя и даже восемью банками, но явного воздействия количества банок на качество сигнала не выявлено.
Как сделать антенну из пивных банок вы также можете узнать из видеоролика:
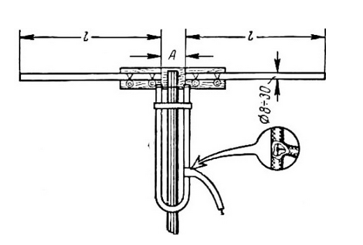
Зигзагообразная антенна Харченко
Своё название антенна получила в 1961 году, по фамилии её изобретателя Харченко К.
П., который предложил использовать для приёма телепередач антенны зигзагообразной формы. Данная антенна очень хорошо подходит для приёма цифрового сигнала.
Антенна Харченко
Для изготовления зигзагообразной антенны вам понадобится:
- Медная проволока диаметром 3-5 мм.
- Телевизионный кабель 3-5 метров.
- Припой.
- Паяльник.
- Штекер.
- Изоляционная лента.
- Кусок пластика или фанеры для основания.
- Болты креплений.
Для начала нужно изготовить рамку антенны. Для этого берём проволоку и и отрезаем кусок 109 сантиметров. Далее сгибаем проволоку таким образом, чтобы у нас получилась рамка из двух параллельных ромбов, каждая сторона ромба должна составлять 13,5 сантиметров, из оставшегося сантиметра сделайте петли для скрепления проволоки. С помощью паяльника и припоя, соедините концы проволоки и замкните рамку.
Возьмите кабель и зачистите его конец таким образом, чтобы у вас с была возможность припаять стержень и экран кабеля к рамке.
Далее, припаяйте стержень и экран кабеля в центре рамки. Учтите что экран и стержень не должны соприкасаться.
Установите рамку на основание. Расстояние между углами рамки в месте соединения с кабелем, должно составлять два сантиметра. Размер основания сделайте примерно 10 на 10 сантиметров.
Зачистите второй конец кабеля и установите штекер.
Если необходимо присоедините основание антенны к стойке, для дальнейшей установки на крышу.
Более подробную инструкцию по изготовлению антенны Харченко, вы можете посмотреть в видеоролике:
Антенна из коаксиального кабеля
Для изготовления антенны вам понадобится 75-омный коаксиальный кабель стандартного разъёма. Чтобы рассчитать необходимую для антенны длину кабеля нужно узнать частоту цифрового вещания и разделить её в мегагерцах на 7500, а полученную сумму округлить.
Антенна из кабеля
Получив длину кабеля сделайте следующее:
- Зачистите кабель с одной стороны и вставьте в разъём для антенны.
- Отступите два сантиметра от края разъёма и сделайте отметку от которой будете отмерять длину антенны.
- Отмерив нужную длину, откусите лишнее плоскогубцами.
- В районе отметки снимите изоляцию и оплётку кабеля, оставьте только внутреннюю изоляцию.
- Загните очищенную часть под углом в 90 градусов.
- Произведите настройку телевизора с новой антенной.
Визуально закрепить информацию вы можете посмотрев видеоролик:
Спутниковая антенна
Стоит сразу оговорится, что для приёма спутникового сигнала необходим тюнер и специальная приставка. Поэтому, если у вас нет в наличии этого оборудования, то создание спутниковой антенны своими руками будет не возможно, поскольку сами вы сможете изготовить только параболический отражатель:
- Парабола из оргстекла — изготавливается методом нагрева.
Оргстекло помещается на болванку, повторяющую форму параболического отражателя и помещается в камеру с высокой температурой. После размягчения оргстекла, оно принимает форму болванки. После остывания оргстекла, его вытаскивают из формы и обклеивают фольгой. Минус такого производства самодельной параболы в том, что затраты на её изготовление, превосходят рыночную стоимость заводского отражателя.
- Отражатель из металлического листа — делается из листа оцинкованного железа, размером метр на метр. Листу придаётся круглая форма и от края к центру делаются разрезы по форме лепестков. После этого лист помещается на выгнутый шаблон отражателя и «лепестки» скрепляются точечной сваркой или заклёпками.
- Сетчатый отражатель — делается из каркаса и сетки. Сначала изготавливают шаблон параметры которого рассчитывают по формуле. По шаблону изготавливают радиальные параболы из медной проволоки. Сечение проволоки выбирается исходя из диаметра антенны. Например, для антенны диаметром 1,5 метра берут проволоку диаметром 4-5 мм.
Также необходимо изготовить круговые пояса. Диаметр поясов меняется с шагом 10-30 см. После изготовления каркаса его обтягивают мелкой медной сеткой.
Все перечисленные выше способы, могут рассматриваться всерьёз только из спортивного интереса, поскольку изготовление параболического отражателя в ручную, процесс очень трудоёмкий и дорогой. К тому же, произвести точные расчёты параметров спутниковой антенны в домашних условиях, очень сложно. Поэтому советуем вам не оригинальничать и покупать спутниковую антенну в полном комплекте.
Антенный усилитель
Если в месте где вы живете слабый телевизионный сигнал и обычная антенна не может обеспечить качественную картинку в вашем телевизоре, то помочь в этой ситуации может антенный усилитель. Изготовить его своими руками, вы сможете если немного разбираетесь в радиоэлектронике и умеете паять.
Усилители нужно устанавливать как можно ближе к антенне. Питание антенного усилителя лучше осуществлять по коаксиальному кабелю через развязку.
Схема питания развязки
Развязка устанавливается внизу у телевизора и на неё от адаптера подаётся питание в 12 вольт. Двухкаскадные усилители потребляют ток не больше 50 миллиампер, по этой причине мощность блока питания не должна превышать 10 ватт.
Все соединения антенного усилителя на мачте нужно производить при помощи спаивания, поскольку установка механических соединений приведёт к их коррозии и разрыву, при дальнейшей эксплуатации в условиях агрессивной внешней среды.
Бывают случаи, когда приходится принимать и усиливать слабый сигнал при наличии мощных сигналов от других источников. В этом случаи на вход усилителя попадают одновременно слабые и сильные сигналы. Это приводит к блокировке работы усилителя или переводу его в нелинейный режим, смешивающий оба сигнала, что выражается в наложении изображения с одного канала на другой. Исправить ситуацию поможет уменьшение напряжения питания усилителя.
Учтите, что на дециметровые усилители очень сильно влияют сигналы в метровом диапазоне.
Для ослабления воздействия метровых сигналов, перед усилителем ДМВ ставят фильтр верхних частот, который блокирует метровые волны и пропускает сигналы только дециметрового диапазона.
Ниже приведена схема антенного усилителя метрового диапазона:
Схема антенного усилителя метрового диапазона
- Коэффициент усиления составляет 25 дБ. при напряжении 12,6 вольт.
- Потребляемый ток не более 20 миллиампер.
- Встречно-параллельное включение диодов Д1 и Д2 предохраняет транзистора от выхода из строя при ударе молнии.
- Каскады имеют общий эмиттер.
- Конденсатор С6 обеспечивает коррекцию постоянной характеристики усилителя в области высоких частот.
- Для стабилизации режима транзисторов, усилитель охвачен отрицательной обратной связью с эмиттера второго транзистора на базу первого.
- Во избежании самовозбуждения усилителя, используется развязывающий фильтр R4 C1.
Также предлагаем ознакомиться со схемой дециметрового усилителя:
Схема дециметрового усилителя
- Антенный усилитель дециметрового диапазона 470-790 мегагерц.

- Коэффициент усиления 30 дБ. при напряжении 12 вольт.
- Потребляемый ток 12 миллиампер.
- Каскады имеют общий эмиттер и СВЧ транзисторы с низким уровнем собственных шумов.
- Резисторы R1 и R3 обеспечивают температурную компенсацию режима транзисторов.
- Питание усилителя осуществляется по коаксиальному кабелю.
С принципом работы антенного усилителя вы можете ознакомится в видеоролике:
Теперь, ознакомившись со схемами и вооружившись паяльником, вы смело можете начинать изготовление антенного усилителя.
Надеемся что наша статья про телевизионные антенны оказалась для вас полезной!
Как сделать антенну своими руками для телевизора: три способа
Автор aquatic На чтение 4 мин. Просмотров 10.
8k. Обновлено
Только в переносных моделях телевизоров есть встроенные устройства, обеспечивающие необходимое преобразование электромагнитных волн эфирного ТВ. Полученные сигналы усиливаются и обрабатываются. На основе этих данных формируется итоговое изображение. Но в стационарных приемниках такой возможности не предусмотрено. Поэтому могут пригодиться знания о том, как сделать антенну своими руками для телевизора. В этой статье представлены конструкции, которые любой человек сможет воспроизвести без лишних усилий. При их выборе предпочтительными считались изделия, собранные из простейших комплектующих деталей.
Подобную сложную конструкцию вполне можно заменить качественной самоделкой
Зачем нужна самодельная антенна для цифрового телевидения
Как ни странно, но некоторые «кустарные» конструкции по своим параметрам ничем не уступают фабричным изделиям. Боле того, некоторые из них обеспечивают отличное усиление, хорошую избирательность частот и другие лучшие технические характеристики.
Элементарные теоретические знания помогут вам сделать точную настройку в соответствии с особыми условиями в месте приема сигнала.
В некоторых ситуациях соответствующие умения попросту необходимы. Согласитесь, сложно дождаться открытия магазина завтра утром, когда прямо сейчас можно создать качественную антенну из подручных материалов. Весь процесс займет не более часа. После этого – заслуженная гордость самим собой будет гармонично дополнена уважением всех членов семьи.
Телевизор в автомобиле также можно подключить к самодельной антенне
Соответствующие умения и навыки пригодятся при поломке стандартного оборудования
Как сделать антенну своими руками для телевизора: простые конструкции
Тем, кто не желает подробно разбираться в тонкостях теории распространения радиоволн, достаточно изучить инструкции в этом разделе. Здесь рассказано о том, как сделать антенну своими руками для телевизора без лишних затрат времени и денежных средств.
Эти проекты проверены на практике. Поэтому для получения положительного результата надо только повторить последовательность рабочих операций.
Вторая «жизнь» пивных банок
Обратите внимание! Здесь и далее надо учитывать место нахождения ближайшей вышки. В данном случае центральную ось банок устанавливают перпендикулярно направлению на передатчик сигнала. После того, как получена хорошая «картинка», оптимальные положения жестко фиксируют скотчем.
Проволока и доска
Простая антенна своими руками для цифрового ТВ с точным расчетом
Чтобы выяснить, как делать антенны своими руками для телевизора без ошибок, надо конкретизировать условия задачи. Если рассматривать Московскую область, то тут эфирное вещание в цифровом формате ведут на двух несущих частотах. Для расчетов используем одно значение, 546 МГц.
Активные части антенн делают из проводников. Их размеры должны соответствовать длине волны (ДВ). Если используете квадрат, то каждая сторона должна быть равной ¼ ДВ.
Для присоединения приемника надо использовать только специальный телевизионный кабель. Он отличается от стандартных проводников сетей питания и других точным значением волнового сопротивления, 75 Ом. На него настроены входные каналы техники. Если применить другую кабельную продукцию, параметры входного сигнала будут хуже.
Чтобы не усложнять конструкцию, используем простую форму, кольцо. Его размеры рассчитываются по простой формуле.
ДР= (300/ ЧС)*100, где
- ДР – длина рамки в см;
- ЧС – частота несущего сигнала в Мгц.
В нашем случае получится: (300/546)*100=55 см (округленная величина).
Обратите внимание на то, что центральная жила отрезка рамки не используется вовсе. К оплетке подсоединяется разделанный телевизионный кабель. Скрутка упрочняется пайкой.
Решение проблем дальнего приема
Если «пассивных» методов недостаточно, пригодится технология создания антенного усилителя своими руками.
В этом случае подручных материалов будет недостаточно. Придется приобрести электронные компоненты, освоить методику изготовления печатной платы.
Принципиальная схема
Монтажный чертеж
Усилитель в сборе
Полезная информация! Катушки индуктивности можно сделать самостоятельно. Подойдет любой каркас (цилиндр с диаметром 2 мм). Для намотки используют провод из меди с лаковым покрытием (0,5 мм).
Выводы и рекомендации
Не только копируя готовые решения, но и с точным расчетом эффективную телеантенну своими руками сделать не сложно. Определенные трудности возникнут, если понадобится активное усиление сигнала. Но до этого имеет смысл поэкспериментировать с пассивными антеннами.
Если правильно применить сведения из этой статьи, то созданное своими руками устройство будет обладать лучшими параметрами, чем серийная техника
Как сделать самодельную антенну для цифрового ТВ (видео)
Как сделать антенну для телевизора своими руками
На сегодняшний день, магазины наводнены всевозможными телевизионными антеннами, так что покупка нужной антенны не составит труда. Но бывает, что купить антенну не представляется возможным, к примеру, на даче. Именно чтобы помочь в такой ситуации, мы и расскажем, как сделать антенну для телевизора своими руками.
Антенна из банок из-под пива
Является наиболее популярной самодельной антенной. Она популярна, поскольку проста в изготовлении, а материалы для нее доступны. Такая антенна изготавливается за 10 мин., а работает даже лучше стационарной.
Чтобы изготовить такую антенну придется воспользоваться:
- кабелем;
- парой банок из жести;
- двумя саморезами;
- штекером;
- изоляционной или липкой лентой;
- отверткой;
- палкой.

Процесс изготовления:
Для начала скрепляем банки и палку при помощи изоляционной ленты. Одна банка должна быть примотана на расстоянии примерно 7 см. от другой. Если банки обладают кольцами, то крепление кабеля осуществляется на них.
Теперь вкручиваем в саморезы в банки, зачищаем концы в антенном кабеле и прикрепляем его на шурупы.
Скотчем скрепляем кабель и палку, это нужно, чтобы приемник был стойким.
Альтернативой деревянной палке может стать вешалка.
Чтобы сохранить антенну от потери своих рабочих свойств под влиянием атмосферных факторов, банки следует прикрыть при помощи пластиковой бутылки на два-три литра, с отрезанным дном и горловиной. По центру в бутылке следует проделать отверстие, сквозь которое нужно осуществить протяжку кабеля. Когда подключение будет окончено, данное место обдается кипятком. Высокая температура станет причиной изменения формы пластика и обеспечит герметичность отверстия.
Антенну из жестяных банок можно считать готовой, осталось лишь произвести её подключение и настройку.
Конструкция может быть усовершенствована и дополнена еще несколькими секциями.
https://www.youtube.com/watch?v=tAU8B64EOdI
Антенна для телевизора с нормальным приемом сигнала
Если вы не думаете что вы большой мастер, но все же хотите сами смастерить антенну для своего телевизора, то попробуйте сделать следующие действия:
Соберите один и вариантов показанных на на рисунках (по мощности они практически одинаковы, отличаются только дизайном).
- Установка данного контура выполняется на пластиковое или деревянное основание, а сам контур устанавливается на телевизоре или балконе.
- Соединение телевизора и антенны выполняется штекером с кабелем, на котором срезается изоляция на длине примерно 5 см.
- Открывшаяся обмотка должна быть разделена надвое и отогнута.
- Внутренняя обмотка также обрезается на той же длине и оголяется жила провода.
- К штекеру, жила и обмотка крепятся шурупами. Если ваш штекер не оборудован местом под крепеж обмотки, обмотка срезается.

- Другим краем кабель крепиться к контуру. Предварительно, конец кабеля должен быть зачищен и скручен кольцом.
- Места соединений обматываются изоляционной лентой, чтобы обеспечить надежность.
- Чтобы улучшить сигнал от такой антенны, можно пользоваться электронными усилителями.
Телевизионная антенна высокой мощности
Как сделать антенну для телевизора своими руками, да так, чтобы она не уступала по параметрам покупным вариантам, и даже превосходила их?
Ответ прост – нужно произвести улучшение принимающего контура.
Для начала, следует выполнить подключение усилителя сигнала к антенне, и тщательно заизолировать кабель, чтобы в сигнал не проникали помехи.
Для качественного приема, потребуется изготовление экрана – изолированный от телевизора и установленной за приемником. В качестве экрана может быть использована обычная пищевая фальга, которая используется на кухне.
Такую антенну нет смысла ставить дома, чаще всего она устанавливается на крыше, и поворачивается туда, где стоит ближайшая телевышка.
Экономная антенна из минимума материала
Нужно взять самую простую проволоку, но не алюминиевую, поскольку алюминий быстро окисляется. Идеальный вариант – это медная или латунная проволока. Проволоку следует зачистить от изоляции с двух сторон, после чего одним концом проволока вставляется в телевизор, а вторым крепится на батарею либо трубу. Вы увидите, что антенна поймает сигнал, поскольку труба, проходит сквозь весть дом на крышу, и играет роль усилителя требуемой частоты. Таким методом реально поймать примерно пять каналов.
Для осуществления второго варианта ,квартира должна обладать балконом. Здесь потребуется проволока такой же длины, или даже большей, для соединения телевизора и балконной зоны. Проволока зачищается с двух сторон, и одним концом вставляется в телевизор, а вторым прикрепляется на натянутые струны для белья. За счет этого метода не только добавятся каналы, а и изображение станет гораздо более качественным.
Самодельная антена для Т2 видео
Теперь вы знаете как сделать антенну для телевизора своими руками, осталось только прикрепить её и направить на излучатель сигнала.
ТВ-антенна своими руками: ДМВ, цифровая
Когда-то хорошая телевизионная антенна была дефицитом, покупные качеством и долговечностью, мягко говоря, не отличались. Сделать антенну для «ящика» или «гроба» (старого лампового телевизора) своими руками считалось показателем мастерства. Интерес к самодельным антеннам не угасает и в наши дни. Ничего странного тут нет: условия приема ТВ кардинально изменились, а производители, полагая, что в теории антенн ничего существенно нового нет и не будет, чаще всего приспосабливают к давно известным конструкциям электронику, не задумываясь над тем, что главное для любой антенны – ее взаимодействие с сигналом в эфире.
Что изменилось в эфире?
Во-первых, почти весь объем ТВ-вещания в настоящее время осуществляется в диапазоне ДМВ.
Прежде всего из экономических соображений, в нем намного упрощается и удешевляется антенно-фидерное хозяйство передающих станций, и, что еще более важно – потребность в его регулярном обслуживании высококвалифицированными специалистами, занятыми тяжелым, вредным и опасным трудом.
Второе – ТВ-передатчики теперь покрывают своим сигналом практически все более-менее населенные места, а развитая сеть связи обеспечивает подачу программ в самые глухие углы. Там вещание в обитаемой зоне обеспечивают маломощные необслуживаемые передатчики.
Третье, изменились условия распространения радиоволн в городах. На ДМВ промышленные помехи просачиваются слабо, но железобетонные многоэтажки для них – хорошие зеркала, многократно переотражающие сигнал вплоть до его полного затухания в зоне, казалось бы, уверенного приема.
Четвертое – ТВ-программ в эфире сейчас очень много, десятки и сотни. Насколько это множество разнообразно и содержательно – другой вопрос, но рассчитывать на прием 1-2-3 каналов ныне бессмысленно.
Наконец, получило развитие цифровое вещание. Сигнал DVB T2 – штука особенная. Там, где он еще хоть чуть-чуть, на 1,5-2 дБ, превышает шумы, прием отличный, как ни в чем ни бывало. А чуть дальше или в стороне – нет, как отрезало. К помехам «цифра» почти не чувствительна, но при рассогласовании с кабелем или фазовых искажениях в любом месте тракта, от камеры до тюнера, картинка может рассыпаться в квадратики и при сильном чистом сигнале.
Требования к антеннам
В соответствии с новыми условиями приема, изменились и основные требования к ТВ-антеннам:
- Такие ее параметры, как коэффициент направленного действия (КНД) и коэффициент защитного действия (КЗД) ныне определяющего значения не имеют: современный эфир очень грязный, и по малюсенькому боковому лепестку диаграммы направленности (ДН), хоть какая-то помеха, да пролезет, и бороться с ней нужно уже средствами электроники.
- Взамен особое значение приобретает собственный коэффициент усиления антенны (КУ).
Антенна, хорошо «облавливающая» эфир, а не смотрящая на него сквозь маленькую дырочку, даст запас мощности принятого сигнала, позволяющий электронике очистить его от шумов и помех. - Современная телевизионная антенна, за редчайшими исключениями, должна быть диапазонной, т.е. ее электрические параметры должны сохраняться естественным образом, на уровне теории, а не втискиваться в приемлемые рамки путем инженерных ухищрений.
- ТВ-антенна должна согласовываться в кабелем во всем своем рабочем диапазоне частот без дополнительных устройств согласования и симметрирования (УСС).
- Амплитудно-частотная характеристика антенны (АЧХ) должна быть возможно более гладкой. Резким выбросам и провалам непременно сопутствуют фазовые искажения.
Последние 3 пункта обусловлены требованиями приема цифровых сигналов. Настроенные, т.е. работающие теоретически на одной частоте, антенны можно «растянуть» по частоте, напр. антенны типа «волновой канал» на ДМВ с приемлемым отношением сигнал/шум захватывают 21-40 каналы.
Но их согласование с фидером требует применения УСС, которые либо сильно поглощают сигнал (ферритовые), либо портят фазовую характеристику на краях диапазона (настроенные). И «цифру» такая антенна, отлично работающая на «аналоге», будет принимать плохо.
В связи с этим, из всего великого антенного многообразия, в данной статье будут рассмотрены антенны для телевизора, доступные для самостоятельного изготовления, следующих типов:
- Частотнонезависимая (всеволновая) – не отличается высокими параметрами, но очень проста и дешева, ее можно сделать буквально за час. За городом, где эфир почище, она вполне сможет принимать цифру или достаточно мощный аналог не небольшом удалении от телецентра.
- Диапазонная логопериодическая. Ее, образно выражаясь, можно уподобить рыболовецкому тралу, уже при облавливании сортирующему добычу. Она тоже довольно проста, идеально согласуется с фидером во всем своем диапазоне, абсолютно не меняет в нем параметры.
Техпараметры – средние, поэтому более подойдет для дачи, а в городе в качестве комнатной. - Несколько модификаций зигзагообразной антенны, или Z-антенны. В диапазоне МВ это весьма солидная конструкция, требующая немалого умения и времени. Но на ДМВ она вследствие принципа геометрического подобия (см. далее), настолько упрощается и съеживается, что вполне может быть использована как высокоэффективная комнатная антенна при почти любых условиях приема.
Примечание: Z-антенна, если использовать предыдущую аналогию – частый бредень, сгребающий все, что есть в воде. По мере замусоривания эфира она было вышла из употребления, но с развитием цифрового ТВ вновь оказалась на коне – во всем своем диапазоне она так же отлично согласована и держит параметры, как «логопедка».
Точное согласование и симметрирование почти всех описанных далее антенн достигается благодаря прокладке кабеля через т.наз. точку нулевого потенциала.
К ней предъявляются особые требования, о которых подробнее будет сказано далее.
О вибраторных антеннах
В полосе частот одного аналогового канала можно передать до нескольких десятков цифровых. И, как уже сказано, цифра работает при ничтожном отношении сигнал/шум. Поэтому в очень удаленных от телецентра, куда сигнал одного-двух каналов еле добивает, местах, для приема цифрового ТВ может найти применение и старый добрый волновой канал (АВК, антенна волновой канал), из класса вибраторных антенн, так что в конце уделим несколько строк и ей.
О спутниковом приеме
Делать самому спутниковую антенну нет никакого смысла. Головку и тюнер все равно нужно покупать, а за внешней простотой зеркала кроется параболическая поверхность косого падения, которую с нужной точностью может выполнить далеко не всякое промышленное предприятие. Единственное, что под силу самодельщикам – настроить спутниковую антенну, об этом читайте тут.
О параметрах антенн
Точное определение упомянутых выше параметров антенн требует знания высшей математики и электродинамики, но понимать их значение, приступая к изготовлению антенны, нужно.
Поэтому дадим несколько грубые, но все же поясняющие смысл определения (см. рис. справа):
К определению параметров антенн
- КУ – отношение принятой антенной на основной (главный) лепесток ее ДН мощности сигнала, к его же мощности, принятой в том же месте и на той же частоте ненаправленной, с круговой, ДН, антенной.
- КНД – отношение телесного угла всей сферы к телесному углу раскрыва главного лепестка ДН, в предположении, что его сечение – круг. Если главный лепесток имеет разные размеры в разных плоскостях, сравнивать нужно площадь сферы и площадь сечения ею главного лепестка.
- КЗД – отношение принятой на главный лепесток мощности сигнала к сумме мощностей помех на той же частоте, принятой всеми побочными (задним и боковыми) лепестками.
Примечания:
- Если антенна диапазонная, мощности считаются на частоте полезного сигнала.
- Поскольку совершенно ненаправленных антенн не бывает, за такую принимают полуволновой линейный диполь, ориентированный по направлению электрического вектора поля (по его поляризации).
Его КУ считается равным 1. ТВ программы передаются с горизонтальной поляризацией.
Следует помнить, что КУ и КНД не обязательно взаимосвязаны. Есть антенны (напр. «шпионская» – однопроводная антенна бегущей волны, АБВ) с высокой направленностью, но единичным или меньшим усилением. Такие смотрят вдаль как бы сквозь диоптрический прицел. С другой стороны, существуют антенны, напр. Z-антенна, у которых невысокая направленность сочетается со значительным усилением.
О тонкостях изготовления
Все элементы антенн, по которым протекают токи полезного сигнала (конкретно – в описаниях отдельных антенн), должны соединяться между собой пайкой или сваркой. В любом сборном узле на открытом воздухе электрический контакт скоро нарушится, и параметры антенны резко ухудшатся, вплоть до полной ее негодности.
Особенно это касается точек нулевого потенциала. В них, как говорят специалисты, наблюдается узел напряжения и пучность тока, т.е. его наибольшее значение.
Ток при нулевом напряжении? Ничего удивительного. Электродинамика ушла от закона Ома на постоянном токе так же далеко, как Т-50 от воздушного змея.
Места с точками нулевого потенциала для цифровых антенн лучше всего выполнять гнутыми из цельного металла. Небольшой «ползучий» ток на сварке при приеме аналога на картинке, скорее всего, не скажется. Но, если принимается цифра на границе шумов, то тюнер из-за «ползучки» может не увидеть сигнала. Который при чистом токе в пучности дал бы стабильный прием.
О пайке кабеля
Оплетка (да и центральная жила нередко) современных коаксиальных кабелей делаются не из меди, а из стойких к коррозии и недорогих сплавов. Паяются они плохо и, если долго греть, можно пережечь кабель. Поэтому паять кабели нужно 40-Вт паяльником, легкоплавким припоем и с флюс-пастой вместо канифоли или спиртоканифоли. Пасты жалеть не нужно, припой сразу же растекается по жилкам оплетки только под слоем кипящего флюса.
Частотнонезависимая антенна с горизонтальной поляризацией
Виды антенн
Всеволновая
Всеволновая (точнее, частотнонезависимая, ЧНА) антенна показана на рис.
Она – две треугольных металлических пластинки, две деревянных рейки, да много медных эмалированных проволок. Диаметр проволоки значения не имеет, а расстояние между концами проволок на рейках – 20-30 мм. Зазор между пластинами, к которым припаяны другие концы проволок – 10 мм.
Примечание: вместо двух металлических пластин лучше взять квадрат из одностороннего фольгированного стеклотекстолита в вырезанными по меди треугольниками.
Ширина антенны равна ее высоте, угол раскрыва полотен – 90 градусов. Схема прокладки кабеля показана там же на рис. Точка, отмеченная желтым – точка квази-нулевого потенциала. Припаивать в ней оплетку кабеля к полотну не нужно, достаточно туго подвязать, для согласования хватит емкости между оплеткой и полотном.
ЧНА, растянутая в окне шириной 1,5 м, принимает все метровые и ДЦМ каналы почти со всех направлений, кроме провала около 15 градусов в плоскости полотна. В этом ее преимущество в местах, где возможен прием сигналов от разных телецентров, не нужно вращать.
Недостатки – единичный КУ и нулевой КЗД, поэтому в зоне действия помех и вне зоны уверенного приема ЧНА не годится.
Примечание: есть и другие типы ЧНА, напр. в виде двухвитковой логарифимической спирали. Она компактнее ЧНА из треугольных полотен в том же диапазоне частот, поэтому иногда используется в технике. Но в быту это преимуществ не дает, сделать спиральную ЧНА сложнее, с коаксиальным кабелем согласовать труднее, поэтому не рассматриваем.
На основе ЧНА был создан очень популярный когда-то веерный вибратор (рога, рогулька, рогатка), см. рис. Его КНД и КЗД что-то около 1,4 при довольно гладкой АЧХ и линейной ФЧХ, так что для цифры он подошел бы и сейчас. Но – работает только на МВ (1-12 каналы), а цифровое вещание идет на ДМВ. Впрочем, на селе, при подъеме на 10-12 м, может сгодиться для приема аналога. Мачта 2 может быть из любого материала, но крепежные планки 1 – из хорошего ненамокающего диэлектрика: стеклотекстолита или фторопласта толщиной не менее 10 мм.
Веерный вибратор для приема МВ ТВ
Пивная всеволновка
Антенны из пивных банок
Всеволновая антенна из пивных банок явно не плод похмельных галлюцинаций спившегося радиолюбителя. Это действительно очень хорошая антенна на все случаи приема, нужно только сделать ее правильно. Причем исключительно простая.
В основе ее конструкции следующее явление: если увеличивать диаметр плеч обычного линейного вибратора, то рабочая полоса его частот расширяется, а прочие параметры остаются неизменными. В дальней радиосвязи с 20-х годов используется т.наз. диполь Надененко, основанный на этом принципе. А пивные банки по размерам как раз подходят в качестве плеч вибратора на ДМВ. В сущности, ЧНА и есть диполь, плечи которого неограниченно расширяются до бесконечности.
Простейший пивной вибратор из двух банок годится для комнатного приема аналога в городе даже без согласования с кабелем, если его длина не более 2 м, слева на рис. А если собрать из пивных диполей вертикальную синфазную решетку с шагом в полволны (справа на рис.
), согласовать ее и отсимметрировать с помощью усилителя от польской антенны (о нем речь еще пойдет), то благодаря сжатию главного лепестка ДН по вертикали такая антенна даст и хороший КУ.
Усиление «пивнухи» можно еще увеличить, добавив заодно КЗД, если сзади нее поместить экран из сетки на расстоянии, равном половине шага решетки. Монтируется пивная решетка на мачте из диэлектрика; механические связи экрана с мачтой – тоже диэлектрические. Остальное ясно из след. рис.
Синфазная решетка из пивных диполей
Примечание: оптимальное количество этажей решетки – 3-4. При 2-х выигрыш в усилении будет небольшим, а большее трудно согласовать с кабелем.
Видео: изготовление простейшей антенны из пивных банок
«Логопедка»
Логопериодическая антенна (ЛПА) представляет собой собирающую линию, к которой попеременно подключаются половинки линейных диполей (т.
е. куски проводника длиной в четверть рабочей волны), длина и расстояние между которыми меняются в геометрической прогрессии с показателем меньше 1, в центре на рис. Линия может быть как настроенной (с КЗ на противоположном от места подключения кабеля конце), так и свободной. ЛПА на свободной (ненастроенной) линии для приема цифры предпочтительнее: она выходит длиннее, но ее АЧХ и ФЧХ гладкие, а согласование с кабелем не зависит от частоты, поэтому на ней мы и остановимся.
Конструкция логопериодической антенны
ЛПА может быть изготовлена на любой, до 1-2 ГГц, наперед заданный диапазон частот. При изменении рабочей частоты ее активная область из 1-5 диполей смещается вперед-назад по полотну. Поэтому, чем ближе показатель прогрессии к 1, и соответственно меньше угол раскрыва антенны, тем большее усиление она даст, но при этом возрастает ее длина. На ДМВ от наружной ЛПА можно добиться 26 дБ, а от комнатной – 12 дБ.
ЛПА, можно сказать, по совокупности качеств идеальная цифровая антенна, поэтому остановимся на ее расчете несколько подробнее.
Основное, что нужно знать, что увеличение показателя прогрессии (тау на рис.) дает прирост усиления, а уменьшение угла раскрыва ЛПА (альфа) увеличивает направленность. Экран для ЛПА не нужен, он на ее параметры почти не влияет.
Расчет цифровой ЛПА имеет особенности:
- Начинают его, ради запаса по частоте, со второго по длине вибратора.
- Затем, взяв обратную величину от показателя прогрессии, рассчитывают самый длинный диполь.
- После самого короткого, исходя из заданного диапазона частот, диполя, добавляют еще один.
Поясним на примере. Допустим, наши цифровые программы лежат в диапазоне 21-31 ТВК, т.е. в 470-558 МГц по частоте; длины волн соответственно – 638-537 мм. Также допустим, что нам нужно принимать слабый зашумленный сигнал вдали от станции, поэтому берем максимальный (0,9) показатель прогрессии и минимальный (30 градусов) угол раскрыва. Для расчета понадобится половина угла раскрыва, т.е. 15 градусов в нашем случае. Раскрыв можно еще уменьшить, но длина антенны непомерно, по котангенсу, возрастет.
Считаем В2 на рис: 638/2 = 319 мм, а плечи диполя будут по 160 мм, до 1 мм можно округлять. Расчет нужно будет вести, пока не получится Bn = 537/2 = 269 мм, и затем просчитать еще один диполь.
Теперь считаем А2 как В2/tg15 = 319/0,26795 = 1190 мм. Затем, через показатель прогрессии, А1 и В1: А1 = А2/0,9 = 1322 мм; В1 = 319/0,9 = 354,5 = 355 мм. Далее последовательно, начиная с В2 и А2, умножаем на показатель, пока не дойдем до 269 мм:
- В3 = В2*0,9 = 287 мм; А3 = А2*0,9 = 1071 мм.
- В4 = 258 мм; А4 = 964 мм.
Стоп, у нас уже меньше 269 мм. Проверяем, уложимся ли по усилению, хотя и так ясно, что нет: чтобы получить 12 дБ и более, расстояния между диполями не должны превышать 0,1-0,12 длины волны. В данном случае имеем для В1 А1-А2 = 1322 – 1190 = 132 мм, а это 132/638 = 0,21 длины волны В1. Нужно «подтянуть» показатель к 1, до 0,93-0,97, вот и пробуем разные, пока первая разница А1-А2 не сократится вдвое и более. Для максимума в 26 дБ нужно расстояние между диполями в 0,03-0,05 длины волны, но не менее 2-х диаметров диполя, 3-10 мм на ДМВ.
Примечание: остаток линии за самым коротким диполем, обрезаем, он нужен только для расчета. Поэтому реальная длина готовой антенны получится всего около 400 мм. Если наша ЛПА наружная, это очень хорошо: можно уменьшить раскрыв, получив большую направленность и защиту от помех.
Видео: антенна для цифрового ТВ DVB T2
О линии и мачте
Диаметр трубок линии ЛПА на ДМВ – 8-15 мм; расстояние между их осями – 3-4 диаметра. Учтем еще, что тонкие кабели-«шнурки» дают на ДМВ такое затухание на метр, что все антенно-усилительные ухищрения сойдут на нет. Коаксиал для наружной антенны нужно брать хороший, диаметром по оболочке от 6-8 мм. Т.е., трубки для линии должны быть тонкостенными цельнотянутыми. Подвязывать кабель к линии снаружи нельзя, качество ЛПА резко упадет.
Крепить наружную ЛПА к мачте нужно, разумеется, за центр тяжести, иначе малая парусность ЛПА превратится в огромную и трясущуюся.
Но соединять металлическую мачту прямо с линией тоже нельзя: нужно предусмотреть диэлектрическую вставку не менее 1,5 м длиной. Качество диэлектрика большой роли тут не играет, пойдет проолифленное и покрашенное дерево.
Об антенне «Дельта»
Если ДМВ ЛПА согласуется с кабелем усилителем (см. далее, о польских антеннах), то к линии можно пристроить плечи метрового диполя, линейные или веерные, как у «рогатки». Тогда получим универсальную МВ-ДМВ антенну отличного качества. Такое решение использовано в популярной антенне «Дельта», см. рис.
Антенна “Дельта”
Зигзаг в эфире
Z-антенна с рефлектором дает усиление и КЗД такие же, как ЛПА, но главный лепесток ее ДН более чем вдвое шире по горизонтали. Это может быть важно на селе, когда есть прием ТВ с разных направлений. А дециметровая Z-антенна имеет небольшие в плане размеры, что существенно для комнатного приема. Но ее рабочий диапазон теоретически не безграничен, перекрытие по частоте при сохранении приемлемых для цифры параметров – до 2,7.
Z-антенна МВ
Конструкция Z-антенны МВ показана на рис; красным выделен путь прокладки кабеля. Там же слева внизу – более компактный кольцевой вариант, в просторечии – «паук». По нему хорошо видно, что Z-антенна родилась как комбинация ЧНА с диапазонным вибратором; есть в ней кое-что и от ромбической антенны, которая в тему не вписывается. Да, кольцо «паука» не обязательно должно быть деревянным, это может быть обруч из металла. «Паук» принимает 1-12 МВ каналы; ДН без рефлектора – почти круговая.
Классический же зигзаг работает или на 1-5, или на 6-12 каналах, но для его изготовления нужны только деревянные рейки, медный эмалированный провод c d = 0,6-1,2 мм да несколько обрезков фольгированного стеклотекстолита, поэтому даем размеры, через дробь для 1-5/6-12 каналов: А = 3400/950 мм, Б, С = 1700/450 мм, b = 100/28 мм, В = 300/100 мм. В точке Е – нулевой потенциал, здесь нужно оплетку спаять с металлизированной опорной пластиной. Размеры рефлектора, тоже 1-5/6-12: А = 620/175 мм, Б = 300/130 мм, Г = 3200/900 мм.
Диапазонная Z-антенна с рефлектором дает усиление в 12 дБ, настроенная на один канал – 26 дБ. Чтобы на основе диапазонного зигзага построить одноканальный, нужно взять сторону квадрата полотна по середине ее ширины в четверть длины волны и пересчитать пропорционально все прочие размеры.
Народный зигзаг
Как видим, Z-антенна МВ – довольно сложное сооружение. Но ее принцип показывает себя во всем блеске на ДМВ. Z-антенну ДМВ с емкостными вставками, сочетающая в себе достоинства «классики» и «паука», сделать настолько просто, что она еще в СССР заслужила звание народной, см. рис.
Народная ДМВ антенна
Материал – медная трубка или алюминиевый лист толщиной от 6 мм. Боковые квадратики цельные из металла или затянутые сеткой, или закрытые жестянкой. В двух последних случаях их нужно пропаять по контуру. Коаксиал резко гнуть нельзя, поэтому ведем его так, чтобы он дошел до бокового угла, а затем не выходил за пределы емкостной вставки (бокового квадратика). В т.
А (точка нулевого потенциала) оплетку кабеля электрически соединяем с полотном.
Примечание: алюминий не паяется обычными припоями и флюсами, поэтому алюминиевая «народная» годится для наружной установки только после герметизации электрических соединений силиконом, в ней ведь все на винтах.
Видео: пример двойной треугольной антенны
Волновой канал
Антенна волновой канал
Антенна волновой канал (АВК), или антенна Удо-Яги из доступных для самостоятельного изготовления способна дать наибольшие КУ, КНД и КЗД. Но принимать цифру на ДМВ она может только на 1 или 2-3 соседних каналах, т.к. относится к классу остро настроенных антенн. Ее параметры за пределами частоты настройки резко ухудшаются. АВК рекомендуется применять с очень плохих условиях приема, причем для каждого ТВК делать отдельную.
К счастью, это не очень сложно – АВК проста и дешева.
В основе работы АВК – «сгребание» электромагнитного поля (ЭМП) сигнала к активному вибратору. Внешне небольшая, легкая, с минимальной парусностью, АВК может иметь эффективную апертуру в десятки длин волн рабочей частоты. Укороченные и поэтому имеющие емкостный импеданс (полное сопротивление) директоры (направители) направляют ЭМП к активному вибратору, а рефлектор (отражатель), удлиненный, с индуктивным импедансом, отбрасывает к нему то, что проскочило мимо. Рефлектор в АВК нужен всего 1, но директоров может быть от 1 до 20 и более. Чем их больше, тем выше усиление АВК, но уже полоса ее частот.
От взаимодействия с рефлектором и директорами волновое сопротивление активного (с которого снимается сигнал) вибратора падает тем больше, чем ближе к максимуму усиления настроена антенна, и согласование с кабелем теряется. Поэтому активный диполь АВК делают петлевым, его исходное волновое сопротивление не 73 Ом, как у линейного, а 300 Ом.
Ценой его снижения до 75 Ом АВК с тремя директорами (пятиэлементную, см. рис. справа) удается настроить почти что на максимум усиления в 26 дБ. Характерная для АВК ДН в горизонтальной плоскости приведена на рис. в начале статьи.
Элементы АВК соединяются со стрелой в точках нулевого потенциала, поэтому мачта и стрела могут быть любыми. Очень хорошо подходят пропиленовые трубы.
Расчет и настройка АВК под аналог и цифру несколько различны. Под аналог волновой канал нужно рассчитывать на несущую частоту изображения Fи, а под цифру – на середину спектра ТВК Fс. Почему так – здесь объяснять, к сожалению, нет места. Для 21-го ТВК Fи = 471,25 МГц; Fс = 474 МГц. ДМВ ТВК расположены вплотную друг к другу через 8 МГц, поэтому их настроечные частоты для АВК рассчитываются просто: Fn = Fи/Fс(21 ТВК) + 8(N – 21), где N – номер нужного канала. Напр. для 39 ТВК Fи = 615,25 МГц, а Fс = 610 МГц.
Чтобы не записывать множество цифр, удобно размеры АВК выражать в долях длины рабочей волны (она считается как Л = 300/F, МГц).
Длину волны принято обозначать малой греческой буквой лямбда, но, поскольку в интернете греческого алфавита по умолчанию нет, мы условно обозначим ее большой русской Л.
Размеры оптимизированной под цифру АВК, по рис., таковы:
U-петля: УСС для АВК
- Р = 0,52Л.
- В = 0,49Л.
- Д1 = 0,46Л.
- Д2 = 0,44Л.
- Д3 = 0,43л.
- a = 0,18Л.
- b = 0,12Л.
- c = d = 0,1Л.
Если не нужно большого усиления, но важнее уменьшение габаритов АВК, то Д2 и Д3 можно убрать. Все вибраторы выполняются из трубки или прутка диаметром 30-40 мм для 1-5 ТВК, 16-20 мм для 6-12 ТВК и 10-12 мм на ДМВ.
АВК требует точного согласования с кабелем. Именно небрежным выполнением устройства согласования и симметрирования (УСС) объясняется большинство неудач любителей. Самое простое УСС для АВК – U-петля из того же коаксиального кабеля. Ее конструкция ясна из рис. справа. Расстояние между сигнальными клеммами 1-1 140 мм для 1-5 ТВК, 90 мм для 6-12 ТВК и 60 мм на ДМВ.
Теоретически длина колена l должна быть в половину длины рабочей волны, так и значится в большинстве публикаций в интернете. Но ЭМП в U-петле сосредоточено внутри заполненного изоляцией кабеля, поэтому нужно обязательно (для цифры – особенно обязательно) учитывать его коэффициент укорочения. Для 75-омных коаксиалов он колеблется в пределах 1,41-1,51, т.е. l нужно брать от 0,355 до 0,330 длины волны, и брать точно, чтобы АВК была АВК, а не набором железок. Точное значение коэффициента укорочения всегда есть в сертификате на кабель.
В последнее время отечественная промышленность начала выпускать перенастраиваемые АВК для цифры, см. рис. Идея, надо сказать, отличная: передвигая элементы по стреле, можно точно настроить антенну под местные условия приема. Лучше, конечно, чтобы это делал специалист – поэлементная настройка АВК взаимозависима, и дилетант непременно запутается.
АВК для цифрового ТВ
О «полячках» и усилителях
У многих пользователей польские антенны, ранее прилично принимавшие аналог, цифру брать отказываются – рвется, а то и вовсе пропадает.
Причина, прошу прощения, похабно-коммерческий подход к электродинамике. Стыдно порой бывает за коллег, сляпавших такое «чудо»: АЧХ и ФЧХ похожи то ли на ежа-псориазника, то ли лошадиный гребень с выломанными зубьями.
Единственно, что хорошо в «полячках» – их усилители для антенны. Собственно, они и не дают сим изделиям бесславно помереть. Усилители «поячек», во-первых, широкополосные малошумящие. И, что еще важнее – с высокоомным входом. Это позволяет при той же напряженности ЭМП сигнала в эфире подать на вход тюнера в несколько раз большую его мощность, что дает возможность электронике «выдрать» цифру из совсем уж безобразных шумов. Кроме того, вследствие большого входного сопротивления польский усилитель – идеальное УСС для любых антенн: что ни цепляй ко входу, на выходе – точно 75 Ом без отраженки и ползучки.
Однако при очень плохом сигнале, вне зоны уверенного приема, польский усилитель уже не тянет. Питание на него подается по кабелю, и развязка по питанию отнимает 2-3 дБ отношения сигнал/шум, которых может как раз и не хватить, чтобы цифра пошла в самой глубинке. Тут нужен хороший усилитель ТВ сигнала с раздельным питанием. Располагаться он будет, скорее всего, возле тюнера, а УСС для антенны, если оно требуется, придется делать отдельно.
Усилитель ТВ сигнала ДМВ
Схема такого усилителя, показавшая почти 100% повторяемость даже при выполнении начинающими радиолюбителями, приведена на рис. Регулировка усиления – потенциометром Р1. Дроссели развязки L3 и L4 – стандартные покупные. Катушки L1 и L2 выполняются по размерам на монтажной схеме справа. Они входят в состав полосовых фильтров сигнала, поэтому небольшие отклонения их индуктивности не критичны.
Однако топологию (конфигурацию) монтажа нужно соблюдать точно! И точно также обязателен металлический экран (metal shield), отделяющий выходные цепи от прочей схемы.
С чего начать?
Мы надеемся, что и опытные мастера найдут в этой статье некоторое количество полезных им сведений. А новичкам, еще не чувствующим эфир, начинать лучше всего с пивной антенны. Автор статьи, отнюдь и отнюдь не дилетант в данной области, в свое время был немало удивлен: простейшая «пивнушка» с ферритовым согласованием, как оказалось, и МВ берет не хуже испытанной «рогатки».
А что стоит сделать ту и другую – см. текст.
***
© 2012-2020 Вопрос-Ремонт.ру
Загрузка…
что еще почитать:
Вывести все материалы с меткой:
Антенна для телевизора своими руками – просто, легко, быстро
Примеры известны, когда своими руками изготавливали спутниковые антенне. Однажды завод, работающий на оборонку, выпустил брак, клерки ничего не придумали лучше сбыта населению через магазин детских игрушек: выставили санки для малышей. Товар расхватали мгновенно, когда между местными радиолюбителями прошел слух: возможно задешево купить спутниковую антенну для телевизора. Фокус на доли миллиметра сбит, форм-фактор не выдержан досконально, снижен парой дБ коэффициент усиления! Названный факт мало волновал радиолюбителей, получивших в руки антенны-параболоиды дециметрового диапазона. Намного круче «волновых каналов», четвертьволновых вибраторов. Антенна для телевизора своими руками? Легко – если найдете санки неподалеку…
Прежде чем делать антенну своими руками
Перво-наперво учтите: сегодня государственное вещание заменяют цифровым.
Прежде касается телевидения. В Москве несколько мультиплексов, на одной частоте передается дюжина каналов, наступает очередь радио. Преимущество подхода привлекает возможностью конструировать узкоспециализированные устройства, справляющиеся с приемом конкретной частоты. Наружная антенна для цифрового телевидения составлена несколькими простыми элементами, формирует ярко выраженный резонанс нужной длины волны. Отпала нужда обеспечивать широкополосность, получили значительный выигрыш усиления. Не обязательно вариант купить телевизор с антенной идеален.
Отсутствует возможность улучшить конструкцию спутниковых антенн. Тороидальная модель, увешанная облучателями, смотрится так себе, эквивалентов для приема с нескольких космических аппаратов не придумано. Подошла бы фазированная антенная решетка с отклоняющимся лучом диаграммы направленности, но сегодня реализация конструкции не то чтобы дорогая, попросту невозможна.
Какую антенны выбрать для приема телевизионного вещания
Телевизионное вещание осваивает диапазон ДМВ (300 – 900 МГц), поляризация используется горизонтальная.
Для ловли потрудитесь параболоид с правильно настроенным облучателем найти, потребуется прямая видимость на телецентр или точная подгонка к переотраженному сигналу, изменяемому погодными условиями, даже ветром. Не принято использовать параболоиды, принимая наземное вещание. Спутник висит непреклонно на одном месте, точку позиционирования периодически корректируют наземные станции, легко обойтись тарелкой. Прямая видимость, естественно, должна присутствовать.
Для наземного приема нужна антенна, главный лепесток диаграммы направленности которой достаточно широкий, чтобы уловить сигнал. Одновременно требуется ограничить прием паразитных составляющих многолучевости, помехи соседних телецентров, вышек. Устройства снабжаются различного рода рефлекторами, форма и конструкция сильно зависят от типа антенны. Различают:
- зигзагообразные;
- вибраторные;
- волновые каналы;
- рамочные;
- бегущей волны;
- комбинированные.
Среди множества устройств антенна телевизионная наружная своими руками проще собирается по типу волновой канал (антенна Удо-Яги).
Устройство обладает отличными характеристиками, сегодня займемся рассмотрением этого класса приспособлений для приема телевизионного вещания.
Приемные антенны класса волновой канал своими руками
Конструкция антенны
Прежде всего о количестве элементов. У волнового канала имеется траверса, на которую крепятся параллельно друг другу, начиная сзади:
- Рефлектор.
- Активный вибратор.
- Пассивные вибраторы (директоры).
Для каналов метрового диапазона необходимо пожертвовать коэффициентом усиления ради увеличения рабочей полосы устройства. Достигается путем снижения количества директоров.
Выглядит практически следующим образом:
- Диапазон ниже 70 МГц потребует наличия одного директора. Получается трехэлементная антенна волновой канал. Образована рефлектором, активным, пассивным вибраторами.
- Диапазон ниже 110 МГц обходится четырехэлементной антенной, где имеется два директора.
- 170 – 240 МГц принято ловить волновыми каналами с пятью пассивными вибраторами.
- 470 МГц и выше (цифровые мультиплексы) – рекомендуется применять антенны из 15 элементов: рефлектор, активный вибратор, 13 директоров.
Используйте антенны для приема радио диапазона FM, знайте: поляризация вертикальная. Элементы, о которых поговорим ниже, располагаются перпендикулярно земле. Теперь размеры. Узлы, кроме активного вибратора, представляют собой куски проволоки, закрепленные на траверсе параллельно друг другу. Активный вибратор выглядит удлиненным прямоугольником со скругленными сторонами. Углы прямые, на практике, выгибая из толстого материала, не получается сделать точно. Выделим четыре вида расстояний в волновом канале:
- Между рефлектором и активным вибратором.
- От активного вибратора до первого директора.
- От первого директора до второго директора.
- Между остальными директорами.
На практике себя показывает отлично конструкция, где директоры имеют одинаковую длину, меньшую, нежели у активного вибратора.
Рефлектор должен длиной превосходить каждый в отдельности. Элементы изготавливаются из круглой медной, латунной, алюминиевой проволоки круглого сечения. Допускается использовать центральные жилы 4-жильных кабелей. Прочие будут искажать прием, разрешается испробовать.
Изготовить траверсу следует из дачного черенка лопаты, трубы полиэтилена (полипропилена) высокой плотности. Элементы крепятся поперек болтовыми соединениями, при необходимости длинные директоры снабжаются направляющими из прочного диэлектрика (древесина). По возможности элементы располагаются в одной плоскости, быть горизонтальны.
Мачта обоснуется позади активного вибратора, рекомендуется применить одну-две наклонные распорки. Ни одна не должна попасть в зазор между первым директором и активным вибратором. В противном случае антенна телевизионная цифровая будет работать отвратно, сбитая искажениями сигнала крепежом.
Сама мачта устанавливается на растяжки из стальной проволоки. Допустимо пользоваться двумя комплектами при необходимости. Кабель для телевизионной антенны по нормам используется 75 Ом. Такое же значение имеют и волновые сопротивления разъемов плазменных и жидкокристаллических телевизоров. Как результат, блокируется отражение мощности, мастера добиваются уверенного приема сигнала с минимальными затратами энергии и технических средств. При переусилении снижайте коэффициент передачи аттенюаторами.
Размеры самодельной антенны типа волновой канал
Первый мультиплекс Москвы приходится на частоту 559,25 МГц. Посмотрим, какие размеры будет иметь антенна для портативного телевизора соответствующей длины волны. Сие приходится примерно на 32-ой канал советского вещания. Литература указывает следующие размеры устройства:
- Длина рефлектора 26,9 см.
- Длина активного вибратора 21,3 см.
- Высота активного вибратора 5 см.
- Длина директоров 20,2 см.
- Расстояние 1 – 11, 9 см.
- Расстояние 2 – 7 см.
- Расстояние 3 – 13,1 см.
- Расстояние 4 – 15,8 см.
Сигнал снимается с разрыва активного вибратора внизу.
Длина прорези не имеет значения, для ДМВ диапазона это 1,5 – 3 см. Теперь у нас будет цифровое телевидение, антенна своими руками сделана, осталось установить в комнате или на крыше. Рекомендуется при наличии прямой видимости, но башня находится за горизонтом, пользоваться компасом, картой. Наблюдаете непосредственно передающую станцию – нацельте антенну волновой канал, пользуясь зрением. Дальнейшая настройка производится по максимальному уровню сигнала (на практике качеству изображения). После приспособление стоит закрепить, как было показано выше.
Обратите внимание: в городе о прямой видимости не идет речи. Будем ловить отраженный сигнал, приходящий с абсолютно любого направления. Даже с противоположного расположению телецентра. Придется поискать хорошенько, откуда приходит вещание. При неудовлетворительном качестве рекомендуется использовать усилитель для телевизионного сигнала, включаемый близ антенны.
Придется провести кабель питания на крышу. Допускается установить волновой канал в комнате, усилитель может не понадобиться. Основные потери обусловлены кабелем, длина оставляется минимальной. Телевизионная антенна комнатная своими руками изготавливается по тому же принципу. Не требуются мачта, растяжки. Где поместить – личное дело каждого. Зависит от фантазии.
Если использовать кронштейн для телевизионной антенны, на одной мачте возможно укрепить ряд волновых каналов, это позволит принимать все частоты с максимальным качеством, ловить радиовещание. Обратите внимание, не обсудили в обзоре согласующие устройства, помогающие добиться наименьшего значения КСВ. В этом случае мощность будет отражаться меньше. Опытный конструктор должен об этом позаботиться сам!
Антенна для телевизора своими руками
Основную массу информации население получает благодаря телевидению, просмотр которого требует наличия принимающей антенны. Купить принимающее устройство можно в любом магазине, но не всегда есть такая возможность.
В таком случае, можно сделать антенну своими руками. Далее, будут рассмотрены основные разновидности и порядок их сборки.
Главным преимуществом самодельных устройств является то, что они требуют минимум финансовых затрат. Случается и так, что самодельные варианты превосходят заводские по многим позициям.
Плюс и в том, что кустарные изделия можно назвать «всеволновыми», делается это не умышленно, получается именно так. Недостатки самодельных устройств заключаются в неэстетичном внешнем виде, хотя это зависит от рук мастера. Весомым недостатком является труднодоступность некоторых материалов.
Несомненно, плюсов больше, поэтому рассмотрим основные кустарные изделия.
Разновидности
«Пивная»
Для изготовления изделия потребуется четное количество банок из-под пива. Самые распространенные варианты выполнены из двух штук. Процесс монтажа достаточно простой и требует минимума инструмента и расходных материалов.
Инструкция:
- Для начала, берется деревянная рейка (подойдет и вешалка), которая будет служить опорой конструкции.

- К рейке, при помощи скотча, крепятся пивные банки, на расстоянии около 6 сантиметров.
- Далее, к банкам, крепится телевизионный кабель. Процедура может быть выполнена как при помощи саморезов, так и с помощью припоя.
- Последним этапом является крепление основы к мачте и настройке положения. Более сложный вариант изготавливается из 6-8 банок. Для такой антенны потребуется две основы, установленные вертикально.
- На установленные основы крепятся по 4 банки, параллельно друг друга.
- При помощи медной пластины или проволоки, следует соединить банки, расположенные на одной стойке, далее, выполнить процедуру на другой.
- Следующим этапом является монтаж стоек в одну конструкцию, следует учитывать, что расстояние между донышками банок должно быть не менее 60 мм.
- Осталось закрепить кабель в крайних точках соединительных пластин.
Антенна с минимальными затратами
Следует помнить, что телевидение распространяется в пространстве в виде волн, которые хорошо воспринимаются металлическими объектами. Для просмотра нескольких телеканалов можно использовать кусок проволоки, один конец которой крепится к системе отопления, а другой в телевизор к центральному контакту.
Принцип работы такой антенны основан на площади системы, а она опутывает почти весь дом на разных высотах. Качество приема у конструкции не самое высокое. Более интересный вариант требует наличия балкона с металлическими струнами для белья.
Технология сборки полностью аналогична системе с батареей. Существуют места с уверенным приемом сигнала, там можно использовать вязальную спицу, которая даст возможность просмотра основных каналов.
Обычная антенна
Самостоятельно собрать антенну достаточно просто, для этого потребуется трубка из алюминия или латуни. Последний вариант более удобен, так как этот материал практически не окисляется.
Инструкция:
- Длина трубок должна быть 276 мм – именно она обеспечивает прием большинства каналов, толщина 20 мм.
Трубки следует расплющить с одной стороны, далее просверлить отверстия в этих местах.
- Следующий этап – это подготовка основы. Она должна выполняться из диэлектрического материала, размером 150 на 50 мм и толщиной не менее 5 мм.
- Далее, на ровной поверхности выкладывается макет антенны. Ложится основа, поверх нее трубки, расстояние между расплющенными концами трубок составляет 65 мм, отмечаются места отверстий в трубках и сверлом того же диаметра делается отверстие в основе.
- Следующий этап – сборка конструкции. Трубки крепятся к основе при помощи болтов, желательно использовать дополнительное крепление в виде хомута – это обеспечит прочность конструкции. Болты, используемые для крепления, берутся длиной 15-20 мм, это необходимо для крепления петли.
- Сборка антенны завершена, остается только присоединить кабель, делать это напрямую к антенне нельзя. Правильное соединение производится через кольцо из провода с сопротивлением 75 Ом.
Длина петли высчитывается индивидуально в зависимости от длины трубки, в данной ситуации она равна 280 сантиметров.
Отводящий кабель присоединяется уже к петле.
Мощная антенна
Разобравшись с классическими вариантами, следует рассмотреть антенны, рассчитанные на прием самого слабого сигнала. Для создания такой потребуется минимум материалов, а именно, латунная трубка, пластина из того же материала, желание и руки.
Инструкция:
- Изготовление приемного устройства начинается с выгибания из трубки двух квадратов одинакового размера, крепящихся на диэлектрическую основу таким способом, чтобы расстояние между углами квадратов составляло 10-15 мм.
- Следующим этапом является изготовления экрана, призванного усилить мощность сигнала, и сгладить радиопомехи. Экран выгибается в форме прямоугольника 11×10 сантиметров, с высотой бортов 23 мм и шириной 6 мм.
- При соединении двух компонентов необходимо выдержать расстояние в 12 мм.
Соединение готового изделия с телевизором производится при помощи кабеля с сопротивлением 75 Ом. Важным фактом является то, что данная конструкция не допускает использование болтового соединения, разрешен только припой.
При правильной сборке, модель превосходит по характеристикам заводские аналоги.
ДМВ антенна
Цифровое телевидение покрывает все новые территории, но для его уверенного приема необходим специальный модуль. Часто, устройство приобретается отдельно, но имеются телевизоры, имеющие встроенный модуль.
Но одного приемника мало, необходима антенна, приминающая ДМВ волны. Самый простой вариант изготавливается на листе фанеры.
Инструкция:
- Для сборки потребуется телевизионный кабель 75 Ом длиной 53 см. Этот отрезок закрепляется на листе в форме кольца, крепить можно как хомутами, так и при помощи клея.
- При загибе петли следует сделать так, чтобы между концами кабеля был зазор в 5-10 мм.
Второй элемент изделия выполняется из аналогичного кабеля, длиной в 15,5 см, из этого отрезка выполняется петля.
- Соединение кольца и петли выполняется следующим образом – внутренняя жила кольца соединяется с обмоткой обеих сторон. Петля центральной жилой крепится к этой скрутке, а наружная обмотка соединится между краями. Центральная жила антенного кабеля присоединяется к внутренней жиле петли, а обмотка к обмотке петли.
Настройка
Установка изделий, сделанных своими руками, производится аналогично заводским аналогам. Большинство вариантов требуют наличия мачты, для поднятия их на максимальную высоту.
В большинстве случаев, достаточно высоты на 2-3 метра превышающей высоту крыши строения. Дополнительно, при установке следует выбрать место с наличием самого сильного сигнала, особенно это актуально для комнатных устройств.
Настройка осуществляется путем перестановки или поворота антенны в сторону вышки, иногда требуется установка дополнительного экрана с задней стороны.
Усилитель своими руками
Нередки ситуации, когда правильно собранная и грамотно настроенная антенна, отказывается надежно принимать сигнал, тогда просто не обойтись без усилителя сигнала.
Большая часть подобных устройств имеет сложную конструкцию, собрать которую без определенных знаний тяжело. Более простой вариант можно изготовить своими руками за 10 минут.
Понадобится магнит, на который наматывается несколько витков телевизионного кабеля. Это устройство можно собрать как возле телевизора, так и на антенне. Последний вариант наиболее популярен в заводских усилителях.
Итоги
Завершая тему, следует обратить внимание на то, что наибольшее качество приема можно добиться при использовании пайки (болты с гайками окисляются, значительно ухудшая сигнал). Важным аспектом является правильный выбор кабеля.
Самый популярный вариант – это изделие имеющее сопротивление 75 Ом, выполненное из силикона.
Подобные изделия имеют длительный срок службы, плюс не подвержены влиянию климата. Способ соединения кабеля с телевизором имеет важное значение. Рекомендуется использовать специальные штекера, допускаются варианты без пайки.
Перед началом сборки изделия, необходимо определиться с типом изделия, для этого следует выяснить частоту, на которой транслируется сигнал, это зависит от конкретной местности.
Статья была полезна?
0,00 (оценок: 0)
Как сделать мощную HDTV антенну для телевизора своими руками
Люди придумали кучу способов улучшить прием сигнала антеннами – от прикреплённой одежной вешалки до намотанной алюминиевой фольги. Поняв, что большинство этих способов не работают на самом деле, я решил сделать нормальную и расскажу вам как собрать антенну для телевизора.
Из-за возросшей стоимости кабельного ТВ, я решил купить антенну. Первая практически не ловила сигнал, вторая работала, но если кот сидел на подоконнике, то сигнал пропадал.
И даже то, что я обмотал ее фольгой не помогло.
После поисков в интернете я нашел инструкцию, как сделать телевизионную антенну в домашних условиях для сигнала телевидения высокого разрешения из картона и алюминиевой фольги. Когда я поделился задумкой с отцом, он сначала посмеялся, но теперь тоже просит, чтобы я и ему сделал такую широкополосную уличную телеантенну из проволоки на дачу. Супер мощная антенна для аналогового ТВ достаточно простая для изготовления своими руками, мои фотографии и пояснения помогут вам разобраться в процессе.
Даже не поднимая антенну повыше, я уже поймал больше каналов, чем раньше было по платному кабельному ТВ, и изображение очень чистое. После того, как закрепите самодельную антенну для телевизора на постоянном месте повыше, заново включите поиск каналов, их должно найтись еще больше на большей высоте.
Шаг 1: Необходимые материалы
Материалы:
- Лист картона около метра длиной
- Инструменты для резки картона – ножницы и канцелярский нож
- Алюминиевая фольга
- Клей (я использовал столярный – он очень хорошо склеивает)
- Дрель
- Два винта с гайками и шайбами
- Антенный адаптер 75-300 ОМ UHF/VHF, есть на Амазоне
- Коаксиальный кабель 1-1,2 м, есть на Амазоне, размер не важен, главное, чтобы длины хватало
- Краска, маркеры или самоклейка для облагораживания внешней стороны (опционально)
Шаблон
Шаблоны для вырезания деталей из картона и фольги есть в интернете.
Шаг 2: Вырезаем картонное основание антенны
Сначала вырежьте из картона прямоугольник 33х36 см. Затем нанесите небольшое количество клея на одну сторону и приклейте фольгу, хорошо ее разгладив. Края фольги загните на другую сторона картонного основания и покройте фольгу краской. Можно декорировать внешнюю сторону маркерами или самоклеящейся бумагой, на ваше усмотрение. Отложите основание в сторону, пока клей не просохнет.
Шаг 3: Вырезаем части антенны
Распечатайте скачанные шаблоны и вырежьте их. Затем положите шаблоны на картон, можно закрепить их парой кусочков скотча. Обведите шаблоны и вырежьте их канцелярским ножом. Вам понадобятся две детали крыльев, соединенных перемычкой. Также вырежьте две крепежные пластины.
Вырежьте две детали с крыльями из фольги по шаблону. Для вырезания шаблонов из фольги используйте ножницы, канцелярский нож рвет фольгу.
У вас должны быть две детали с крыльями, две аналогичные детали из фольги, две крепежных пластины.
Также есть шаблон для подставки, если собираетесь ставить антенну на подставку, вырежьте деталь из картона.
Шаг 4: Сгибаем крылья антенны
Как вы, наверное, заметили, на шаблоне крыльев антенны нанесены пунктирные линии сгиба. Согните шаблон по этим линиям и на картонной заготовке карандашом отметьте места, где должны быть линии сгиба. Аккуратно и медленно надрежьте картон по этим линиям, будьте осторожны и не прорежьте картон насквозь. Аккуратно сложите все четыре картонных закрылка по надрезанным линиям сгиба. Сгибайте не до конца, а чтобы получился нужный угол, на фото можно рассмотреть детально.
После того, как закрылки согнуты, нанесите клей в надрезы по линиям сгиба, чтобы зафиксировать сгибы. Закрылки должны составлять с плоскостью крыла угол 45°, то есть по отношению друг другу они находятся под углом 90°. Скорее всего, они разойдутся, если их не проклеить, лучший вариант для этого – термоклей.
Шаг 5: Обклеиваем крылья фольгой
Теперь нужно обклеить фольгой крылья с обратной стороны.
Из-за того, что лист фольги уже, чем картонная деталь, перекладина детали останется непокрыта фольгой. Фольгу нужно наклеить и разгладить до максимально возможно гладкого состояния, слой клея должен быть тонким. Отложите пока детали в сторону, чтобы клей высох.
Шаг 6: Красим антенну и устанавливаем крепежные пластины
Покрываем крепежные пластины краской, проверяем высох ли клей на основании (прямоугольник 33х36 см). Если клей просох, расположите прямоугольник перед собой по высоте (в книжной ориентации). Используя шаблон, отметьте места, где нужно сделать отверстия для крепежных пластин. Прорежьте эти отверстия.
Затем красим две детали с крыльями. Дадим краске высохнуть. Затем устанавливаем крепежные пластины на места (на фото). Продеть в отверстие пластины нужно боком и затем развернуть их прямо. Они должны быть прижаты к верхнему краю отверстий в основании и вытянуты достаточно далеко от него.
Если прорези в крепежных пластинах слишком узкие и пластины тяжело фиксируются на основании, прорези можно немного расширить.
Можно проклеить места соединения крепежных пластин и основания, а также добавить по капле клея в тех местах, где вырезанные прямоугольники картонного основания отгибаются наружу. Это добавит прочности конструкции.
Как только клей и краска высохнут, можно собрать антенну целиком.
Шаг 7: Подключаем антенну
Сначала установите две детали с крыльями в прорези крепежных пластин. Места соединения деталей можно дополнительно усилить клеем. Дайте клею высохнуть.
Подключение проводов на самом деле достаточно простое. На шаблоне перемычки между крыльев отмечено отверстие на расстоянии 3 мм и 6 мм от краев перемычки. С помощью шаблона отметьте эти места на перемычках и просверлите их. В отверстия вставьте винты, на них наденьте шайбы, затем накиньте контакты от антенного адаптера, и закрутите гайки.
Теперь адаптер подключен к антенне и можно подключать его к телевизору. Подключите коаксиальный кабель к штекеру адаптера, а другой конец кабеля подключите к соответствующему разъему телевизора.
На этом, собственно, все.
Эта антенна намного превзошла все, купленные мной в магазине.
ТВ-антенна, которую можно сделать из уже имеющихся дома
Люк Баума
•
7 марта, 2019
если (has_post_thumbnail ($ post_id)):?>
endif; ?>
Телевизионная антенна — отличный способ получить множество HD-каналов, включая, во многих областях, ABC, CBS, FOX и NBC бесплатно.Хотя вы можете купить антенну менее чем за 50 долларов в таких магазинах, как Walmart или Target, вы также можете построить свою собственную антенну из предметов, которые, вероятно, уже есть в вашем доме.
Вот два способа сделать дешевую и простую антенну для телевизора.
Одно замечание, прежде чем мы начнем
Если у вас есть смарт-телевизор, вам нужно будет использовать его меню для поиска каналов после установки антенны. Для этого перейдите в Настройки на телевизоре.
Там вы найдете меню каналов с возможностью поиска локальных каналов.Без этого шага ваш телевизор не будет отображать все доступные каналы.
Антенна со скрепкой
Если вы живете в районе с хорошим приемом эфирного телевидения, скрепка может быть первым вариантом, который вы захотите попробовать. Все, что вам нужно сделать, это распрямить скрепку и вставить ее в штекер кабеля / антенны на телевизоре (тот круглый разъем, который вы использовали для подключения кабельной розетки от телевизора).
Это не самая лучшая антенна, однако многие люди сообщают, что могут получить нужные каналы с помощью скрепки.
Антенна вешалки для одежды
У вас есть старая металлическая вешалка для одежды? Если он подходящего размера, вы можете распрямить его, как если бы это была скрепка большего размера, и подключить ее прямо к телевизору.
Для еще лучшего приема вы можете подумать об использовании коаксиального кабеля в сочетании с вешалкой для одежды.
Для этого вам нужно будет прикрутить один конец кабеля к телевизору, а другой конец — к проволочной вешалке для одежды.Это позволит вам перемещать антенну для лучшего приема.
Возьмите коаксиальный кабель любой длины (кабель, который вы использовали для ввинчивания в заднюю часть телевизора от кабельной коробки) и отрежьте разъем с одного конца. С помощью ножа аккуратно срежьте резину и защитные слои вокруг жилы коаксиального кабеля примерно на ¼ дюйма от конца (я имею в виду, что будьте осторожны, провода острые, поэтому, пожалуйста, не порежьтесь).
Теперь оберните оголенный коаксиальный кабель вокруг антенны вешалки для одежды как можно плотнее.Это позволит вам перемещать самодельную антенну, чтобы найти лучшую точку приема. Как правило, чем выше вы вешаете антенну и чем дальше она от телевизора, тем лучше качество приема.
Последние мысли
Самодельные антенны очень весело делать и использовать. Как всегда, когда вы делаете свою собственную антенну, есть некоторая доля «вы получаете то, за что платите».
Если вы не получаете прием, который, по вашему мнению, должен иметь, с самодельной антенной, вы можете купить ее в местном магазине, поскольку их антенны специально созданы для приема телевизионных сигналов.
AntennaWeb.org — отличный сайт, который поможет вам найти, какие каналы доступны бесплатно в эфире в вашем регионе. Просто введите свой адрес, и они дадут вам представление о том, чего вы можете ожидать от телевизионной антенны.
Как исправить плохой прием ТВ с помощью самодельной антенны HDTV
Примечание. Этот пост был первоначально опубликован 14 августа 2019 г. Мы публикуем его снова, потому что считаем, что сейчас хорошее время, чтобы изучить бесплатные и дешевые варианты программирования HDTV, а у вас может быть немного времени.
Практически все в современном телевидении стало меньше и лучше. Телевизоры, игровые приставки и даже потоковые устройства тоньше и мощнее. Однако есть одна область, где меньше — не лучше, и это антенны.
Может показаться логичным, что технология продвинулась до того, что небольшая антенна толщиной с бумагу, прикрепленная к внутренней стене, может выполнять работу, которую когда-то делали телевизионные кроличьи уши или установленные на крыше столбы. Но если вам не посчастливилось жить в счастливой зоне сильных сигналов, ваша маленькая антенна не сможет противостоять физике расстояния и частот, и вы упустите бесплатные каналы.
Могу я смиренно предложить радикальное решение: не покупать новую антенну (или три, как я) и не платить за кабельное телевидение или пакет для прямой трансляции. Вместо этого создайте дешевую, странную, но очень эффективную четырехфутовую антенну, возможно, с уже имеющимся оборудованием. С различными настенными антеннами, которые я пробовал, я получил 15 каналов и только две основные сети HD. С антенной, которую я построил за 30 минут в субботу и потратив примерно 15 долларов на материалы, я перескочил на 35 каналов и все пять основных сетей региона в высоком разрешении (с лучшим изображением и звуком).
Если у вас есть место, где можно спрятать эту антенну, желательно выше в доме, или если вы не возражаете, чтобы ваша работа была видна, вы получите действительно эффективную комнатную антенну. Вы можете пропустить коаксиальный кабель от антенны к телевизору (или двум, с разветвителем) и смотреть прямые трансляции HD-телевидения. Вы можете установить телевизор на свой компьютер или ноутбук с USB-тюнером. Или вы можете настроить свою домашнюю сеть для просмотра ТВ практически на любом устройстве с помощью сетевого тюнера, такого как HDHomeRun. Эта штука, которая выглядит как опора с сайта теории заговора, работает так же, как любая антенна, которую вы можете купить в магазине, но лучше.
Давайте прикрутим проволоку к деревянной доске, улучшим прием и перестанем покупать новое оборудование, чтобы смотреть телевизор, который мы можем получить бесплатно.
Что вам понадобится
Расходные материалы
- Одинарная деревянная плита .
Не менее 3 футов в длину и более 1,5 дюйма в ширину. На самом деле это может быть что угодно, главное, чтобы оно было достаточно глубоким, чтобы в него можно было просверлить короткие шурупы. Наш видеохозяин использует сосновую доску размером 3 x 1. Но старый добрый 2х4, вероятно, самый дешевый. - Медная, алюминиевая или стальная проволока. Другие металлы, вероятно, подойдут, но убедитесь, что он не имеет покрытия или оболочки и имеет размер от 8 до 14. Купите по крайней мере 20 футов, для защиты от болванов. Вы можете использовать вешалки для крыльев, если на них нет покрытия.
- 10 маленьких винтов. Убедитесь, что они недостаточно длинные, чтобы проткнуть доску. №6 — это то, что Джакомо использует в видео.
- 10 шайб, с отверстием, достаточно большим, чтобы можно было пропустить резьбу винта, но не настолько маленьким, что головка винта может пройти.Если вы покупаете новые винты и шайбы, вы можете получить такой же размер (как # 6).

- Балун / трансформатор. Технически «согласующий трансформатор от 75 до 300 Ом», возможно, вы помните это со времен ламповых телевизоров, видеомагнитофонов и Nintendo. Он имеет два контакта и подходит для коаксиального кабеля. Это хороший и дешевый пример.
- Коаксиальный кабель. Длина зависит от того, как далеко будет находиться антенна от телевизора или тюнера.
Инструменты
- Кусачки .Подойдет практически любой.
- Плоскогубцы . Желательно игольчатый.
- Шуруповерт / дрель. Если вы не готовы проделать длительную работу с отверткой.
- Рулетка и маркер.
Дополнительно
- Антенный усилитель или усиленный разветвитель. Если вы прокладываете кабель к более чем одному телевизору или устройству, купите усиленный разветвитель –, стандартный коаксиальный разветвитель ослабит сигнал.
Если вам нужно использовать много коаксиальных кабелей, около 50 футов или более, вам понадобится линейный усилитель , чтобы ваши сильные сигналы не ослаблялись на расстоянии.
Сборка антенны
Я научился делать самодельную антенну HDTV от Джона О’Брайена, который время от времени проводит семинары по перерезанию шнура в Библиотеке инструментов University Heights и стремится распространиться по всему Буффало, штат Нью-Йорк. (Небольшое раскрытие: я являюсь членом правления Awesome Buffalo, который предоставил грант проекту О’Брайена).
О’Брайен провел много исследований о том, как сделать хорошую антенну HDTV и использовать ее с пользой. Он сказал мне, что одна из этих самодельных антенн с четырьмя парами «усов» антенн похожа на гирляндное соединение четырех плоских антенн друг с другом. Плоские антенны часто имеют одну среднюю пару антенн или две маленькие пары. Он рекомендовал это видео от ведущего телеканала CBC Джакомо Панико в Оттаве как хорошее руководство для тех, кто не может прилететь в Буффало для его мастерской (но, серьезно, отличные крылья, чудесные парки, Ниагарский водопад того стоит, зайдите).
В видео вы шаг за шагом проведете процесс сборки, но я опишу его здесь.
Начиная ближе к верху, отметьте две точки винта на расстоянии 1,5 дюйма друг от друга. Отмерьте доску на девять дюймов, затем поместите еще две точки на расстоянии 1,5 дюйма друг от друга. Теперь другая мера: 4,5 дюйма для следующего набора, затем еще 4,5 дюйма и, наконец, 9-дюймовый зазор для последнего набора.
Поместите шайбу на каждую отмеченную точку, затем слегка ввинтите в каждую точку, но не до конца.Оставьте достаточно места, чтобы под шайбу поместился провод.
Отрежьте провод длиной около 30 дюймов или немного больше, если вы купили его много. Посмотрите эту часть видео. Начиная с любого нижнего винта, ваш провод перейдет к следующему винту, пройдет через следующие два винта, а затем снова перейдет к самому верхнему винту с другой стороны. Повторите это для другой стороны, , за исключением: для одного из проводов в каждой точке пересечения требуется небольшая дуга, чтобы один провод мог проходить под другим, не касаясь.
Посмотрите эту часть видео.
А теперь пора делать «усы». Каждый из них представляет собой 19 дюймов проволоки, согнутой посередине в форме буквы V, так что каждая сторона имеет длину 9,5 дюйма, а концы находятся на расстоянии 4,5 дюйма друг от друга. Вот где вы можете использовать вешалки для одежды из непогнутой проволоки, если разрезать их. Восемь усов подходят под шайбы, за исключением среднего набора, который вы зарезервируете для балуна между антенной и кабелем. Вы хотите, чтобы усы и сквозные провода соприкасались друг с другом под мягким токопроводящим давлением стиральной машины.Прикрутите каждую.
Последний шаг — установка каждого зубца балуна под одну из шайб в среднем наборе винтов, а затем завинчивание, чтобы закрепить его. Еще раз убедитесь, что кончики ваших усов расположены на расстоянии 4,5 дюйма (как внутри пар усов, так и между парами усов), и что провода, пересекающие друг друга на доске, не соприкасаются.
Эти диаграммы (часть первая, часть вторая, оба PDF-файла) подробно описывают измерения и правила.
Они немного не согласны с нашим любезным канадским видео-инструктором, который требует 5.5 дюймов между усами. Вы можете поэкспериментировать, чтобы увидеть, кто правее, но, скорее всего, это не будет иметь большого значения.
Размещение и подключение антенны
Mad Max
Лучше всего разместить антенну как можно выше внутри дома, но при этом на небольшом расстоянии от телевизора. В противном случае вам придется найти компромисс.
Лучше всего для приема в вашем доме лучше, потому что сигналы, которые улавливает эта антенна, находятся в пределах прямой видимости.Чем выше положение, тем меньше мест, где другие здания и сооружения могут препятствовать прохождению сигнала. Поместите его рядом с окном, но по возможности избегайте окон с металлическими сетками. И не кладите его снаружи, потому что дерево и голая медь не выживут.
В какую сторону вы указываете эту штуку? Ах, теперь это может быть сложно. Введите свой адрес в TV Fool, AntennaWeb или попробуйте оба варианта (я считаю, что AntennaWeb легче визуализировать, но у TV Fool больше данных).
Вы увидите углы передачи на антенну.Иногда все каналы, которые вам больше всего нужны, приходят с одного направления. Иногда вам не хватает внешнего канала, чтобы добраться до него. В противном случае вам придется разработать стратегию и использовать компас (или приложение для телефона с компасом), чтобы направить переднюю часть антенны вместе с винтами и усами в сторону наилучшего сочетания сигнальных линий.
Вы можете обернуть доску фольгой и поместить ее за антенной, чтобы захватывать и отражать сигналы обратно на антенну с определенного направления, но это отсекает сигналы, которые могут достигать вашей антенны сзади.Используйте это только в крайнем случае.
После того, как у вас будет хороший старт для позиционирования, подключите коаксиальный кабель к балуну. Подключите кабель к телевизору или тюнеру. Большинство работающих в наши дни телевизоров имеют коаксиальный порт и возможность поиска встроенных каналов высокой четкости. Если на вашем телевизоре их нет, вам понадобится блок цифрового преобразователя (который отличается от приставки кабельного телевидения).
Какой бы тюнер вы ни использовали, вкрутите кабель, найдите каналы и посмотрите несколько из них.
В отличие от прежнего аналогового приема, цифровые сигналы HDTV не являются нечеткими, если они слабые.Вместо этого они периодически обрезаются, оставляют на экране «артефакты» по мере того, как изображение перемещается, или вообще не появляются с ошибкой «слабый сигнал» на экране. Отрегулируйте антенну, повторите сканирование и повторите оценку. Небольшие изменения угла могут иметь большое значение — я сделал одно изменение на 10 градусов и потерял около 15 каналов. Найдите надежную комбинацию, которая вам нравится, затем закрепите антенну под этим углом.
Ваша стойка регистрации не всегда будет такой, как вы ее настроили. Все, от осадков до сигналов LTE и солнечных пятен, может влиять на мощность различных каналов.Но обычно это намного лучше, чем более дорогая настенная антенна, и вы можете смотреть телевизор, снятый вами с помощью собственной изобретательности. Это крутое чувство.
Получите бесплатное телевидение | Антенна TV
Чтобы получить бесплатное эфирное телевидение, выполните три простых шага ниже.
Шаг 1. Используйте цифровой тюнер.
В вашем телевизоре уже есть цифровой тюнер, если он был произведен:
- После июля 2005 г. и размер экрана 36 дюймов или больше
- После марта 2006 г. и размер экрана 25 дюймов или больше
- После марта 2007 г.
Если ваш телевизор не соответствует этим критериям, вам понадобится один из следующих:
- Блок цифрового преобразователя
- Видеомагнитофон с цифровым тюнером
- DVD-рекордер с цифровым тюнером
- DVR с цифровым тюнером
Шаг 2. Подключите внутреннюю или внешнюю антенну к телевизору или цифровому тюнеру.
(Для получения дополнительной информации о том, какой тип антенны вам может понадобиться, перейдите на сайт antennaweb.org)
Коаксиальный кабель можно подключить непосредственно к входному разъему вашего телевизора, если он имеет встроенный цифровой тюнер.
Следуйте этим инструкциям, чтобы подключить антенну к цифровому преобразователю, видеомагнитофону, DVD-рекордеру или DVR с цифровым тюнером:
- Подключите коаксиальный кабель антенны к разъему «Antenna In» на задней стороне блока цифрового тюнера.
- Используйте второй коаксиальный кабель для подключения выхода «Out to TV» на блоке цифрового тюнера к «Antenna In» на задней панели телевизора.
- Установите телевизор на канал 3 или 4, как указано на задней панели устройства цифровой настройки.
Шаг 3: Поиск каналов.
Все блоки цифровых преобразователей и цифровые телевизоры различаются процедурами сканирования. Ниже приведено общее руководство, но действия или терминология могут отличаться для вашего устройства:
- Нажмите кнопку «Меню» на конвертере, пульте конвертера, телевизоре или пульте дистанционного управления телевизором.

- Перейдите в «Настройка» или «Настройки».
- Перейдите в «Установка», «Система» или «Каналы».
- Перейдите в «Сканирование каналов», «Программные каналы», «Автосканирование», «Автопрограммирование» или «Автонастройка».
- Нажмите «Выбрать», «Ввод» или «ОК», чтобы начать сканирование.
- Когда устройство сообщает о завершении сканирования, примите найденные каналы и закройте меню.
- Некоторым устройствам может потребоваться время от времени повторное сканирование, когда они теряют широковещательный сигнал
- Нажмите кнопку «Меню» на конвертере, пульте конвертера, телевизоре или пульте дистанционного управления телевизором.
Полезные ссылки:
FCC: Установка блока цифрового преобразователя
FCC: Установка блока цифрового преобразователя с видеомагнитофоном
Chicago Tribune Статья: «Простая антенна может помочь избавиться от дорогостоящего кабельного телевидения»
eHow: «Каковы причины плохих сигналов цифрового телевидения?»
Веб-сайты для определения приема на ваш адрес:
FCC: https: // www. fcc.gov/media/engineering/dtvmaps
TV Fool: http://www.tvfool.com/
Antenna Web: http://antennaweb.org/Address
10 простых планов самодельных телевизионных антенн, чтобы сэкономить ваши деньги
Вы устали скучать по любимым шоу или смотреть одно и то же снова и снова? Мы собрали эти 10 простых планов телевизионных антенн , которые сделают ваше время и дни стриминга более увлекательными. Вы, должно быть, слышали о возможности создания собственной самодельной антенны с возможностью HDTV для улавливания и потоковой передачи некоторых цифровых наземных сигналов.Это не только звучит как хорошая идея, но также позволяет сэкономить деньги. Эти дешевые, простые и быстрые в сборке планы телевизионных антенн своими руками могут значительно увеличить время и качество потоковой передачи вашего канала.
С нашими простыми самодельными планами антенн HDTV вы также можете выбирать между внутренней или внешней телевизионной антенной.
Хотя известно, что наружные антенны улавливают более сильный сигнал, с внутренними антеннами также связаны некоторые плюсы. Например, вам не нужно взбираться на крышу и управлять направлением антенны.Итак, подведем итоги. Доступ к комнатным антеннам проще. В любом случае, используйте наши различные виды самодельных антенн HDTV и побалуйте себя потоковой передачей HD-каналов и никогда не пропустите свои любимые шоу.
1. Современная самодельная мощная антенна HDTV
Вы устали оплачивать дорогостоящие счета за кабельное телевидение и ждать, пока ваш провайдер кабельного телевидения серьезно отнесется к жалобам? Соберите себе эту современную DIY HDTV-антенну из картона и алюминиевой фольги, а также сэкономите ваше время и деньги.Вам понадобится несколько футов картона, режущий материал, алюминиевая фольга, сверло, шурупы и шайбы. Instructables
2. ТВ-антенна для труб из ПВХ своими руками
Кто знал, что трубы из ПВХ могут быть такими универсальными? Для использования даже в идее ТВ-антенны своими руками! Эта трубчатая телевизионная антенна из ПВХ предназначена для 11-го канала УКВ и 16-го канала УВЧ.
Эта двойная складывающаяся двухполюсная антенна может превзойти любые другие кабельные службы, которые у вас были. cromwell intl
3. Самодельная телевизионная антенна DIY
Используя медные трубки, трубы из ПВХ и минимальные строительные инструменты, сделайте себе эту простую телевизионную антенну DIY .И самое лучшее в нем то, что конструкция довольно проста и полностью совместима с цифровым телевидением. Instructables
4. Самодельная телевизионная антенна за 20 долларов для повышения мощности сигнала
Если вас не устраивает слабый сигнал вашей нынешней телевизионной системы. А вот и самодельная телевизионная антенна за 20 долларов , обеспечивающая самый надежный уровень сигнала. Таким образом, вы можете сделать это, просто используя пенопласт и медную ленту. Macgyverisms
5. DIY HDTV-антенна за 3 доллара США
Предлагаем вам идею сделать просмотр вашего канала и просмотр ТВ более увлекательным, добавив больше фактора HD! Ознакомьтесь с деталями установки DIY HDTV-антенны за 3 долларов США в магазине Dollar.
Это наверняка станет большим хитом в доме! squawkfox
6. Домашняя домашняя телевизионная антенна
С этими планами самодельной телевизионной антенны , которые теперь захватывают рынок, есть много преимуществ, связанных с ними, таких как экономия ваших денег и лучшие результаты без каких-либо затрат. Одна из лучших особенностей комнатной антенны — это то, что она не взбирается на крышу, чтобы задать правильное направление! Оцените эту простую в изготовлении комнатную антенну, чтобы улучшить качество и количество каналов! инструкции
7.Как сделать цифровую телевизионную антенну
Как сделать телевизионную антенну, не потратив ни единого доллара? Возьмите в руки сосновую доску, медную проволоку, шурупы с головкой для дерева, согласующие трансформаторы, изоленту и многофункциональные инструменты для создания этой супер крутой цифровой телевизионной антенны DIY . У Leatherman есть полное пошаговое руководство, которое проведет вас через весь процесс.
leatherman
8. DIY HDTV Антенна за 5 долларов
Назовите что-нибудь лучше, чем получение БЕСПЛАТНОЙ потоковой передачи HD-каналов! Способ сделать потоковое вещание на ТВ более увлекательным.Плюс совсем неплохо выглядит. Даже с декором не испортишь. Этот учебник по телевизионной антенне DIY поставляется с подробным видео, которое проведет вас через шаги. awesomejelly
9. Как собрать антенну HDTV
Эта антенна HDTV не только супер дешевая в изготовлении, но и обещанная мощность ее сигнала, которая, как известно, составляет от 88 до 99. Если вы ищете все эти преимущества в ваша антенна HDTV, это очарование. Получите перечень комплектующих uhfhdtvantenna
10.ТВ-антенна своими руками для каналов HD и SD
Для изготовления ТВ-антенны своими руками вам понадобится манильская папка, алюминиевая фольга, тонкий картон, коаксиальный кабель с разъемом F, резак или нож, степлер и прозрачная упаковочная лента. Установите самодельную цифровую телевизионную антенну и работайте, чтобы наслаждаться потоковой передачей HD-каналов по эфирным каналам! aruljohn
Счета за кабель действительно высоки и расходуют бюджет! Вы можете упустить бесплатный телевизор . Сделайте самодельную антенну из обрезков проволоки и пиломатериалов!
Вывод:
Итак, что вы думаете? Мы уверены, что ни одна из этих идей DIY TV антенн не казалась более сложной для создания или понимания.Но есть ли еще причин перестать платить за кабельное телевидение? Зачем переплачивать, если вы можете сделать это сами! Некоторые медные провода, панели, алюминиевые листы или другие минималистичные инструменты могут творить чудеса. ТАК, счастливого стриминга, ребята!
Получите бесплатное ТВ! Сделайте свою антенну и сэкономьте деньги
Сделайте свою антенну. Отрежьте кабель и смотрите телевизор бесплатно! Вы платили за кабельное телевидение и смотрели только те же десять каналов? Мы тоже! Да, у вас 796 каналов НИЧЕГО! Мне не нужна информационная реклама! Мне неинтересно смотреть бесцветные шоу с нецензурной лексикой.
У вас есть несколько каналов, которые вы даже не можете увидеть, если не заплатите больше, но при этом вам нужно пролистать весь беспорядок, чтобы найти то, что вы действительно можете посмотреть! Мы слишком долго платили почти 150 долларов в месяц! Вы понимаете, что это почти 1800 долларов в год? В конце концов мы решили, что это слишком много, и решили отменить нашу телеграмму.
По вечерам мы проводим намного больше времени на террасе, а по вечерам обсуждаем события дня. Вскоре стало очевидно, что мы не так сильно скучаем по кабельному телевидению.
Помните, когда нам не нужно было платить за телевидение? Хотя погода сейчас относительно хорошая, зима будет здесь, и нам будет очень жаль, что у нас не было телевидения. Что ж, решили купить антенну для одного телевизора на первом этаже. Это было 75 долларов. В итоге мы смогли принять 21 канал. Любопытно, что местный канал на эту антенну даже не выходил. (Я использовал для этого 50 долларов США из денег Ibotta. Так что это обошлось мне всего в 25 долларов.)
Мой старший сын, Джон-Майкл, сказал: «Вы можете сделать свою собственную антенну для одного из других телевизоров.”
Хорошо, он привлек мое внимание. Сделать антенну самостоятельно? Он купил несколько вещей в местном хозяйственном магазине. Он потратил менее 10 долларов.
Это был дешевый проект для нас. К счастью, у нас были остатки 1 ″ x 4 ″ плат , и мы их использовали. Один был 12 дюймов, а другой 27 дюймов. Нам даже не пришлось их резать. 27-дюймовая плата использовалась потому, что она у нас была. Вы можете сделать свою длиннее, но вам также придется отрегулировать количество проволоки.У нас остался кабель №12 калибра , и нам не пришлось его покупать.
Вы можете купить 15-футовых рулонов этого медного кабеля в Lowe’s или Home Depot. Один из проводов оголен, а внутри кабеля находятся два других провода с пластиковым покрытием. Вам придется использовать инструменты для зачистки проводов, чтобы снять покрытие с некоторых проводов, чтобы их длина была достаточной для этого проекта. Здесь, на Amazon, вы можете приобрести неизолированный медный провод 12-го калибра. (Мы являемся аффилированным лицом Amazon и можем получать небольшой процент от любых продаж бесплатно для вас.Спасибо за поддержку этого сайта!)
- Для изготовления антенны вам потребуется:
- 10 # 8 полудюймовые винты
- Шайбы крыльев 10-3 / 4 дюйма
- 18 футов медного провода №12 калибра (Мы использовали кабель, оставшийся от установки электрических цепей в доме. Желтый кабель — провод 12 калибра.)
- 1 фут — доска 1 ″ x 4 ″
- Плата 27 ″ — 1 ″ x 4 ″ (Вы можете сделать ее длиннее. Требуемая длина провода также будет больше.)
- Внешний трансформатор от 75 до 300 Ом (Их также можно приобрести в местном магазине Ace Hardware.)
- Термоусадочная трубка 3/32 ″
- (2) винта для гипсокартона 1-5 / 8 ″
- кусачки
- тепловая пушка
- дрель
- линейка
Подготовка базы
Отметьте центр 12-дюймовой доски. Отметьте 3/8 ″ выше и ниже центральной отметки.
Используя Т-образный квадрат или треугольник, проведите карандашом линию через середину каждой из трех отметок по ширине доски.
На центральной линии сделайте отметки размером 1 дюйм с каждой стороны для просверливания отверстий. Используйте сверло 1/16 ″ и просверлите отверстие в доске в отмеченных местах.
Эта 12-дюймовая доска будет основой. Отложите это в сторону.
, чтобы построить башню
Возьмите доску 27 дюймов и отмерьте 1 дюйм с одного конца.Измеряя от этой отметки 1 ″, сделайте отметку на 8 ″, 16 ″ и 24 ″. Повторите с противоположной стороны. Проведите линию от одной стороны до другой по доске.
Отметьте другую линию посередине между 8- и 16-дюймовыми линиями, которая будет на расстоянии 12 дюймов от линии в 1 дюйм.
Сделайте отметки на расстоянии 1-1 / 8 дюйма от края на обоих концах линии, которую вы только что нарисовали, на расстоянии 12 дюймов.
Отметьте каждую из других линий на расстоянии 3/4 дюйма от края на обоих концах каждой линии.
Отложите доску в сторону.
Обрежьте кабель до 17 дюймов. Всего вам понадобится 8 штук.
Внутри этих кабелей на самом деле 3 медных провода. Два покрыты пленкой, а один голый. Вы можете использовать инструмент для зачистки проводов, чтобы удалить покрытие с двух покрытых проводов, и это займет меньше кабеля. Мы использовали остатки и не торопились зачищать провода.
Ножом для мата прорежьте нарезку длиной около двух или трех дюймов через внешнее покрытие провода одного конца кабеля, обнажив 3 провода внутри.
С помощью плоскогубцев возьмитесь за оголенный медный провод и вытащите его из покрытия кабеля. Повторяйте этот процесс, пока не получите 8 из этих 17-дюймовых отрезков.
Согните 8 проводов пополам, создав V-образную форму с зазором 3 дюйма на каждом из концов. Отложите эти «усы» в сторону. Они нам понадобятся позже.
Поместите шайбу крыла на каждый винт и вкрутите по одному комплекту в каждую из меток 3/4 ″ и 1-1 / 8 ″ на ранее проведенных линиях.Пока не закручивайте винты до упора в доски. Они должны выглядеть вот так.
На этом этапе ваша плата должна выглядеть так, а у вас должно быть 8 усов или V-образных медных проводов.
Присоединение медных проводов
Отрежьте еще два медных провода 12 калибра длиной 30 дюймов каждый. Оберните один из 30-дюймовых отрезков медной проволоки вокруг винтов, следуя этой схеме. Когда ваша плата лежит боком, медный провод следует разместить под нижним винтом на линии 24 дюйма (3 дюйма от конца) над верхним винтом на линии 16 дюймов, под верхним винтом на линии 12 дюймов, над верхним винтом на линии 8 дюймов и над нижним винтом на линии карандаша на расстоянии 1 дюйма от конца платы. При необходимости слегка согните проволоку.
С другой 30-дюймовой проволокой, намотайте проволоку на оставшиеся винты, как показано на рисунке. Оставив хвост длиной около 3 дюймов, намотайте проволоку на верхний винт на линии 24 дюйма (3 дюйма от конца) под нижним винтом на линии 16 дюймов, поверх нижнего винта на линии 12 дюймов, под нижним винтом на линии 8 дюймов и под винтом на линии карандаша на расстоянии 1 дюйма от края платы.
Для следующего шага вы можете использовать термоусадочные трубки или изоленту. Термоусадочная трубка чище и аккуратнее. Термоусадочная трубка 3/32 дюйма отлично подходит для провода 12-го калибра. Разрежьте две трубки диаметром 3 дюйма пополам.
Сначала затяните винты посередине. Затем наденьте трубку на концы проводов и переместитесь в положение, в котором два провода пересекаются с каждой стороны. Вы не хотите, чтобы оголенные провода соприкасались. Пластиковые термоусадочные рукава не дадут им соприкоснуться.
Используйте тепловую пушку в соответствии с инструкциями производителя, чтобы усадить трубку в месте пересечения двух проводов. Повторите то же самое с другой стороной доски.
Это не относится к двум винтам на центральной линии.К ним присоединяется наружный трансформатор.
Вытащите 30-дюймовый провод из-под одного из крыльев, избегая двух винтов в центре доски. К 4 внешним винтам на каждом конце нужно прикрепить усы.
Вытащите 30-дюймовый трос из-под крыла и поместите один из усов под крыло, а затем поместите 30-дюймовый трос поверх уса и под крыло. Затяните винт, чтобы закрепить провода.
Повторите эти действия для остальных 7 винтов.
Отрежьте куски термоусадочной пленки размером 1/2 дюйма, чтобы они поместились на концах всех «усов». У вас должно получиться 16. Перекрывайте конец провода примерно на 1/16 дюйма, чтобы при нагревании пластик защемил концы проводов.
Обрежьте свободные провода у основания и вверху. Затем закройте кончики этих проводов. Мы закрыли концы проводов сверху, а не снизу.
Подсоедините сдвоенные выводы трансформатора наружной установки к винтам между головками винтов и шайбой крыла. Надежно затяните винт.
Заверните шурупы 1-5 / 8 ″ в предварительно просверленные отверстия на обратной стороне 12 ″ доски и просверлите их до тех пор, пока не будут видны кончики на той стороне, где были проведены линии. См. Рисунок ниже. Поместите доску 27 дюймов на винты, совместив край доски с линиями карандаша.Вкрутите шуруп для гипсокартона в край 27-дюймовой доски.
Тестирование антенны
И вот оно. Затем вам нужно подключить коаксиальный кабель от телевизора к трансформатору, и он готов к работе.
Эту довольно примитивную на вид штуку мы спустили в человеческую пещеру и подключили к коаксиальному кабелю. Поставили на полку под телевизором. Мы сели, и Джон-Майкл включил набор.
Сначала экран был темным а потом — вуаля! Была картинка, и она была чертовски четкой! Вообще-то, он выглядел лучше, чем тот, что наверху! Помните, это подвал!
Он перевел аппарат в режим обнаружения и всего было 24 канала. Он начал переключать каналы, и все они шли хорошо. На самом деле, на этой самодельной антенне стало доступно больше каналов и четче! Мы оба были взволнованы и недоверчивы! Да, это может быть не самая красивая маленькая деталь, но работает довольно хорошо.
Я переместил антенну, чтобы скрыть шнуры, и изображение стало пикселизированным. Немного сдвинув его, я снова нашел это золотое пятно, и изображение стало резким. Возможно, вам придется переместить свой, чтобы найти это идеальное положение.
Вы готовы сделать антенну самостоятельно?
Мы пытались придумать, как сделать немного красивее для использования наверху … Как насчет тотемного столба для кошек, раз уж у нас есть усы? Посмотрим.Что вы думаете?
Пожалуйста, поставьте лайк и поделитесь этим постом, и я люблю комментарии! Поделись своим!
Следите за нами и ставьте лайки:
Нравится:
Нравится Загрузка …
Быстрый способ проверить качество приема — антенна не требуется!
Вот способ проверить, можете ли вы принимать телевизионные сигналы цифрового вещания. Вы можете сделать это, даже если у вас нет антенны и вы не хотите покупать ее прямо сейчас.Обратите внимание, что это всего лишь тест, а не постоянная установка!
Перед тем, как начать, введите свой почтовый индекс в Поиск станций, чтобы узнать, какие каналы доступны в вашем регионе. Если у вас есть зеленые или желтые каналы, вы можете продолжить. Если у вас есть только красные каналы или нет, значит, в вашем районе нет телевизионных сигналов, и вы не сможете использовать антенну для приема телепередач. Но вы можете использовать недорогие услуги потокового телевидения, которые дешевле кабельного.
Вам понадобятся три вещи:
1.Телевизор, способный принимать сигналы цифрового ТВ (DTV). Большинство телевизоров с плоским экраном, произведенных в 2006 году или позже, имеют эту возможность. (Для старых ламповых телевизоров потребуется конвертер.)
2. Длина коаксиального кабеля. Этот кабель обычно белый, а его концы выглядят примерно так:
Коаксиальный кабель
Возможно, этот кабель уже подключен к вашему телевизору. Если это так, отключите другой конец и оставьте конец подключенным к телевизору. Отвинтите кабель от того, к чему он подключен, повернув шестигранную манжету против часовой стрелки.В этом случае чем короче, тем лучше (в идеале — несколько футов).
3. Самодельная антенна. Подойдет любой кусок провода или кабеля, который не экранирован или не заземлен. Вот несколько примеров кабелей, которые могут работать как «быстрая и грязная» антенна:
- удлинитель питания
- шнур питания лампы
- проволочная вешалка (со счищенной краской в одном месте, чтобы она могла соприкасаться с коаксиальным кабелем)
- кусок провода (несколько футов длиной)
Вот несколько типов кабелей, из которых не получится хорошая антенна:
- USB-кабель (экранированный)
- другой коаксиальный кабель (экранированный)
- аудиокабели (RCA, инструментальный 1/4 ″ и т. Д.)Они экранированные)
А теперь давайте начнем!
Возьмите коаксиальный кабель и прикрутите его ко входу КАБЕЛЬ / АНТЕННА на задней панели телевизора. Обычно к этому кабелю подходит только одна вилка. Если к нему уже подключен кабель, открутите его на другом конце и используйте для этого эксперимента.
На задней панели телевизора показано, где подключить антенный кабель
Другой конец коаксиального кабеля оставьте пока свободным.
Включите телевизор и войдите в меню настройки, чтобы перевести телевизор в режим «Антенна» (в отличие от режима «Кабель»).Вот как это выглядит на моем Sony Bravia:
Выбор антенного входа на телевизоре
Затем перейдите к пункту меню на вашем телевизоре, который говорит что-то вроде «поиск каналов». Вот как это выглядит на моем телевизоре:
Поиск каналов
Теперь вам нужно перевести телевизор в режим сканирования каналов, при этом прикасаясь центральным проводником коаксиального кабеля к чему-то металлическому, чтобы он действовал как антенна. Лучше всего, если это сделает кто-то другой или вы можете запустить сканирование и быстро поднести коаксиальный кабель к импровизированной антенне.Не волнуйтесь, на моем телевизоре это не заняло 30 минут. Прошло минут 5-10.
Возьмите любой кусок провода, который вы используете в качестве антенны, и коснитесь металлической частью центрального контакта другого конца коаксиального кабеля. Вот пример использования шнура питания:
Самодельная временная антенна для тестирования
Не прикасайтесь к внешней металлической части кабеля к импровизированной антенне, иначе она не будет работать как хорошая антенна. Прикасайтесь к антенне только центральным контактом кабеля!
Я должен подчеркнуть одну вещь: другой конец шнура питания НЕ должен быть подключен к стене, иначе вы можете ударить себя током и повредить телевизор !! Просто позвольте другому концу быть свободным, ни к чему не подключенным.
Начните сканирование, удерживая импровизированную антенну за коаксиальный кабель. Большинство найденных каналов были в конце процесса сканирования, так что не сдавайтесь рано!
Обратите внимание: эта антенна не предназначена для использования в качестве постоянной телевизионной антенны, потому что кому-то придется держать кабель, пока вы смотрите телевизор! Это всего лишь тест, чтобы увидеть минимальное количество каналов, которые вы можете получить, чтобы вы могли решить, хотите ли вы попробовать бесплатное телевещание. Настоящая телевизионная антенна даст вам больше каналов.
Результаты
Если ваш телевизор обнаружил какие-либо каналы во время теста, поздравляем !! Вы — отключение кабеля !! Вы можете получать эфирное цифровое телевидение БЕСПЛАТНО!
Следующим шагом будет покупка настоящей антенны. Приведенная выше установка — это всего лишь эксперимент.
Наружная антенна обеспечит максимальное количество каналов. Однако, если вы хотите начать с комнатной антенны, я рекомендую Mohu Leaf (это то, что я лично использую).
Поскольку в этом тесте используется очень грубая антенна, вы можете получить значительно больше каналов, если купите настоящую антенну, такую как Mohu Leaf.Даже если у вас так всего несколько каналов, это хороший знак. Помните, это всего лишь быстрая и грязная «антенна» — примитивная и ни в коем случае не идеальная. Это просто способ проверить, все ли работает.
Если ваш телевизор не нашел каналов, не обязательно все потеряно. Вы можете получить несколько каналов, если приобретете настоящую комнатную антенну (которая стоит около 40 долларов) или наружную антенну на крыше / чердаке. Загляните в раздел моей антенны, чтобы узнать, какие типы доступны. Но перед покупкой проверьте «Поиск станций», чтобы узнать, какие станции доступны в вашем районе.
Как сделать самодельную телевизионную антенну (с иллюстрациями)
Один из лучших способов получить удовольствие от просмотра любимых ситкомов — это иметь собственную самодельную антенну. Мы перечислили несколько способов создания собственной телевизионной антенны.
Самодельная телевизионная антенна с использованием…
Поскольку домашние расходы достигают своего пика, очевидно, что счет за кабельное телевидение будет лишь нежелательной статьей расходов.Что ж, решение этой проблемы заключается в комфорте самого вашего дома. Все, что вам нужно собрать, это несколько выброшенного оборудования и вы можете собрать собственную телевизионную антенну. Лучшее в изготовлении антенны — это то, что она дешевая, доступная и вам не нужно платить за то, что вы любите. Кроме того, эти антенны хорошо подходят для просмотра HDTV на телевизоре с плоским экраном, что делает их лучшей альтернативой, чем вложения в DTV.
Для изготовления антенны необходимы…
Из ящика для инструментов
Вокруг дома
В магазинах
Хотите написать для нас? Что ж, мы ищем хороших писателей, которые хотят распространять информацию.Свяжитесь с нами, и мы поговорим …
Давайте работать вместе!
Собрать телевизионную антенну — не так уж и сложно. Напротив, это так же просто, как сказать один-два-три. Один — вы собираете нужный материал, два — собираете детали, три — настраиваете. Звучит просто, не правда ли? Что ж, тогда перейдем к основным дизайнам.
Дизайн №1: Использование деревянных досок и проволочных вешалок
Шаг № 1: Подготовка к работе
- Доска из дерева 22 ″ x 8 ″ (предпочтительна сосна)
- 8 проволочных вешалок
- 8 винтов с плоской головкой
- 8 шайб
- Медная проволока
- Изоляционная лента
- Балун
- Сверлильный станок
- Коаксиальный кабель
- Рулетка
- Труба или палка из ПВХ для подъема антенны (опция)
Шаг № 2: Измерьте и отметьте доску, которая будет использоваться
- Для начала оставьте 2 дюйма на одном конце доски.
- Оставьте поле в 1 1/2 дюйма с каждой стороны доски и проведите линию по всей длине доски.
- На этих линиях измерьте и отметьте расстояние 5 1/4 ″ от исходной отметки 2 ″.
- У вас должно получиться 2 ряда равноотстоящих знаков.
- Просверлите отверстия в 8 отмеченных точках на деревянной доске.
Шаг № 3: Используйте проволочные подвески, чтобы создать приемники антенны
- Выпрямите проволочные подвески, чтобы получилось 4 одинаковых проволоки.
- Измерьте провода и найдите середину каждого провода.
- Согните проволоку в центре так, чтобы получился угол 45 градусов.
- Убедитесь, что вы соблюдаете расстояние 3 дюйма между двумя концами провода.
- Прикрепите провода к плате с помощью шурупов и шайб.
Шаг 4: Установите провод и балун
- Перед тем, как затянуть винты, смонтируйте медные провода, как показано выше.
- Изолируйте провода в местах пересечения, чтобы они не соприкасались.
- Присоедините балун (трансформатор) к двум фазным медным проводам.
- Закрепите их на месте, затянув винты и шайбы
- Обрежьте острые края проволочных крючков, чтобы избежать травм.
Шаг 5: Готово к тестированию
- Подсоедините коаксиальный кабель к балуну.
- Присоедините антенну к телевизору с помощью коаксиального кабеля.
- Расположите антенну для приема сигналов.
- Настройте параметры и наслаждайтесь просмотром.
Если вы хотите использовать отражатель, накройте кусочки картона оловянной фольгой и прикрепите к доске. Убедитесь, что провод и фольга не соприкасаются.
Дизайн №2: Использование труб из ПВХ
Шаг № 1: Подготовка к работе
- Две трубы ПВХ 15 ″ x 2 ″
- Уголок ПВХ
- Провод
- Балун
- Коаксиальный кабель
- Сверлильный станок
- 2 винта с плоской головкой
- 2 шайбы
- Рулетка
Хотите написать для нас? Что ж, мы ищем хороших писателей, которые хотят распространять информацию.Свяжитесь с нами, и мы поговорим …
Давайте работать вместе!
Шаг 2: Подготовка рамы
- Оставьте запас 2 дюйма от одного конца трубы и отмерьте 1,75 дюйма на трубе.
- Отметьте 6 точек на одинаковом расстоянии друг от друга на расстоянии 1,75 дюйма друг от друга.
- Просверлите отверстия в трубе с помощью дрели.
- Не забудьте пройти полностью на другую сторону, чтобы можно было пропустить провод.
Шаг № 3: Пропустите провод через
- Начиная с четвертого отверстия, намотайте проволоку вокруг трубы.
- Проденьте его через отверстия, чтобы получилась увеличивающаяся спираль.
- При формировании спирали убедитесь, что провода не соприкасаются друг с другом.
- Пропустите его через последнее отверстие и распрямите по длине трубы, чтобы закрепить в центре.
- Закрепите другой свободный конец на небольшом расстоянии от первого.
Шаг 4: Настройка
- Прикрепите балун к раме антенны.
- Подключите коаксиальный кабель к балуну
- Присоедините другую трубу из ПВХ к этой раме с помощью уголка из ПВХ.
- Установите антенну в помещении или на улице в соответствии с вашими требованиями.
- Подключите антенну к телевизору с помощью коаксиального кабеля и настройте свои параметры.
Дизайн № 3: Использование велосипедного обода
Дизайн № 3: Использование велосипедного обода
Шаг № 1: Подготовка к работе
- Обод велосипеда 26 ″ (горный велосипед)
- Медная проволока
- Четыре трубы из ПВХ 12 ″ x 1,25 ″
- Заглушка из ПВХ 2 ″
- Труба ПВХ 20 футов x 2 дюйма
- Сверлильный станок
- 8 винтов с плоской головкой
- 8 шайб
- Коаксиальный кабель
- Балун
Шаг № 2: Подготовка рамы
- Начните с удаления спиц с обода.
- Подготовьте каркас, собрав четыре 12-дюймовых ПВХ-трубы в форме креста.
- Соедините их с помощью крестовины из ПВХ
- Прикрутите эту раму к ободу велосипеда.
Шаг № 3: Подключено
- Пропустите медный провод через отверстия для спиц.
- Оберните проволоку вокруг обода, образуя петли.
- Убедитесь, что провод не касается двух петель с обеих сторон.
- Закрепите свободные концы проволоки на трубе ПВХ.
Шаг № 4 : Присоедините балун
- Присоедините балун к двум концам провода.
- Подсоедините коаксиальный кабель к балуну
Шаг 3: Настройка
- Закрепите раму на 20-футовой трубе.
- Прикрутите его с помощью винта с плоской головкой и шайбы.
- Оберните коаксиальный кабель вокруг трубы.
- Установите антенну на крышу / землю.
- Подключите коаксиальный кабель к телевизору
- Выполните точную настройку параметров, и он готов к использованию.

Его КУ считается равным 1. ТВ программы передаются с горизонтальной поляризацией.
Устройство обладает отличными характеристиками, сегодня займемся рассмотрением этого класса приспособлений для приема телевизионного вещания.