Устанавливаем подъемные ворота своими руками
Ворота, которые называются подъемными, вы на самом деле видите довольно часто на въездах в гаражи. Они состоят из полотна, которое поднимается и сдвигается под потолок помещения. Такие заграждения пользуются достаточно большой популярностью, ведь все необходимые качества при них: и удобство в пользовании, и защитные свойства, и, что тоже немаловажно, очевидно более выгодная цена. Тем не менее, для установки подъемных ворот своими руками нужны знания, которые помогут вам сделать правильный выбор оборудования и способа монтажа.
В первую очередь следует различать подъемные секционные и поворотные ворота, конструкции которых в целом похожи, но на самом деле имеют довольно значительные расхождения как в плане комплектующих, так и в плане порядка и способа монтажа. В основном они состоят в способе подъема полотна: для секционных изделий используются направляющие и ролики, для поворотных – шарнирно-рычажная система, которая обеспечивает бесшумное движение полотна по потолочным направляющим.
Секционные ворота отличаются большей гибкостью и подвижностью, а также и большей надежностью, в то время как поворотные, которые являются более простыми, обеспечивают безопасность в основном за счет целостности полотна. В качестве материала для полотна секционных ограждающих устройств используются сэндвич-панель, а для подъемно-поворотных выбор более широкий: это и профлист, и дерево, и утепленные панели. Выполнять ремонт самодельных подъемных ворот любого вида довольно несложно, ведь и конструкция не отличается какими-то премудростями.
Сохраняем средства: как лучше сэкономить?
Если вас интересует экономия без потери качества, можно рассмотреть два варианта:
- монтаж купленных у производителя;
- изготовление подъемно-поворотных ворот своими руками по чертежам.
Почему именно подъемно-поворотных, а не секционных? Дело в том, что по конструкции последние как раз таки довольно сложны, и изготовить их самому не так и просто. Чтобы не портить материал и не подвергать себя опасности лишний раз, такие подъемные ворота собирают своими руками по видео или инструкции производителя.
С поворотными всё намного проще, оттого и сделать их можно самому, потратившись только на материалы.
Кроме собственноручного монтажа или изготовления, есть еще вариант сокращения расходов за счет сокращения панелей или подбора такого их количества, которое будет точно соответствовать проему. Однако в этом случае вы рискуете получить негерметичную конструкцию, которая не будет сохранять тепло. Можно также пожертвовать внешним видом ворот, отказавшись от декорированных и цветных вариантов. То же касается и комплектующих подъемных ворот: исключив электромеханику и оставив ручной привод, вы тоже сможете скинуть цену. Тем не менее, последние три способа отразятся на удобстве и функциональности, а ведь хотелось бы и сохранить и деньги, и все необходимые характеристики.
Изготавливаем самодельные поворотные ворота
Как уже упоминалось, конструкция таких изделий проста, и при наличии желания вы сможете сделать подъемно-поворотные ворота своими руками по чертежам и видео, или составить свои эскизы в процессе.
Основными элементами этого типа устройств будут полотно, каркас и подъемная система. Для полотна можно использовать любой материал, который соответствует вашему экстерьеру. Каркас обычно делается из металлических брусьев, которые закрепляются металлическими уголками. Выбор подъемного механизма – более сложная задача. Здесь у вас есть два основных варианта:
- Система противовесов, где через блок пропускается трос, на который крепят противовес. Если вы планируете ставить ворота большого веса, подумайте над этим вариантом – в таких случаях он максимально удобный.
- Шарнирно-рычажный механизм – самый популярный, поскольку не имеет никаких особых требований. Одно из немногих, пожалуй, это точное выстраивание направляющих по вертикали, поскольку в обратном случае ворота будут застревать при прохождении проема.
Исходя из этого, вам понадобятся:
- брусья для каркаса (плюс брус на потолок) и уголки для них;
- штыри;
- кронштейн швеллерный;
- пружина.

Теперь вы полностью готовы к изготовлению подъемно-поворотных гаражных ворот своими руками по чертежам, которые вы предварительно составили или нашли. Сначала сделайте каркас из балок и уголков, заглубив его в бетонное основание на несколько сантиметров. Каркас крепится в проеме штырями, затем собирается полотно, которое обшивается щитом, желательно из металла. Далее в полках делаются отверстия для пружинного кронштейна и крепления к стойкам. Делаются также отверстия для швеллерного кронштейна, на который опирается пружина.
После этого вы работаете над пружиной: соединяете ее регулировочной пластиной из металла с кронштейном, делаете зацепы и добавляете регулятор натяжения внизу. Потом вы делаете и крепите шарнирный узел и пластину с отверстием на раму и торец рычага соответственно. Следующий пункт – рельсы, которые изготавливают из уголков. Одним концом рельсы приваривается к упомянутой выше пластине, а затем вы привариваете швеллер и закрепляете его на потолочном брусе.
Самое главное здесь – установить управляющие максимально горизонтально, чтобы ворота могли беспрепятственно открываться и закрываться. Так вы сделаете гаражные подъемно-поворотные ворота своими руками (Ютуб или чертежи на просторах Интернета в помощь, если вы хотите опираться на чей-то конкретный опыт). Безусловно, работать еще есть над чем – установление полотна, автоматической системы открывания и другие детали, которые, по большей части, уже просто необходимы для качественной охраны гаража.
Стоит отметить, что в случае секционных заграждений монтаж на порядок проще, чем когда вы делаете подъемно-поворотные ворота своими руками – чертежи практически и не нужны, важно только правильно рассчитывать расстояния между отверстиями и регулировать положение направляющих. Вы также сможете опираться на инструкции, которые обычно прилагаются производителями. Тем не менее такой монтаж прост, только если у вас уже есть комплект, который надо установить.
Если вы еще его не приобрели и всё еще хотите сэкономить, подъемно-поворотные ворота будут лучшим выбором, ведь в этом случае вы сохраняете деньги еще и при подборе материалов.
При самостоятельном монтаже или изготовлении подъемных ворот надо учитывать еще и особенности проема или конструкции гаража, которые могут повлиять на процесс установки. Может и вы сталкивались с таким и знаете, как помочь? Тогда не забудьте написать об этом в комментариях!
Конструкции гаражных ворот. Подъемные ворота для гаража
Конструкции гаражных ворот. Подъемные ворота для гаража
Подъемные ворота секционного типа – это монолитная конструкция, её нижняя часть подвергается движению во время воздействия для открывания. Большая часть всей системы скрыта внутри помещения, снаружи находится лишь козырек небольшого размера. Транспортировка, установка такой воротной группы требует немало усилий, тем не менее, это оптимальный вариант самостоятельного изготовления. Стоимость устройства ниже, нежели у секционной разновидности.
Подъемные секционные системы, благодаря горизонтальному расположению секций, могут функционировать без необходимости предоставления им большого свободного пространства. Когда в наличии имеется ограниченная площадь свободного пространства, такой вид используется чаще всего. Как правило, после приобретения, для их установки приглашается бригада профессионалов.
Поворотные группы имеют вид конструкции, где вся система спрятана внутри козырька (в открытом виде), немного выступающего наружу. Такое решение обладает массой преимуществ, что повышает его популярность среди заказчиков.
Принцип работы поворотно-подъемных ворот
Подъемные ворота отличаются важным преимуществом, они обладают простым механизмом действия. Основными составляющими элементами въездной группы выступают:
- рама;
- полотно;
- направляющие.
Под воздействия движения этих элементов, происходит смена положения ворот с вертикального на горизонтальное.
Основой всей группы выступает рама из стали, монтируемая в проем гаража или немного за ним.
Именно эта часть играет роль ведущей. Когда она изготавливается самостоятельно, применяются трубы из металлического профиля, имеющие прямоугольное сечение.
Когда система открывается, происходит активное действие рычагов, а также механизма, содержащего ролики. Он обеспечивает движение по направляющим полотно, обеспечивая его фиксацию на верхней точке. Нижняя часть полотна приподнимается, это позволяет образовать под потолком подобие козырька. Когда створка поднята, компенсационные пружины полностью свободны, когда она закрыта, напротив, они натянуты.
Выделяют такие типы механизма, ответственного за открывание:
- Шарнирно-рычажный: отличается простотой, надежностью. Он довольно популярен, не имеет опасности блокировки всей системы. Во время работы обеспечивает свободное продвижение полотна по заданной траектории. Основным требованием к системе является регулировка натяжения пружин, а также качественная установка направляющих. Их монтаж должен производиться с высокой точностью.

- Имеющий противовесы: здесь предполагается крепление к нижним углам рамы особого троса, проходящего через специальный блок, а также наличие противовесов. Блок, при этом, монтируется на противоположной стороне лебедки. Эта система используется, когда воротная группа обладает серьезным весом.
Конструкции гаражных ворот поворотно складных. Гаражные ворота своими руками: пошаговая инструкция изготовления + монтаж
Гараж – строение, которому уделяется особое внимание, особенно в плане взломостойкости. А такой элемент, как ворота, должен обладать удвоенной прочностью и надежностью, и конечно, привлекательным внешним видом. Традиционно гаражные ворота – это распашная конструкция из двух створок, навешенные на коробку. Изготовить их своими руками – не проблема, если владеть навыками работы с несложным слесарным инструментом и сварочным аппаратом. Об этом и пойдет речь в статье: о вариантах распашных ворот, о технологии изготовления и нюансах монтажного процесса.
Виды гаражных ворот
Кроме того что распашные ворота для гаража являются традиционными и очень надежными, есть у них и другие преимущества.
- Стоимость конструкции дешевле, чем у всех других моделей.
- Распашную модификацию можно утеплить, используя различные теплоизоляционные материалы.
- Можно установить в ограниченном пространстве.
- Открываться могут наружу или внутрь гаража в зависимости от требований владельца.
- Возможность установки электродвигателя для автоматического открывания.
Единственный большой недостаток – требуется свободное пространство, чтобы открыть створки конструкции. Это иногда проблематично зимой, когда снег наваливает сугробы перед гаражом. Поэтому приходится махать лопатой.
Минус распашных ворот – перед ними приходиться очищать от снега площадку
Кроме распашных ворот в гаражах устанавливают и другие разновидности.
Складные
Это секционный тип ворот, элементы которого устанавливаются вертикально и соединяются между собой шарнирным способом.
Крайние секции крепятся, как и распашные, к коробу петлями. Дополнительное крепление – по верхней или нижней направляющей. Изготавливают секции из разных материалов, чаще из алюминиевых сплавов или дерева.
Плюсы конструкции:
- необычный внешний вид,
- удобство открытия и закрытия,
- не занимают в открытом состоянии много места,
- секции по отдельности можно менять, ремонтировать,
- невысокая цена.
Минусы: быстрый износ и низкие защитные функции.
Складные ворота
Подъемно-поворотные
Чисто конструктивно это цельный щит, который собой закрывает весь въездной проем. Для открытия ворота поднимаются и поворачиваются на 90° так, чтобы они оказались вверху в горизонтальной плоскости. Для этого используется система рычагов, редуктор и электродвигатель.
Плюсы модели:
- высокая надежность,
- в открытом виде ворота не занимают никакого места,
- поддаются утеплению,
- поддаются автоматизации.
Минусы:
- требуется высокая точность установки,
- ворота остаются в проеме, уменьшая его высоту на 20-30 см,
- не рекомендуется использовать их интенсивно.

Подъемно-поворотные ворота
Подъемно-секционные
Это конструкция из нескольких секций, расположенных горизонтально и соединенных между собой специальными петлями. С помощью подъемного механизма, находящегося на потолке, ворота поднимаются по направляющим профилям и располагаются горизонтально вдоль потолка. Секции в основном изготавливают из сэндвич-панелей.
Плюсы модели:
- универсальность в плане размеров проема,
- экономия свободного места при открытии,
- неплохая устойчивость к деформациям и механическим нагрузкам,
- полная автоматизация,
- презентабельный внешний вид,
- высокие тепло- и звукоизоляционные качества,
- долгосрочная эксплуатация.
Минусы:
- высокая цена,
- требуется постоянное обслуживание: смазка петель и направляющих, проверка электрики и автоматики,
- низкая взломоустойчивость.
Подъемно-секционные ворота
Рулонные
Свое название эти гаражные ворота получили по способу открытия.
Чисто конструктивно – это несколько полос (ламелей), собранных в одно полотно, которое закручивается в рулон. Поэтому в состав ворот входят кроме полотна две направляющие, удерживающие конструкцию в проеме, вал, на который ламели наматываются, и электропривод.
Преимущества:
- компактность,
- приемлемая цена,
- простота монтажа,
- долгосрочная служба,
- презентабельный внешний вид,
- возможность автоматизации.
Минусы:
- практически нулевая взломостойкость,
- нет возможности провести утепление, потому что между ламелями всегда остаются зазоры,
- плохо работают при низких температурах.
Рулонные ворота
Откатные
В этой конструкции одна створка, которая держится на направляющем профиле, расположенном сверху, и упирается снизу в рельс. Открывается устройство откатыванием в сторону вдоль стены.
К плюсам можно отнести:
- функциональность е зависит от сугробов,
- не занимает места при открытии,
- высокая взломостойкость,
- возможность провести автоматизацию.

Минусы:
- быстрый износ роликов,
- ширина стены, вдоль которой смещаются ворота, должна быть больше ширины створки.
Конструкции гаражных ворот с подъемом полотна. Особенности конструкции
Раньше все ворота были одинаковыми, с большими тяжелыми створками из металла, выкрашенными в неприятные цвета. На сегодняшний день они кардинально изменились в плане конструктивного решения, материалов и внешнего вида. Для того чтобы автомобиль оставался в безопасности и был защищенным, выбирайте гараж с надежными поворотными подъемными воротами. Отличительной чертой от других моделей является их необычная конструкция. Эти ворота – самый удобный и надежный вид гаражной конструкции, стоящий довольно дорого.
При установке ворот этого типа необходимо соблюсти несколько условий, необходимых для дальнейшей качественной эксплуатации. В первую очередь, это размер проема. Ширина должна быть не больше 5 метров, а высота не менее 2.85 м. Расстояние от стены до края проема для установки направляющих должно составлять не менее 120 мм, от потолка до верхнего края проема 210 мм.
Учитывая габариты транспортного средства, размеры корректируются.
Устроена конструкция достаточно просто. Ворота вращаются вокруг собственной оси, переходя из вертикального положения в горизонтальное и наоборот. Их составляющий элемент – это рама, крепящаяся в проеме помещения или позади него и являющаяся важнейшим элементом для открывания ворот. Изготавливают ее в большинстве случаев из труб с прямоугольным сечением.
При открытии срабатывают роликовый механизм и рычаги поднятия, которые двигают створку ворот по направляющим и закрепляют под потолком помещения. Низ поднимается кверху, создавая, таким образом, козырек. Во время закрытия ворот, компенсационные пружины сразу же растягиваются, а когда они открыты, то находятся в обычном состоянии.
Известно, что изготовить автоматические конструкции можно на заказ. Но, несмотря на трудности в изготовлении, их можно сконструировать самому.
Сложность в изготовлении зависит в большинстве случаев от выбранной вами модели, размеров и ваших навыков работы с чертежами, электрическим инструментами и аппаратом для сварки.
При необходимости можно воспользоваться готовыми эскизами данных моделей, выбрав необходимый чертеж. Приступая к работе, предварительно обязательно ознакомьтесь с основным принципом работы , а также спецификой монтажа данной конструкции.
Конструкции гаражных ворот своими руками. Изготовления гаражных ворот своими руками — от А до Я
Ворота для гаража – конструкция дорогостоящая, поэтому всё больше автовладельцев стремится собрать и установить ее собственными силами. Методика изготовления ворот для гаража своими руками не так сложна, как может показаться сразу, и если точно следовать инструкции, «жилище» для машины получит надежную защиту. Но сначала рассмотрим, какие бывают вариации гаражных входных групп.
- Распашные.Наиболее простая конструкция, которая не требует дорогих материалов и большого времени на монтаж. Рамку для нее создают из стального уголка, створки – из пластов железа. Эксплуатация ворот незамысловатая, зато степень надежности – высокая.
Откатные.Их главной деталью является створка, параллельно перемещающаяся вдоль гаражной стены. Мало кто делает такие врата своими руками, поскольку они требуют выполнения множества тонких работ. Для полного раскрытия конструкции нужно свободное место. Подъёмно-секционные.Это полотно из преломляющихся секций, основанное на пружинном механизме и передаточных направляющих. Заходит оно под потолок. Создать эти ворота в домашней обстановке практически нереально. Подъёмно-поворотные.Подобные врата представлены створкой, которая при открытии идет к потолку и фиксируется параллельно полу. За движение ворот отвечают направляющие и механизм шарнирно-рычажного типа. Их достоинством считается ненадобность свободного пространства внутри гаража и перед ним. Роллетные ворота.Редко встречающаяся конструкция, которая не получила распространения из-за слабой надежности. Она имеет вид алюминиевых пластин, которые аналогично рольставням собираются в короб под потолком. Роллеты можно поставить на охраняемых объектах и в теплом гараже.
Видео подъёмные ворота своими руками
расчет схемы и чертежи необходимые, чтобы создать самодельные ограждения, какие подъемники при этом нужны и примеры готовых конструкций
Достаточно практичной, надежной и удобной гаражной конструкцией ограждения называют подъемно-поворотные ворота. Открываясь, такая воротная установка принимает горизонтальное расположение с выдвижением чуть вперед, образуя как бы маленький навес над выездом.
Основные характеристики
Подъемно-поворотную установку отличают очевидные преимущества, которых нет у других видов воротных установок:
- прочность целого полотна обеспечит надежность, защитит от нежелательных взломов, предотвратит постороннее проникновение;
- если при сборке воротной конструкции соблюдать существующие технологические рекомендации, поверхность конструкции будет длительное время обладать стойкостью к появлению коррозии;
- такие ворота не потребуют отдельного свободного места при открывании;
- отрытые ворота не занимают полезного пространства;
- гаражную установку оформляют различной отделкой, декорируют всевозможными панелями, разбавляя вставками;
- гаражные ворота утепляют пенополистиролом – это дает возможность утеплить бокс и предотвратить тем самым появление конденсата;
- конструкцию можно открывать вручную либо автоматически, оборудовав створки автоматизированной системой открывания;
- устанавливают подобные конструкции и в двойных гаражах, и одинарных.

Подъемно-поворотные воротные системы обладают и недостатками. Связаны они с существованием ограничений, отдельными особенностями установки:
- воротная конструкция устанавливается лишь в гаражный проем прямоугольного вида;
- открытые ворота уменьшают высоту гаражного проема;
- цельность полотен не даст осуществить ремонт маленьких индивидуальных участков – с появлением дефектов потребуется полностью заменить этот элемент;
- ворота необходимо оборудовать пружинным механизмом. Данная механическая установка обычно рассчитана только на определенный вес ворот. Следовательно, приходится принимать в расчет тяжесть утеплителя во время обустройства теплоизоляции. Утепленные ворота прибавляют в весе, соответственно понадобиться установка противовесов;
- между полотном и самой рамой могут появиться расщелины.
Благодаря резиновому уплотнителю эти щели можно заблокировать.
Данную конструкцию рекомендовано выбирать для гаражей без отопления.
Принцип действия
По своему устройству подъемно-поворотные или щитовые ворота достаточно простые. Всю конструкцию составляет рама, само полотнище, направляющие, благодаря коим ворота могут поворачиваться, занимая при этом вертикальное и горизонтальное положение.
Основой всей системы считается стальная сваренная рама. Ее устанавливают в гаражном проеме для передвижения воротной установки. При производстве такой рамы понадобятся трубы с прямоугольным сечением.
При открывании задействуется роликовое механическое приспособление и усиленные подъемники – рычажки, благодаря чему воротная створка двигается по направляющей, фиксируясь под гаражной крышей.
Образуется своеобразный навес. При закрывании компенсационные пружинки растягиваются и, наоборот, при открывании остаются свободными.
Существует два вида механизма для открывания:
- Устройство на противовесах. Данный тип механического приспособления состоит из мощного троса, закрепленного к сваренной раме в нижнем углу. Трос проходит сквозь блоки и противовесы, устанавливаемые на лебедке. Это устройство рекомендуют использовать при сборке массивных тяжелых воротных конструкций.
- Шарнирно-рычажной. Этот механизм очень прост. Может быть поэтому он так популярен. Надежность механизма в обеспечении простейших передвижений, предотвращающих блокирование устройства.
Непременным требованием при установке такого механизма считается тщательно продуманная регулировка для натяжения пружинок, высокоточное монтирование направляющих.
Управлять щитовыми воротами можно вручную либо с применением электропривода, то есть автоматизировать процесс управления.
Подбор стройматериалов
Подбирать стройматериалы для производства подъемно-поворотной воротной установки своими руками нужно исходя из используемого механического устройства и полотна.
Чтоб изготовить простейшую конструкцию понадобятся:
- деревянные брусья используют при сборке коробки. Сечение – 12х8, потолочных – 10х10;
- железный штырь;
- уголки необходимые при производстве рамы – изделие размером – 3,5х3,5х0,4.
При производстве рельс нужны уголки – 4х4х0,4 см; - швеллерный кронштейн – 8х4, 3х0,5;
- пружинка с 3-сантиметровым диаметром внутреннего отверстия;
- железный прут, используемый при сборке регулятора напряжения с сечением – 0,8;
- электропривод – необходим при обустройстве автоматизированной системы;
- само полотно.
Створки ворот, кстати, бывают как сразу цельными, так и изготовленными из сендвич-панелей. В качестве полотна может применяться обычный щит, собранный самостоятельно из простых досок или оббитый листовым металлом.
При сборке полотна такой самодельный дощатый щит станет наилучшим решением.
Сделать его не сложно своими руками, главное оббить его оцинкованным металлом, а после покрыть особым защитным составом.
Пенополистирол либо пенопласт можно применить как теплоизоляционный материал. Для усовершенствования внешних параметров лучше облицовывать готовое изделие пластиком, можно использовать и деревянные панели.
Инструменты
При производстве ворот понадобятся инструменты:
- отвертки и молоток;
- сверла и дрель;
- уровень, карандаш;
- сварочный аппарат;
- болгарка и гаечные ключи.
Установка
Первоначальным этапом монтирования воротной установки считается проектирование будущей конструкции.
Нужно снять размеры с проема и составить эскиз либо взять уже подготовленный чертеж с расчетами и схемами.
Далее необходимо приобрести стройматериалы и найти инструменты, чтобы приступить непосредственно к изготовке воротной конструкции:
- Собирают коробку из отдельных брусков, скрепляемых меж собой железными пластинками либо уголками.
- Коробка фиксируется непосредственно в самом проеме, закрепляется штырями, низ коробки приблизительно на 2-3 см заглубляют в пол.
- Собирают полотно створки. Рама покрывается щитом, а после закрывается листами металла.
- Опору механического устройства изготавливают из уголка. Два отверстия диаметром – 1 см просверливают в полке. Такие отверстия нужны при фиксировании механического приспособления к опорным стойкам. В следующей полке сверлят 3 отверстия, они нужны при установке пружинного кронштейна. Закрепленный к полке кронштейн послужит опорой пружинам.
- Установленный кронштейн вместе с пружинкой соединяют регулировочной пластинкой, такую пластину производят из металлической полосы.
Крайние веточки пружинки применяют как зацеп, внизу присоединяют регулятор натяжения. Кольцо получится с одного края, с другого нужно нарезать резьбу. - Шарнирный узел внизу изготавливают из уголка, в котором должно быть 0,85-сантиметровое отверстие. Приваривается уголок к раме на расстоянии меж ребром и центром отверстия. Такой тип отверстия понадобиться для сборки рычага подъемного механического устройства.
- Пластину, в которой есть нужное отверстие для сборки регулятора натяжения, приваривают к торцевой части рычага.
- Для передвижения щита нужно изготовить рельсы. Края двух составленных уголков приваривают так, чтоб пространство внутри меж пиками вершин составило 5 см.
- Край этой рельсы приваривают к железной пластинке с высверленными отверстиями. Промежуток в 8 см оставляют между осевой линией и самой нижней частью поперечны. Куски швеллера приваривают по краям рельсов на 15-сантиметровом расстоянии. Болтом швеллер крепят к брусу на потолке.

Готовую установку красят, придавая эстетический вид. Непосредственно перед сборкой конструкции лучше окрасить все труднодоступные участки.
Есть несколько рекомендаций, которых стоит придерживаться при обустройстве подъемно-поворотных конструкций:
- рекомендовано применять сварку для качественной надежной сборки деталей. Так можно понизить надобность в крепежах, высверливании лишних отверстий;
- высота гаражных ворот не может быть менее 2,2 м;
- барабан лучше расположить сзади при достаточно низком подъеме;
- у нижнего профиля гаражного полотна должно быть наличие паза, куда устанавливают уплотнитель;
- основным параметром считается масса полотна, приемлемый вес составит 100 кг;
- реверсную самоблокирующуюся лебедку можно устанавливать как привод;
- для установки автоматики лучше использовать автомобильную сигнализацию.

Для удобной эксплуатации щит изготавливают из полупрозрачных облицовочных материалов. Подъемно-поворотные ворота оснащают системой безопасности, а также необходимым стопорным устройством. Это поможет защитить гараж от взломов и защемления.
О том, как сделать подъёмно-поворотные ворота своими руками, смотрите в следующем видео.
Подъемно-поворотные ворота — чертеж, поэтапное изготовление, видео
Если вам необходимо закрыть пространство гаража или постройки хозяйственного типа, лучшим выбором будут подъемно-поворотные ворота.
Конструкция удобна тем, что при открытии полотно находится сверху (параллельно потолку), а значит, не занимает полезное пространство площади. Итак, рассмотрим, как собрать такие ворота на конкретном примере.
Читайте также про: секционные гаражные ворота и их особенности!
Как работают подъемно-поворотные ворота
В нашем случае ширина ворот составляет 3 метра, а высота – 2,3 метра. Открывается и закрывается полотно путем опускания и поднимания подвешенных грузов. Например, несколько кирпичей, расположенных справа и слева в специальном коробе или пластиковой трубе, чтобы не царапали стену. Их общий вес составляет около 9 кг.
Когда ворота закрыты, фиксируются они при помощи вмонтированного мебельного шарика. Он выскакивает в отверстие на боковых опорах.
Чтобы открыть полотно, необходимо завалить верхнюю часть, взявшись за низ ворот, а после поднять. Примерно на 1/5 части расстояния они будут полностью подняты горизонтально к земле.
Движущий тросик (например, «шестерка») перекидывается через ролики (их 2 по краям): 1 – врезан внутрь уголка, 2 – находится над грузом.
Ответственный этап – подготовка чертежа
Прежде чем собирать каркас ворот и обшивать их листом, необходимо подготовить чертеж ворот.
Уделите этому этапу достаточно времени, поскольку при неправильном расчете пути верхнего и нижнего края подъемно-поворотных ворот они могут упираться в потолок, оказаться при открывании слишком низко и мешать использованию помещения.
Наши ворота шириной 3 метра, высотой 2,3 м. Будем делать чертеж в масштабе 10 см = 10 мм.
Последовательность действий:
- Начертить вертикальную линию длиной 23 см. Сверху сделать горизонтальную линию (верхний край полотна). Еще выше сделать отметки от 1 до 5 см (продлить вертикальную линию вверх на 5 см) – это высота потолка (50 см над воротами). От воротного проема вверх у вас должно быть не менее 40 см, иначе ворота работать не будут.
- Отметить середину полотна 1,15 м, нас интересует пространство выше этой точки.
- Ориентировочно берем 1,4 м.
Имейте в виду, что нижняя часть ворот будет проходить от низа и до верхней точки – 2,3 м. - Чтобы увидеть, как будет открываться полотно, берем циркуль с шагом 1,4. Проводим вертикальную черту справа на расстоянии шага циркуля от первой вертикальной черты. Далее берем шаг циркуля от высоты потолка (точка 50 см над верхом ворот) до 1,4. Проводим дугу (ее описывает нижняя часть ворот).
- Уменьшаем высоту до 1.3. Опять провести вертикальную черту справа (шаг циркуля от 0 до 1,3). Нарисовать дугу с шагом от 50+ до 1,3. Точка пересечения линий у нас оказалась на высоте 1,8 (именно в этой точке полотно займет горизонтальное положение) вместо 2,3.
- Берем высоту 1,35. Повторяем действия, описанные выше. И теперь точка пересечения у нас оказывается в искомом положении (4 мм = 4 см погрешность, уйдет на толщину полотна).
Таким образом, при креплении рычага на высоте 50 см над проемом и высоте створки 2,3 точка крепления рычага от низа – 1,35.
Сборка конструкции
Когда план готов, приступаем к монтажу.
Собираем шарнирные узлы и узлы сопряжения, металлическую раму. Устанавливаем прихватки в проем, притвор и паз для роликов.
Чтобы уменьшить люфты и трение, мы заменили стандартные болты на автомобильные втулки (они же задние амортизаторы).
В завершение собираем подвижные механизмы и сами ворота, подвешиваем груз.
нюансы в монтаже поворотных и секционных ворот
Гаражные ворота эволюционируют: привычные распашные уступили место откатным, а откатные — подъемным. Последний вариант справедливо считается более надежным: взломать подъемные ворота сложно.
Кроме того, ворота подъемного типа не занимают место перед гаражом, значит, маневрировать при заезде в гараж можно свободнее. Гаражные ворота подъемные своими руками установить несложно при наличии инструментов и помощников.
Типы подъемных ворот
Существует два вида подъемных ворот:
- Поворотные
- Секционные
Подъемно-поворотные ворота устраиваются в случаях, если:
- У гаражного проема притолока расположена слишком низко (либо отсутствует вовсе)
- Есть необходимость придать конструкции ворот повышенную прочность
- Предъявляются высокие требования дизайну ворот
Секционные ворота можно установить в том случае, если в гараже есть место для перехода конструкции из вертикального положения в горизонтальное под потолком.
Они так же, как и поворотные, монтируются с внутренней стороны проема. Полотнище ворот состоит из нескольких секций, закрепленных относительно друг друга подвижно. Во время открывания секции поднимаются вверх по направляющим, закрепленным на стенах и потолке гаража.
Изготовление подъемно-поворотных ворот
Начинаем с разработки чертежа подъемных ворот своими руками. Он будет выглядеть примерно как на следующем рисунке.
Расчеты размеров поворотных ворот
Прежде чем взять в руки карандаш и линейку, выполните обмерные работы. Вам необходимо замерить:
- Высоту проема H
- Ширину проема B
- Высоту притолоки h (расстояние от верха проема до линии примыкания потолка к стене)
- Расстояние от проема до боковой стены (четверть левая b1 и четверть правая b2)
- Глубину гаража L
Подготовив чертеж, можно приступать к изготовлению рамы. Если у вас есть старые ворота, можете использовать раму от них. А можете изготовить ее из деревянных брусьев.
Неважно, какой вариант вы выберете, конечный результат вашей работы должен выглядеть как на следующем рисунке.
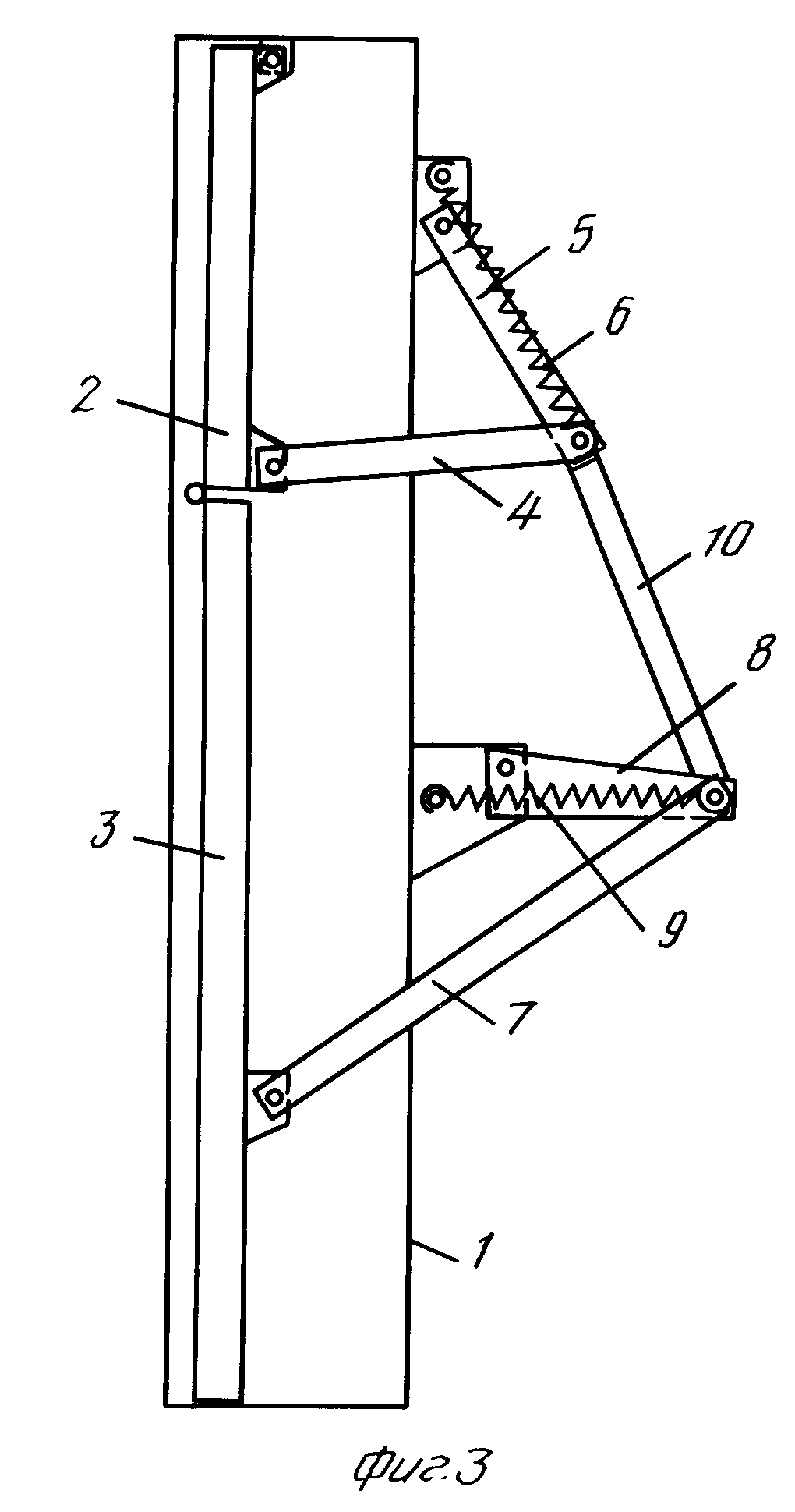
Схема крепления ворот
Обозначения:
- 1 — брус направляющих рельсов горизонтальный
- 2 — рельс направляющий
- 3 — брус коробки ворот горизонтальный
- 4 — стойка коробки вертикальная
- 5 — рама створки ворот
- 6 — кронштейн для крепления пружины
- 7 — уголок шарнира
- 8 — пружина
- 9 — рычаг механизма подъема
- 10 — кронштейн рычага
Для изготовления деревянной коробки вам потребуется:
- Брус длиной 2,3 м. сечением 120х80 мм — 2 шт.
- Брус длиной 2,75 м. того же сечения — 1 шт.
Между собой бруски скрепляются металлическими уголками (либо пластинами).
Раму для полотнища ворот можно сварить из уголка 35х35 мм. Изнутри ее можно обшить доской, а снаружи — стальным листом. Размер рамы зависит от габаритов проема вашего гаража. Стандартное полотнище – 2,5х2,1 метра.![]()
Опору пружины (кронштейн) изготавливают из швеллера №8 . Длина кронштейна — 70 мм.
Направляющий рельс можно сварить из пары уголков 40х40 мм. Длина рельса должна равняться ширине полотнища ворот. На одном конце рельса приварена пластина для его крепления к горизонтальному брусу коробки. На расстоянии 12 сантиметров от другого конца приваривается кусок швеллера длиной 100 мм (нижняя полка швеллера вплотную примыкает к нижней плоскости рельса). Через верхнюю полку швеллера рельс крепится к потолочному брусу при помощи болтового соединения.
Для изготовления шарнирного узла возьмите уголок, просверлите в нем отверстие диаметром 9 мм. Приварите его к раме, а к рычагу приварите пластину с таким же отверстием. Размеры пластины — 50х40х5 мм.
Мы дали описание основных работ. Они несложные, но одному работать неудобно: лучше пригласите помощника.
Установка секционных ворот
Секционные ворота своими руками не стоит изготавливать с нуля, поскольку они имеют сложную конструкцию.
А вот установить ворота заводского производства самостоятельно домашнему мастеру вполне по силам. Надо только придерживаться некоторых правил:
- При монтаже не менять заводские расходные материалы на более дешевые сомнительного качества
- Монтаж ворот производить только по оригинальным чертежам изготовителя
- Максимально точно размещать все детали конструкции
Установка секционных ворот состоит из нескольких важных этапов.
Первым делом следует подготовить проем согласно требованиям производителей секционных ворот. А они обещают безотказную работу своей продукции, если притолока и заплечники проема находятся строго в одной плоскости, а его вертикали и горизонтали не были перекошены и составляли правильный прямоугольник. Проконтролировать перпендикулярность и параллельность можно при помощи уровня измерительного.
Обязательно проверьте, уместится ли полотнище внутри гаража при полном открытии проема. Это, кстати, надо проверять на стадии выбора конструкции.
Минимальная глубина гаража должна равняться высоте ворот с припуском 500 мм — если вы не предполагаете автоматизировать конструкцию. Если же автоматика будет задействована, то к высоте ворот надо прибавить 1000 мм.
Учтите, что на потолок и притолоку лягут основные нагрузки от веса ворот. Они должны быть выполнены из прочных строительных материалов. То же самое относится и к заплечникам, так как к ним будут крепиться направляющие ворот.
Если Вы хорошо разбираетесь в электрооборудовании, то автоматические ворота своими руками сотворить не составит труда. Для тех, у кого нет гаража на участке, будет здесь полезно узнать о монтаже раздвижных ворот своими руками, причем с автоматическим приводом.
Подготовив должным образом проем, можно приступать к разметке крепления и монтажу направляющих элементов.
Соберите секции в единое полотно, начиная с нижней панели. Работу выполняйте аккуратно, не допуская перекосов или зазоров между отдельными частями ворот.
Здесь не допускается никаких заполнений монтажной пеной, или дощечками.
Любое отклонение от требований инструкции относительно точности сборки негативно скажется на работе ворот.
Установив полотно на место, отрегулируйте плотность его прилегания при помощи регулировочных кронштейнов.
Обычно в комплекте подъемно-секционных ворот имеются уплотнители из резины и полимерного каучука. Резиновый уплотнитель устанавливается на той части полотнища, которая соприкасается с полом, а каучуковый — по верху и боковым сторонам.
По окончании монтажа закрепляются ручки, замки, засовы, прочие аксессуары и система автоматизации.
Таким образом, установка своими руками подъемно-поворотных ворот и подъемно-секционных ворот различная. Выбор зависит от вашего желания и габаритов гаража.
Видео установки подъемных ворот своими руками
На видео вы можете понаблюдать за процессом изготовления и монтажа поворотно-подъемных ворот своими руками.
Подробная видео-инструкция (схема) по монтажу секционно-подъемных ворот своими руками.
Как изготовить откидные ворота в гараж с подъемным механизмом на противовесе: Советы +Видео
Не малая часть автолюбителей, предпочитающих хранить свои автомобили в гаражах с устаревшим распашным механизмом ворот, считают их более защищенными и прочными из-за толщины металла и большого веса. Но, на самом деле, у распашных ворот существует заслуживающий внимания конкурент, а именно – откидные ворота. На сегодня популярность откидной или подъемной конструкции составляет около 3/4 от количества продаваемых гаражных ворот.
Для знающего человека разница между откидным механизмом и старой распашной системой видна невооруженным глазом.
Достаточно хотя бы пару раз использовать их на практике, чтобы понять ощутимую разницу.
Из-за отсутствия створок у ворот с откидным механизмом нет зоны закрывающей обзор, так называемой «слепой» зоны, что помогает уменьшить число ДТП в гаражных кооперативах. Кроме этого, отсутствие створок позволяет увеличить территорию маневра, нет надобности, за пару метров оставлять свое авто, чтобы открыть-закрыть гараж, либо закреплять дополнительными приспособлениями раскрытые ворота.
Причина популярности ворот
Большинство автолюбителей именно по этой причине удобства пользования решаются поменять обычные старые ворота на откидные, дабы при сильном ветре избежать риска повреждения кузова автомобиля створкой, в момент выезда-заезда в гараж.
Дешевизна материала, легкость конструкции, простота в монтаже и удобство в использовании – это существенные преимущества откидных гаражных ворот. Миносом является то, что данную систему допустимо использовать не в каждом помещении гаража. Минимальным требованием для реализации плана установки ворот, является наличие свободного пространства в потолочной части.
Конструкция
Конструкция ворот состоит из двух рам:
- Панели, которая закрывает дверной проем;
- Каркаса с металлическими уголками, служащими в качестве направляющих.
В момент открытия, откидная верхняя часть ворот за счет подвижного механизма отклоняется вверх, затем двигается по направляющим до упора, пока целиком не окажется на двух металлических швеллерах. Нижняя часть панели поднимается и крепится в верхнем положении.
При подъеме щита или панели подъемно-откидных ворот используется система противовесов, которая крепится на тросах. Следует помнить, чем тяжелее панель ворот, тем больше масса самой системы противовесов.
Сама конструкция откидных ворот изготавливается из следующих материалов:
- стальной уголок;
- швеллер;
- полотно ворот;
- рама;
- подъемный механизм с противовесом.

Перед тем как начинать работы
…необходимо произвести замеры дверного проема, затем из швеллера сварить каркас. Вместо швеллера можно использовать деревянные балки (две вертикальные и одна горизонтальная), которые крепятся между собой пластинами из металла. Низ каркаса нужно будет углубить на 2-3 сантиметра в пол.
К верхней части каркаса приваривают горизонтальные металлические уголки с размером полки не меньше 40 – 50 мм. Ввиду того, что длина уголков должна составлять более двух метров, сварочные работы по изготовлению гаражных ворот необходимо проводить до установки в дверной проем.
Обязательно, в момент крепления уголка к раме соблюдают геометрию конструкции, которую необходимо контролировать уровнем. После того, как уголки приварены к раме, их подпирают доской, своего рода временной подпоркой, дабы избежать излома конструкции.
Кроме этого, к верхней части каркаса необходимо произвести установку по одной шпильке с роликовым механизмом.
Данное действие нужно для применения в дальнейшем системы противовесов на тросах. Диаметр каждой шпильки должен быть 30 – 50 мм.
Пристальное внимание уделяют составлению главной части откидных ворот для гаража – панели. Конструкция детали являет собой трубчатый каркас, также возможно использование профиля из металла в виде трубы, к которому сварочным методом крепят к кронштейнам вверху и внизу.
Прежде чем заняться этой работой, нужно сделать разметку труб или профиля, а затем закрепить в соответствии размерам фиксированного каркаса. Основным правилом изготовления самодельных откидных ворот для гаража является применение сварочного аппарата за три подхода. Делается это для того, чтобы избежать деформации конструкции в момент большого нагрева.
Первым делом, фрагменты металлической трубы раскладывают на ровной поверхности и соединяют при помощи точечной сварки. Второй этап соединения элементов предусматривает сварку рамы с лицевой стороны, а по прошествии 30 минут – с изнаночной.
Проверьте ровность рамы с использованием строительного уровня. При обнаружении изъянов, каркас нужно будет подправить при помощи молота и паяльника.
Монтаж откидных ворот своими руками
Прежде чем начать установку ворот, необходимо предварительно собрать конструкцию. Фиксированный каркас с прикрепленными уголками, кладут на ровный пол. Сверху помещают панель, которую перед этим соорудили при помощи сварки, в том положении, которое предусмотрено для нее конструктивными особенностями, а именно – как она будет располагаться при закрытых воротах поворотно откатных гаражных. Чтобы соединить два элемента ворот, понадобится воспользоваться сварочным аппаратом, и к профилю наверху присоединить кронштейны на роликах или подшипниках.
Примечание.Точность установки опоры влияет на слаженность работы механизма.
- На прикрепленные панели к фиксированной к каркасу шпильке, устанавливают ролик в виде борозд. Г-подобные кронштейны крепят к нижней планке панели. К ним будут потом закреплять трос подъемника ворот опоры.
- Следующим этапом идет установка фиксированного каркаса у входа в гараж с использованием болтов анкерного типа к стенам помещения. Места установки крепежных элементов заливают бетоном и покрывают штукатуркой. Прежде чем каркас будет закреплен, необходимо позаботиться о выравнивании его позиции строго по уровню. После этого, делают деталь в виде буквы «П», при помощи которой концы уголков крепят к потолку.
- На последнем этапе монтажа мобильной панели в каркас нужно пропустить тросы от низлежащих кронштейнов через ролики-борозды с боков фиксированного каркаса. Уровень высоты подвеса подбирают таким образом, чтобы грузики не опускались к полу в открытом состоянии.

- Конструкционные особенности поворотно-откидных ворот позволяют смастерить их абсолютно любых, пригодных для этой цели, материалов. После того как будет осуществлена настройка функционирования механизма подъема створки по всему периметру панели крепят мягкие резиновые уплотнители, а после этого утепляют. Внизу панели фиксируют скобы для дальнейшей установки замка навесного типа. Срок эксплуатации откидных ворот составляет около 10 – 12 лет, без необходимости проведения ремонтных работ.
- Одним из главных преимуществ откидных ворот является экономия пространства в гараже, особенно, когда помещение небольших размеров. Следует учесть тот факт, что в закрытом состоянии мобильное полотно должно плотно прислоняться к проему, без зазоров. Это необходимо для сохранения тепла в помещении.
- Если вы решили заняться изготовлением гаражных ворот самостоятельно, на помощь придут различные интернет ресурсы, на которых можно найти готовые чертежи конструкции. Кроме того, по желанию, вы можете собственноручно начертить эскиз откидных ворот, обустроив все по своему усмотрению.

- В качестве материала для откидных ворот можно приобрести панели из пластика или профнастил. Фиксирование полотен происходит при помощи саморезов. При необходимости полотна можно утеплить изнутри, к примеру, пенопластом.
Для того чтобы подвесить мобильное полотно применяют цепи, иногда в ход идут металлические полоски. Помните о том, что центр тяжести ворот должен находиться внизу крепления, а верхушка плотно прислоняться к проему.
Примечание. В процессе изготовления откидных ворот в гараж своими руками сделайте внизу выемку небольших размеров для нижнего края полотна. Это позволит обеспечить плотность прилегания.
Установка противовеса позволит воротам оставаться в поднятом положении и не опускаться. Очень важно выбрать тот, который будет иметь больший вес.
Чтобы рассчитать необходимые габариты противовеса, воспользуйтесь следующим методом:
- Подвесьте обыкновенного ведро и наполните его тяжелыми предметами.

- Регулируя груз, определите необходимый вес.
Таким образом, противовесом может стать емкость заполненная грузом, и подвешенная на трос.
Установить противовес можно следующим способом: снизу к воротам приварить уголок, прикрепить трос, который будет подниматься вертикально (параллельно воротам) через направляющую и отдельный ролик. Дополнительный ролик прикрепим к противовесу. Выполняется такое действие с обеих сторон.
Положение откидных гаражных ворот должно быть вертикальным. Чтобы определить ровность установки, воспользуйтесь уровнем. Верхние направляющие располагаются параллельно полу, в противном случае при открывании будет образовываться угол, не дающий завершить маневр. Подгонку положения направляющих совершают до момента достижения плавного, беспрепятственного движения.
Направляющие для движения роликов, необходимо периодически чистить от загрязнений, покрывать антикоррозийными средствами и смазывать.
Работу по нанесению смазки необходимо осуществлять аккуратно, следить за тем, чтобы средство наносилось по минимуму. Лучшим смазочным веществом считается жидкость WD. В ее составе присутствует минеральное масло и растворитель. Для уплотнителей из резины подходят средства на основе силикона.
Как устроены подъемно-поворотные ворота (20 фото)
Прямоугольный металлический лист, подобранный по размеру гаражных ворот, может перемещаться по направляющим и открывать (горизонтальное положение) или закрывать (вертикальное) вход в гараж. Основные элементы конструкции поворотных ворот: сама створка ворот и рама, изготавливаемая из профильных труб, бруса и пр. Вспомогательные элементы: ролики, рычаги, рельсы, компенсирующие пружины.
В закрытом положении они растянуты, в открытом — ослаблены.
Поворотные ворота своими руками сделать можно. Рассчитайте правильно количество необходимых для этого материалов. Калькулятор стоимости учитывает два основных параметра: высоту проема и его ширину.
Виды ворот
Различают несколько видов конструкций ворот, которые могут устанавливаться в гараже:
- секционные ворота;
- подъемно-поворотные ворота;
- распашные ворота;
- откатные ворота.
Гаражные ворота можно сделать своими руками. При наличии материала, инструмента и умения делать расчет узлов конструкции это вполне доступно.
Секционные вертикальные ворота изготавливают из металла, дерева или пластика. Это популярный тип ворот из секций, он несложен для изготовления. Секции ворот убираются при открытии в специальный отсек над входом.
Ворота подъемные. Их открытие сопровождается подъемом с помощью специального рычажного механизма.
Все дверное полотно поднимается вверх. Для маленького гаража эта конструкция не подойдет: не хватит места, куда поднимать само тело створки.
Раздвижные или откатные ворота, такие ворота сделать легко, они не занимают много места, открывать можно руками или с помощью автоматического привода.
Распашные ворота – это классический вариант ворот. Навешиваются на петли, как обычные двери. Как правило, такие ворота открываются наружу, место внутри гаража не занимается.
Подъемно-поворотные ворота имеют свойства подъемных и поворотных моделей. Такие ворота прочны и надежны, проникнуть в гараж непрошеным гостям будет сложно.
Различают два вида конструкции подъемно-поворотных ворот:
- На шарнирах. Створка ворот перемещается по рельсам, возврат в положение открытия производится пружинами, которые должны быть хорошо отрегулированы.
- На противовесах. К створке крепится трос. С другой стороны троса — подъемный механизм. Такая конструкция применяется чаще всего для тяжелых ворот.

Ворота можно открывать вручную или автоматически, а также дистанционно, с помощью пульта. Утеплить ворота можно обычным пенопластом.
Достоинства конструкции
Подъемно-поворотная конструкция имеет несколько значимых преимуществ по сравнению с традиционными гаражными воротами:
- Основную часть ворот (створку) можно сделать из цельного металлического листа и облицевать любым подходящим материалом. Дополнительной защитой от проникновения послужит целостность, бесшовность металла.
- Выполнив в точности инструкцию по монтажу, вы получите надежную конструкцию, которая не боится коррозии, долговечна, компактна, удобна в эксплуатации, не требует дополнительного ухода.
- Поднятие ворот можно делать вручную или автоматически.
- Безопасность. Конструкция ворот надежно фиксирует полотно створки и предохраняет его от падения.
Есть у подъемно-поворотных ворот и недостатки:
- Форма проема. Она должна быть прямоугольной.
Иначе сделать качественный монтаж не получится. - Между рамой и щитом могут оставаться зазоры. Если гараж отапливаемый, вы будете отапливать воздух.
- Цельное полотно створки ворот не только достоинство, но и неудобство. Ремонтировать придется все полотно, в случае необходимости, а не отдельные участки.
При открытых воротах они незначительно уменьшают высоту проема.
Установка ворот на шарнирах
Поворотно-откидные ворота — это створка, которая поднимается вверх с помощью специального роликового механизма и располагается сверху параллельно полу. Обычно такие ворота приобретают готовыми, установку их можно сделать самостоятельно.
Подъемно-поворотные ворота можно установить своими руками. Для этого потребуются:
- дверное полотно;
- уголок 40х40 и 35х35 толщиной 4 мм;
- стальные штыри;
- электропривод;
- швеллер и стальной прут;
- пружина диаметром 30 мм;
- деревянные бруски или профильную трубу для коробки и для потолка.

Створку можно изготовить из досок, обитых жестью. Утеплить пенопластом, лицо ворот отделывается пластиковыми или деревянными панелями. Перед тем как сделать декор оцените условия. Если гараж находится на удаленной, неохраняемой территории, покрытие лучше сделать антивандальным.
Для устройства ворот потребуются:
- сварочный аппарат;
- электродрель и болгарка;
- набор сверл, молоток;
- гаечные ключи, отвертка, строительный уровень.
Перед тем как приступать к работе, определитесь детально с конструкцией ворот, а также сделайте замеры необходимых размеров и нанесите их на чертеж.
На чертеже укажите размеры: высоту и ширину, места расположения всех необходимых элементов и деталей.
После предварительного этапа можно приступать непосредственно к изготовлению ворот.
Из подготовленных брусков или профильной трубы смонтируйте коробку. Для ее крепления используются железные пластины или угольники.
Установите коробку в проем и зафиксируйте, например, с помощью штырей.
Соберите створку. Сначала делается каркас. Если он из металла, понадобится сварка. Если за основной материал взят профнастил, он крепится на каркас с помощью саморезов.
Если створка из дерева, обшейте ее выбранным материалом, затем придайте лицевой части нужный декор с помощью пластиковых панелей и пр.
Соберите поворотный механизм. В нем кронштейн станет опорой для пружины. Соединить пружину и кронштейн можно при помощи регулировочной пружины.
Шарнирный узел делают из уголка с отверстием диаметром 9 мм. Уголок крепится с помощью сварки.
Чтобы изготовить направляющие-рельсы берутся два уголка. Полки их свариваются так, чтобы расстояние между верхними частями составляло 50 мм.
Проводится монтаж направляющих профилей. Полотно ворот вставляют в направляющие профили. Соединяют с рычагами и пружинами, которые приводят в движение полотно. При монтаже обратите внимание на строгую параллельность направляющих.
Перекос не позволит створке нормально подняться, она будет заедать. Фиксация створки в определенном положении делается специальной пружиной. Ее натяжение регулируется гайкой.
Установка ворот на противовесах
В подъемных воротах верхняя створка уходит вверх и занимает горизонтальное положение. Механизм, приводящий в действие ворота, состоит из шарниров и рычагов.
Открываются поворотные гаражные ворота с помощью бесшумной системы рычагов. Никаких роликов или направляющих для их открытия не требуется. Такого типа ворота легко изготовить своими руками. Конструкция включает три основных элемента: коробку, поднимающуюся створку и приводящий ее в движение механизм.
Крепится вся система на коробке, устанавливаемой в дверной проем. За перемещение ворот отвечают направляющие и пружины (они выполняют роль противовеса).
Для обшивки ворот лучше брать оцинкованную сталь. Срок ее службы в несколько раз больше, чем непокрытой стали.
Подготовительные работы в проеме начинаются с установки каркаса в проем. Он может быть сделан из брусков или профильной трубы. Убедившись в правильности расположения всех четырех частей каркаса, без перекоса, прикрепляют его анкерами к стенам. Все щели между рамой и стенами нужно запенить.
Можно оборудовать систему подъема ворот электроприводом с пультом дистанционного управления. Автоматические ворота будут стоить дороже.
Что нужно учесть при установке ворот своими руками
При установке своими руками откидных ворот учтите некоторые важные детали.
- Направляющие, устанавливаемые на потолке, должны быть строго горизонтальны. Тогда створка ворот будет открываться без застреваний.
- Компенсационные пружины могут быть натянуты с разной силой. Для этого применяется специальное регулировочное устройство.
- На раму нужно ставить страховочные ограничители. В случае непредвиденной поломки створка не упадет внезапно на автомобиль.

- Дополнительную прочность раме придаст ее заглубление в бетонную стяжку на 2-3 см. Общий вес створки не должен быть больше 100 кг. Это оптимальный вес, обеспечивающий долгую и надежную работу ворот.
Цена подъемно-поворотных ворот
Цена конструкции зависит от материала, из которого сделана створка ворот, размера, от вида подъемного механизма, а также от вида автоматики, если она применяется для открывания ворот.
Не гонитесь за дешевизной. Скупой платит дважды, эта поговорка здесь как раз будет кстати. Недорогой механизм может оказаться недолговечным и быстро выйдет из строя.
Рассчитывая размеры ворот самостоятельно, берите их ширину с запасом, по 0,5 м с каждой стороны. При ширине автомобиля два метра ширина ворот должна быть не менее трех. С запасом рассчитывается и высота ворот. Средний показатель этого параметра – 2-2,5 метра.
Подойдите внимательно к вопросу установки подъемных гаражных ворот своими руками, чтобы они работали долго и надежно, не уступая по своим функциональным характеристикам конструкциям заводского изготовления.
Amazing Gates сделали установку ворот максимально простой, чтобы сэкономить ваше время и деньги. основные этапы установки распашных ворот:
Для установки откатных ворот, Установка ворот
|
13 Подъездных ворот своими руками — Как построить подъездные ворота — Идеи для дома и садоводства
Подъездные ворота, сделанные своими руками, защитят ваших детей и домашних животных от блуждания на улицу и защитят посторонних от проникновения в вашу собственность.В наши непростые времена безопасность дома важна для нашей безопасности, и простые и дешевые ворота на подъездной дороге могут обеспечить нам безопасность и душевное спокойствие.
Ознакомьтесь с этими 13 планами подъездных ворот своими руками, чтобы найти тот, который подходит для защиты вашей собственности.
1- Автоматические ворота
Этот план подъездных ворот DIY покажет вам, как построить автоматические ворота, чтобы вы могли оставаться в безопасности своего автомобиля, открывая и закрывая ворота.
Это подробное видео на YouTube проведет вас через каждый этап процесса строительства, поэтому у вас не возникнет проблем со строительством таких ворот через дорогу.
Тот, что показан в этом видео, имеет 16 футов в поперечнике и около 6 футов в высоту, что идеально подходит для широкого входа.
2- Металлические ворота подъездной дороги
Этот видеоурок покажет вам , как установить цельные железные ворота , которые распахиваются для облегчения входа и выхода.
Эти железные ворота могут быть установлены для работы с существующим ограждением или как часть нового ограждения вокруг вашего ландшафта. Этот тип ворот бывает разных размеров, поэтому вы можете найти их по разумной цене, чтобы они соответствовали вашей дороге.
3- Деревянные ворота подъездной дороги
Эти красивые деревянные ворота увеличивают привлекательность вашего дома, помогая защитить вашу семью.
Две деревянные ворота распахиваются для облегчения входа и выхода. Кроме того, такая конструкция идеально подходит для подъездных путей с уклоном. Изогнутая нижняя часть деревянных ворот позволяет им открываться на склоне с перетаскиванием, удерживая при этом достаточно близко к земле, чтобы дети или домашние животные не заползли и не убежали.
Декоративная верхняя панель делает высокие деревянные ворота красивыми и надежными. Легко создать дизайн с этими бесплатными планами.
Ворота подъездной дороги, 4 кедра
Посмотрите это информативное видео на YouTube, чтобы узнать, как построить подъездные ворота из кедровых досок с пазом и гребнем.
У привлекательных ворот есть боковая дверь для удобного доступа пешеходов, поэтому вы выходите и запираете ворота, когда идете на прогулку или на велосипедную прогулку. Легко открывающаяся конструкция как для автомобилей, так и для пешеходов.
Кедровая доска с гребнем и пазом проста в работе, а древесина прослужит десятилетия снаружи в элементах.
5- проходные ворота
Эти самодельные ворота позволяют видеть сквозь них, сохраняя при этом безопасность внутри вашей семьи и домашних животных.
Изогнутая верхняя часть и деревянная планка посередине делают ее привлекательным дополнением к входной двери вашего дома. Рейки расположены достаточно близко друг к другу, чтобы домашние животные и дети не могли протиснуться сквозь них.
Этот простой проект «сделай сам» можно построить за день, а ворота можно открыть вручную или подключить к электронному устройству открывания ворот.
6- Двойные ворота
Для больших проездов нужны большие ворота напротив входа, и в этом видео на YouTube представлен план строительства больших двойных ворот из дерева .
Двойные ворота привлекательны, функциональны и легко просматриваются. Их можно открывать и закрывать вручную или подключать к электрическому или солнечному устройству, чтобы сделать их автоматическими воротами.
Древесину можно оставить натуральной и покрыть водоотталкивающим прозрачным слоем или покрасить в любой цвет.
7- Ворота для поддонов
Переработанная древесина поддонов идеальна для строительства подъездных ворот своими руками . Переработанные пиломатериалы из поддонов можно бесплатно получить, а также доски идеального размера для этого строительного проекта.
Конструкция с двойной дверью образует ручную заслонку, которую рулоны открывают на нижнем колесе.Колесный кронштейн также помогает предотвратить провисание больших ворот.
Добавьте контрастное оборудование, чтобы создать уникальный вид, чтобы ворота защищали вашу собственность и увеличивали привлекательность бордюров.
8- Одинарные раздвижные ворота
Такие раздвижные ворота, как эти, занимают гораздо меньше места, чем распахивающиеся ворота. Кроме того, если ваша подъездная дорожка находится на наклоне, скользящая подъездная дорожка g a t e будет открываться и закрываться легче, чем открывающаяся.
Сделанные полностью из дерева без металлического каркаса, эти деревянные откатные ворота привлекательны и доступны по цене. Эти подробные планы покажут вам, как построить эти раздвижные ворота с решеткой наверху для декоративного элемента. Планы можно скачать в формате PDF и распечатать для удобства использования в процессе строительства.
9- Рамы ворот для тяжелых условий эксплуатации
Вот видео на YouTube, которое покажет вам , как построить рамы для ворот повышенной прочности , которые можно использовать как есть, покрыты любым материалом по вашему выбору.
Эти сверхмощные рамы ворот идеальны для использования на животноводческой ферме, где основной задачей является содержание скота в безопасном ограниченном пространстве. Прочные ворота могут годами выдерживать интенсивное использование и жестокое обращение со стороны крупных животных.
Прочные ворота изготовлены из бруса 4 × 4 и могут быть покрыты решеткой, деревянными планками или другими строительными материалами для улучшения привлекательности бордюров. Слой краски или прозрачного покрытия для защиты от атмосферных воздействий — это все, что необходимо для этих прочных рам ворот.
10- Ветрозащитные ворота для поддонов
Рядом с пляжем очень ветрено, и вам понадобится подъездная дорога , которая может выдержать сильный ветер и соленый воздух.
Посмотрите это видео на YouTube, чтобы узнать, как превратить деревянные поддоны в прочные, стабильные ворота, которые могут выдерживать сильные ветры, дующие с океана.
Из переработанной древесины поддонов можно практически бесплатно построить эти подъездные ворота своими руками.
11- Ворота трансформированного звена цепи
Ознакомьтесь с этой идеей и узнайте, как превратить старые ворота из цепных звеньев в рай из пальмовых деревьев, который будет приветствовать гостей на вашей территории, не подпуская посторонних к вашей собственности.
Подробные фотографии показывают, как пошагово превращаются скучные, прозрачные ворота с цепочкой в красивый вход с двумя пальмами.
Нет Комплект ворот для проезда необходим для этого преобразования, все сделано с творческой изобретательностью. Ознакомьтесь с бесплатными тарифами, чтобы превратить скучные ворота в произведение искусства.
12- Металлические ворота
Он большой, привлекательный, надежный и полностью сделан из металла. Эти металлические ворота подъездной дороги открываются автоматически и являются предметом красоты.Металлические детали, размещенные по всему периметру ворот, привлекают внимание и создают отличное первое впечатление о доме и семье, которые находятся за воротами.
Это подробное видео на YouTube предоставит вам пошаговые инструкции по созданию индивидуальных металлических ворот для подъездной дороги.
13- Коренастые деревянные ворота
Высокие, прочные и массивные на вид — лучший способ описать дизайн этих DIY подъездных ворот .
Конструкция представляет собой серьезный барьер для внешнего мира, но при этом остается привлекательной и повышает безопасность собственности и снижает привлекательность.![]()
Эти массивные деревянные ворота можно покрасить или покрыть прозрачным лаком, чтобы сквозь них просвечивалась текстура натурального дерева. Отличный дизайн для дома, расположенного на оживленной улице, где важны конфиденциальность и безопасность.
Установка автоматических ворот на подъездной дороге по сравнению с воротами с ручным управлением: Советы по установке ворот подъездной дороги своими руками + проблемы обслуживания ворот подъездной дороги
Некоторые статьи на этом сайте содержат партнерские ссылки. Если вы совершите покупку по этим ссылкам, мы можем заработать небольшую комиссию без каких-либо дополнительных затрат для вас.
Небольшая поездка по стране всегда идет на пользу душе. Так я обнаружил въездные ворота, которые вы видите на этой фотографии:
Изготовленные на заказ ворота, имеющие особое значение для домовладельца, также являются «пищей для души».
Я не могу придумать лучшего приветствия для вашей собственности, чем въездные ворота, которые напоминают вам о том, что для вас важно:
Ворота не только отлично выглядят, но и отпугивают адвокатов от вашего порога — среди прочего вещи.
Ниже приведены некоторые важных вещей, которые необходимо знать перед покупкой въездных ворот для подъездной дороги, а также несколько советов по самостоятельной установке подъездных ворот!
Типы подъездных ворот
Существует 2 основных типа подъездных ворот:
- Раздвижные подъездные ворота
- Распашные подъездные ворота
Тип въездных ворот, который вы выбираете — раздвижные или распашные — в конечном итоге будет зависеть от того, насколько ваш участок окружает зону ворот.
В большинстве случаев распашные ворота (в отличие от раздвижных) лучше всего открывать на шарнирных стойках вдали от проходящего транспорта и внутрь собственности. Если ваша подъездная дорога слишком крутая, вам понадобится калитка, которая отводится от собственности в сторону прибывающих транспортных средств. Двусторонние ворота лучше всего подходят для наклонной подъездной дороги, независимо от того, открываются они или выходят.
— Источник
Автоматические и ручные ворота входа
Затем вам нужно решить, хотите ли вы автоматический или ручной ввод ворот.ручные въездные ворота.
Конечно, с ручным затвором будет доступнее .
Стоимость вашей установки будет полностью зависеть от сочетания стиля и функций, которое вы выберете. Ручные ворота могут стоить всего 500 долларов, тогда как автоматические ворота могут легко стоить более 10 000 долларов, в зависимости от характеристик. Источник
Автоматические ворота на въезде обеспечивают ряд дополнительных преимуществ в плане безопасности. Точно так же дополнительная технология, встроенная в автоматические ворота, означает, что со временем произойдет еще больше проблем, что приведет к увеличению счетов за ремонт в будущем.
Если вы выберете автоматические въездные ворота, вам также необходимо будет определить, предпочитаете ли вы ввод с клавиатуры, карточный ввод или какой-либо другой тип системы управления воротами.![]()
Материалы для подъездных ворот
Кованое железо является особенно хорошим материалом для автоматических подъездных ворот — благодаря его антикоррозийным свойствам.
Вот несколько полезных советов перед установкой подъездных ворот из кованого железа.
Другими хорошими альтернативами являются:
Деревянные ворота также заслуживают внимания — из-за более низкой стоимости.Однако, если вы остановились на деревянных воротах, просто знайте, что они потребуют большего ухода, чем металлические ворота.
Вот некоторые вещи, которые следует знать перед установкой деревянных ворот.
Техническое обслуживание ворот подъездных путей
Открыватели подъездных ворот и сами ворота, очевидно, подвергаются воздействию погодных условий круглый год.
Следовательно, они требуют регулярного технического обслуживания для обеспечения их эффективной работы.
Например:
- Петли на воротах необходимо регулярно смазывать.

- Цепной привод откатных ворот также нуждается в смазке.
- Вам нужно отпугнуть вредителей от вложения в открыватель ворот и вокруг него.
- Трубки открывателя ворот необходимо часто чистить и смазывать.
Обязательно к прочтению: Советы по обслуживанию автоматических ворот
Советы по установке ворот DIY
Большинство домовладельцев оставят детали установки ворот с приводом профессионалам.
Но если вы любитель DIY, вам нужно знать несколько основ, чтобы встать на правильный путь:
- Не забудьте оставить достаточно места для машины (или двух), чтобы сесть в нее. подъезд к воротам до их открытия.
- Если вы остановились на распашных воротах, лучше установить их так, чтобы они не попадали в зону входящего трафика.
- Если у вас наклонный подъезд, то лучше всего подойдут ворота, у которых 2 двери работают в унисон (двустворчатые).

- Если у вас есть ограждение или каменная кладка любого типа, ведущая к месту, где будут находиться ворота, установите столбы ворот сразу за столбами или непосредственно рядом с ними.
- Большинство автоматических ворот бывают с пролетами 12, 14, 16 и 18 футов, поэтому планируйте строительство забора, ведущего ко входу в ворота заранее.
- При измерении оставьте достаточно места для автомобилей скорой помощи и больших грузовиков для доставки, чтобы добраться до вашего дома. Меньше всего вам нужно, чтобы грузовик UPS выезжал из ворот, когда подъезжал к дому!
- Выберите надежный бренд для выбранного вами комплекта для въездных ворот. В этом случае для надежной системы лучше перестроить.
- В большинстве случаев вы получите весь комплект и кабудл от одного поставщика. Если вы купите компоненты для своих въездных ворот отдельно, вам нужно знать, как найти и купить устройство для открывания ворот. Электродвигатель ворот — ключевой компонент автоматического открывателя ворот.

Обязательно прочтите: 10 советов по лучшей установке ворот на подъездных путях
Ресурсы по установке подъездных ворот своими руками
Все еще думаете о том, чтобы построить ворота самостоятельно?
Обычно помогает, когда вы «видите» что-то в действии, а не просто читаете.
Итак, вот несколько видеороликов, руководств и диаграмм по установке подъездных ворот, которые помогут вам заранее спланировать, как выполнять каждый из необходимых шагов:
Это видео показывает в меньшем масштабе, как построить подъездные ворота с нуля и установите его самостоятельно:
Перед покупкой подъездных ворот…
Приведенные выше советы помогут вам начать работу. Как только вы начнете исследовать продукты и инсталляционные компании, доступные вам в вашем районе, возникнет еще много вопросов, о которых вы, возможно, не задумывались раньше.
Есть много компаний, которые сделают для вас индивидуальные подъездные ворота. Получите как минимум 3 предложения, прежде чем выбрать лучшие въездные ворота для вашей дороги.
Если бы это было на мое усмотрение, стоимость подъездных ворот определенно была бы , а не , что было бы моим основным соображением при выборе нестандартных въездных ворот для моего дома.
Вот информация о стоимости установки подъездных ворот.
Вместо этого, при выборе автоматических ворот должны быть в первую очередь рассмотрены факторы искусства и дизайна.
Своевременное изготовление ворот — еще один ключевой фактор в процессе принятия решений.
Итог: получайте удовольствие и хорошенько подумайте, прежде чем принимать решение о дизайне ворот!
Я начинал как сталкер… посещал новые строящиеся дома в окрестностях моего дома. Это вдохновило меня написать о проектах жилищного строительства и ремонта домов — вести хронику домов на разных этапах строительства с точки зрения потребителя.
По сути, советы, которые вы найдете в моих статьях, представляют собой набор контрольных списков того, что, по моему мнению, следует (и не следует) использовать при строительстве или реконструкции качественного дома.
Создайте ворота для домашних животных!
Собачьи ворота — неотъемлемая часть домашнего хозяйства четвероногих семей.
Собачьи ворота доступны в различных стилях: от пластиковых ворот, устанавливаемых под давлением, до ворот с металлическим креплением.
Однако некоторые владельцы предпочитают делать собственные ворота для собак дома.
Строительство собачьей калитки — забавный и (относительно) простой способ сэкономить деньги, создавая при этом что-то, что гармонирует с планировкой и стилем вашего дома. Тем не менее, это может быть не лучший вариант для каждой семьи собачьих.
В конце концов, строительство — это тяжелая работа, и не все конструкции собачьих ворот, сделанные своими руками, подходят для любой ситуации.
Выбор того, что хорошо работает с вами и вашей собакой, является обязательным условием успеха.
Читайте дальше, чтобы увидеть 12 наших любимых дизайнов собачьих ворот, сделанных своими руками, и узнать больше о том, почему собачьи ворота важны. Мы также дадим несколько быстрых советов по безопасности и использованию собачьих ворот.
12 дизайнов собачьих ворот своими руками
Теперь, когда вы знаете все веские причины добавить собачьи ворота в свой набор инструментов для ухода за собаками, ознакомьтесь с 12 потрясающими конструкциями собачьих ворот, сделанными своими руками!
1. Откатные собачьи ворота своими руками
Эти раздвижные собачьи ворота своими руками от YouTuber Matt Mecham — это качественная сборка и удобный дизайн. В качестве настенных ворот это отличный выбор для участков, которые вы хотите ограничить в долгосрочной перспективе , а его высота подходит даже для больших лесов .
Хотя это впечатляющие ворота для собак, для их постройки требуются некоторые столярные навыки. Планка идеально подходит для скалолазов , но расстояние может позволить маленьким собакам легко проскользнуть через . Древесина также может быть соблазнительной для любителей жевания.
Уровень квалификации: Эксперт
Необходимые материалы:
- Восемь деревянных деталей размером 1 дюйм x 4 фута
- Одна деревянная деталь размером 3 x 2 дюйма
- Одна 1.Деревянный кусок 5 «x 2»
- Один деревянный кусок 2 «x 2»
- Два комплекта петель
- Защелка
- Отделка под дерево
- Клей для дерева
- Направляющая ящика
Необходимые инструменты:
- Настольная пила
- Измерительная лента
- Маркировочный карандаш
- Шлифовальная машина или наждачная бумага
- Сверло
Просто посмотрите видео ниже, чтобы увидеть этот проект от начала до конца!
2.Сверхширокие ворота для домашних животных DIY
Очень широкие и очень высокие , эти ворота для собак от Jennifer Maker идеально подходят для сдерживания длинноногих собак . Хотя стандартная отдельно стоящая конструкция отлично подходит для портативности , ее также можно закрепить на стене, если вы установите комплект петель или аналогичное оборудование.
Складывающееся движение позволяет легко использовать эти ворота в тесноте, избегая широкого поворота, который можно наблюдать в некоторых воротах. Пластиковые материалы идеально подходят для собак, которые любят грызть дерево, хотя конструкция решетки не идеальна для лазания на собаках .
Уровень навыка: Средний
Необходимые материалы:
- Одна пластиковая решетчатая панель 4 ‘x 8’
- Шесть решетчатых крышек 8 ‘
- 60 решетчатых или ⅜-дюймовых винтов
- Девять 3-дюймовых петель
- Две защелки раздвижных дверей
Необходимые инструменты:
- Настольная пила или ручная пила
- Отвертка или дрель
- Измерительная лента
3. Современные собачьи ворота своими руками
Эти ворота DIY от YouTuber Crafted Workshop представляют собой современный вариант классического внешнего вида собачьих ворот и выигрывают в отделе стиля.Это надежный выбор, который отлично подходит как для больших, так и для маленьких собак , без широких щелей, которые можно увидеть на некоторых ограждениях с вертикальными планками . Благодаря своей настенной конструкции он идеально подходит для блокировки лестниц.
Тем не менее, его горизонтальные планки, безусловно, привлекают внимание, но они не идеальны, если ваш щенок альпинист . Еще одна потенциальная проблема — это его деревянная конструкция, которую некоторые пуперино не могут жевать.
Это сверхпрочные ворота, которые требуют серьезных строительных навыков , поэтому начинающие мастера могут захотеть продолжить поиск.
Уровень квалификации: Эксперт
Необходимые материалы:
- Один кусок дерева размером 4 дюйма на 4 фута
- Двадцать деревянных элементов размером 1 дюйм на 2 фута
- Один кусок дерева размером 2 дюйма на 2 фута
- Клей для дерева
- Крепежные винты
- Одна упаковка 1 винты с цилиндрической головкой
- Стена -монтажные петли
- Комплект защелок
- Шпаклевка
- Краска или морилка по вашему выбору
Необходимые инструменты:
- Торцовочная пила
- Настольная пила
- Шлифовальная машина или наждачная бумага
- Измерительная лента
- Сверло
- Квадратный инструмент
На видео ниже вы можете увидеть, как дизайнер строит эти ворота своими руками:
https: // www.
youtube.com/watch?v=WDTRswDGb8U
4. Собачьи ворота из ПВХ
ПВХ
— отличный материал для изготовления этих собачьих ворот своими руками от eHow. ПВХ не так привлекателен для любителей жевать , как дерево, и он достаточно прочен для повседневного использования .
Лучше всего то, что это недорогой материал, оставляющий место в вашем бюджете для более важных вещей, таких как угощения.
Напорная конструкция идеально подходит для использования вокруг дома , но это , а не ворота для использования вокруг лестниц или других опасностей .
По сравнению с другими проектами, эти ворота легко собрать, хотя для правильной установки требуются некоторые навыки мастера. Несмотря на то, что конструкция проста, она не такая прочная и привлекательная, как другие варианты для самостоятельной сборки из нашего списка, а кабельные стяжки представляют собой потенциальную опасность удушья или проглатывания.
Уровень навыка: Средний
Необходимые материалы:
- Четыре куска 1-дюймовой трубы из ПВХ
- Четыре 1-дюймовых тройника из ПВХ
- Два прочных натяжных стержня
- Аппаратная ткань (с высотой, равной или превышающей желаемую высоту ворот)
- Кабельные стяжки
Инструменты Требуется:
- Резак или пила для труб из ПВХ
- Ножницы по металлу или кусачки
- Защитные перчатки (рекомендуется)
- Клей для ПВХ (по желанию)
5.
Планы собачьих ворот двери сарая DIY
Поклонники фермерских домов могут порадоваться этим модным дверным воротам для сараев, сделанным своими руками, от компании Remodelaholic. Прочная отмычка , которая удерживает как больших, так и маленьких собак, содержит , этот деревянный барьер можно использовать также для блокировки лестниц .
В конструкции из массива дерева отсутствуют надоедливые планки, через которые могут выскользнуть маленькие дети, хотя это рискованный выбор, если у вас есть жвачка.
Это, безусловно, , один из самых стильных вариантов DIY, которые мы видели , но также требует продвинутых навыков мастера .Для его строительства необходимы серьезные инструменты, которых у большинства домашних хозяйств просто нет.
Уровень квалификации: Эксперт
Необходимые материалы:
- Две доски 1 дюйм x 6 дюймов x 96 дюймов
- Шесть досок 1 дюйм x 4 дюйма x 96 дюймов
- Одна плита 1 дюйм x 3 фута (для дополнительного верхнего покрытия)
- Коробка с винтами для гипсокартона 1 ¼ дюйма
- Клей для дерева
- Морилка или краска
- Петля ворот
- Защелка ворот
- Ручка-тяга
Необходимые инструменты:
- Настольная пила
- Торцовочная пила
- Измерительная лента
- Сверло
- Шлифовальный станок
- Квадратный инструмент
- Универсальный нож
- Пенная щетка
- Старая тряпка
- Маркировочный карандаш
6.
Откатные ворота для собак из восстановленной рамы футона
Старый футон пылится? Вы можете просто найти материалы для строительства ворот, которые понадобятся вам, чтобы внутри прятаться ваши новые ворота для собак!
Этот колесный барьер от Redditor MrResp3ctful отлично подходит для районов с высокой проходимостью благодаря своей раздвижной конструкции. Это прочная кирка, которая удержит крупных собак, хотя планки могут быть достаточно широкими, чтобы маленькие собаки могли проскользнуть через .
По сравнению с другими деревянными проектами в нашем списке DIY, этот вариант менее трудоемок, хотя требуются некоторые навыки деревообработки .Колесная конструкция удобна, но отсутствие защелки означает, что умные щенки могут сами придумать, как ее открыть.
Уровень навыка: Средний
Необходимые материалы:
- Деревянная кровать или каркас футона
- Винты для деревообработки
- Клей для дерева
- Четыре крепежных колеса
Необходимые инструменты:
- Сверло
- Шлифовальная машина или наждачная бумага
- Измерительная лента
- Настольная пила или ножовка
7.
Собачьи ворота с шевроном своими руками
Современный и шикарный вид шевронных ворот этих собачьих ворот от Yellow Brick Home определенно превосходит традиционные стили, часто встречающиеся в магазинах.
Прочная конструкция отлично подходит для больших и маленьких собак. , поскольку скошенные планки расположены близко друг к другу, что предотвращает побег щенка из тюрьмы. Однако они могут служить лестницей для подлых собак, поэтому держитесь подальше, если ваша собака альпинистская .
Это , не удобный для новичков дизайн , так как он требует тщательных измерений и разрезов, чтобы придать шевронный вид.Большинство собак может сдерживаться его ростом, но , если ваша собака прыгает, вы можете выбрать более высокие варианты .
Уровень квалификации: Продвинутый
Необходимые материалы:
- Четыре деревянных элемента 1 «x 2» x 8 футов
- Одна деревянная планка 1 «x 4» x 6 футов
- 1-дюймовые петли
- 1-дюймовые гвозди для гвоздя
- 1-дюймовые винты для гипсокартона
- Поверхностный болт
- Грунтовка и краска или морилка
Необходимые инструменты:
- Торцовочная пила
- Гвоздезабиватель
- Отвертка или дрель
- Шаблон Mini Kreg
- Рулетка
- Шлифовальный станок
- Шпатель
- Квадратный инструмент
- Шлифовальные блоки
8.
Собачьи ворота из поддонов своими руками
Бережливым владельцам понравятся эти ворота для собак, сделанные из дополнительного грузового поддона от Simply Maggie. Конструкция настенного крепления предотвращает старые прыжки и рывки, когда собачки проверяют ворота, чтобы сбежать.
Это делает его идеальным для лестниц , хотя широкий диапазон открывания может быть затруднен в небольших помещениях.
Он отлично подходит как для щенков размером с пинту, так и для больших попугаев, поскольку планки расположены близко друг к другу, и высоты достаточно, чтобы прыгать не было проблемой для большинства собак .Размер может быть проблемой, поскольку транспортировочные поддоны могут быть громоздкими.
Уровень навыка: Средний
Необходимые материалы:
- Деревянный транспортировочный поддон
- Шурупы для дерева
- Комплект петель
- Комплект защелок
- Ручка
- Морилка / краска (опция)
Необходимые инструменты:
- Ручная пила или настольная пила (если поддон необходимо обрезать)
- Шлифовальный станок
- Сверло
9.
План ворот для домашних животных за 10 минут
Simplicity — победитель с этими воротами для домашних животных своими руками из блога Finding Purpose, которые имеют традиционный дизайн ламелей. Это поможет сохранить собак всех размеров в без ущерба для стиля.
Подходящие для начинающих строителей, эти ворота можно настроить так, чтобы они соответствовали размерам вашего дома , но вы должны помнить о размерах своей собаки, чтобы не оставлять щелей достаточно широкими, чтобы маленькие собаки могли проскользнуть внутрь.
Вертикальные планки идеально подходят для собак-сорвиголов, которые любят лазить, и вы можете настроить высоту, чтобы предотвратить побег из прыжка.Настенное крепление и фиксирующая защелка делают его пригодным для использования на лестнице .
Уровень навыка: Средний
Необходимые материалы:
- Деревянные детали размером 1 дюйм x 4 дюйма (количество зависит от размера ворот)
- Шурупы для дерева
- Комплект петель
- Комплект защелок
- Краска или морилка (дополнительно)
Необходимые инструменты:
- Торцовочная пила
- Измерительная лента
- Сверло
- Шлифовальная машина
10.
Отдельностоящие ворота для собак
DIY
Эти отдельно стоящие собачьи ворота, сделанные своими руками из This Old House, представляют собой переносную кирку , которую можно использовать по всему дому . Возможно, это не идеально, если у вас есть более сильная собака, которая может оттолкнуть ее, но настенный монтаж также является вариантом .
Твердая основа предотвращает утечку между планками , хотя для некоторых владельцев это может быть слишком громоздко.
Конечным результатом является модное ограждение для собак, хотя, как ни стильно эти собачьи ворота своими руками, оно не для слабонервных, так как требует серьезных столярных навыков и времени , чтобы его снять.
Уровень квалификации: Продвинутый
Необходимые материалы:
- Тридцать восемь деревянных деталей размером 1 дюйм x 2 фута
- Два листа фанеры ½ дюйма
- Формование панелей
- Клей для дерева
- Шурупы для дерева 1 ½ дюйма
- Штифтовые гвозди
- Два соединителя с шестигранной головкой 40 мм
- Две вставные гайки ¼-20
- Комплекты петель
- Шпаклевка для дерева
- Краска или грунтовка (опция)
Необходимые инструменты:
- Циркулярная настольная пила
- Шлифовальный станок
- Шлифовальный блок
- Гвоздодер
- Измерительная лента
- Шестигранный ключ
- Зажимы
- Сверло
- Маркировочный карандаш
11.
Собачьи ворота из ткани DIY
хороший вариант для маленьких собак , эти тканевые собачьи ворота своими руками от A Creative Life не нуждаются в мастерской и гигантской пиле для создания. Это дешевый, простой в изготовлении и настраиваемый , что делает его идеальным дизайном для большинства владельцев.
Хотя он хорошо работает для маленьких собак, это не подходит для больших собак , так как большие щенки могут легко его опрокинуть и перепрыгнуть.
Несмотря на то, что его портативность означает, что вы можете носить его по дому, его нельзя использовать на лестницах, поскольку он не только устанавливается под давлением, но и представляет серьезную опасность для людей.
Уровень квалификации: Начинающий
Необходимые материалы:
- Два пружинных стержня (подходящие по размеру к дверному проему)
- Тяжелый материал на ваш выбор
Необходимые инструменты:
- Швейная машина
- Утюг для одежды
12.
DIY Pet Barrier для дома
Если вы не любите сверлить отверстия в стене, вам понравится этот отдельно стоящий барьер для собак, сделанный своими руками от Saws on Skates. Его можно перемещать вокруг , чтобы при необходимости закрыть дверные проемы, а его высота и относительная прочность хорошо работают с небольшими собачками .
Тем не менее, не рекомендуется для больших собак или использования около лестниц. , так как его можно опрокинуть с достаточной силой.
Хотя для этого требуется немного смазки для локтей, их легче сделать, чем другие деревянные ворота , и в результате получится шикарная вещь. Отсутствие приспособления для крепления под давлением или крепления на стену может позволить скрытным щенкам сбежать.
Уровень навыка: Средний
Необходимые материалы:
- Три деревянных куска 1 x 3 x 8 дюймов
- Клей для дерева
- Винты 1 1/4 дюйма
- Два набора петель
Необходимые инструменты:
- Торцовочная пила
- Сверло
- Приспособление Kreg
- Измерительная лента
Разнорабочий Special: Quick Cardboard Bariers & Other Hacks
Иногда бывает удивительно, насколько легко сделать эффективные собачьи ворота.
Очевидно, что это шутка , а не следует использовать полиэтиленовую пленку для сборки собачьих ворот своими руками.
Долго работать не будет, а пластик может стать причиной удушья. Тем не менее, у вас, вероятно, есть много вещей в доме, которые вы можете временно использовать в качестве собачьей калитки.
Картон можно скрепить лентой , чтобы создать силовое поле в связке, или кухонных стульев можно наклонить по бокам , чтобы заблокировать дверные проемы во время мытья полов.
Вы даже можете сдвинуть легкий диван над , чтобы преградить путь вашей собаке, если хотите.
Мой личный фаворит — , устанавливающий пылесос напротив дверного проема , так как никто из моей банды не пройдет ближе десяти футов от ужасного «врум-врума», как мы его называем. Вы также можете воспользоваться страхом вашей собаки пылесосом!
Преимущества ворот для собак
Хотя все мы любим свои дураки, иногда собакам нужны границы. Вне зависимости от того, используются ли они в качестве средства безопасности или в качестве преграды для защиты мебели, ворота для собак могут выполнять множество служебных обязанностей по дому.
Вот несколько изящных вариантов использования ворот для собак:
- Устранение потенциальных опасностей. Лестница и гладкий ламинат могут представлять серьезную опасность для молодых щенков или щенков с ограниченными физическими возможностями (хотя некоторым собачьи пинетки могут очень помочь).
Ограничение доступа к этим областям с помощью ворот для собак может помочь предотвратить падения. - Объявление запретных зон. Будь то временное ограничение во время уборки или постоянный запрет, ворота для собак не позволят щенкам забредать в закрытые зоны вашего дома.
- Защитная мебель . Некоторые тревожные собаки становятся разрушительными, когда их оставляют без присмотра, в то время как другие любят дремать на диване и пускать слюни. Собачьи ворота — отличный способ сохранить прекрасный внешний вид (и запах) вашей мебели.
- Запрет прыгучих собак на гостей. Иногда щенкам нужен отдых от посетителей, поскольку они учатся искусству держать подальше от гостей лапы и рты. Собачьи ворота обеспечивают разделение без стресса, где собаки могут наслаждаться просмотром компании, а не прыгать на нее.
- Содержание щенков на водонепроницаемом настиле. Пока молодые люди учатся ходить на горшках на улице, вы можете ограничить доступ к коврам и полам, которые трудно чистить.

- Разделение при кормлении. Некоторым собакам нужно немного побыть в одиночестве, пока они едят, особенно если у них есть проблемы с охраной ресурсов. Собачьи ворота могут быть препятствием для сохранения спокойствия во время еды в семьях с несколькими собаками. Это также удобно, чтобы уберечь челюсти от обеденного стола, пока люди едят.
Безопасность для собачьих ворот 101
Хотя собачьи ворота могут быть прекрасным средством увести вашего щенка от неприятностей, они могут быть опасными при неправильном использовании.
Многие владельцы задаются вопросом: от «как заблокировать собаку на лестнице» до «какой высоты должны быть ворота для собак?»
Чтобы все виляли хвостом (и не получали травм), следуйте этим советам:
- Никогда не используйте напорные ворота на лестницах или рядом с ними. Их можно опрокинуть с достаточной силой. В этих сложных местах всегда использовались фурнитуры для собак.

- Учитывайте размер собаки. Это включает в себя запоминание возможного взрослого размера вашего щенка, если он еще щенок. Не стоит тратить деньги на ворота, которые он быстро перерастет.
- Используйте только ворота с вертикальными решетками для определенных собак . Некоторые гундины умеют убегать. Если ваш пуперино — мастер-скалолаз, пропустите ворота с конструкцией из цепочки, которая может служить лестницей.
Кроме того, если вам нужны ворота, чтобы ваша собака не могла попасть на опасную лестницу, вы можете рассмотреть просто , построив рампу для собак своими руками . Таким образом, вы можете дать своему щенку безопасный способ взбираться по лестнице и избавиться от необходимости в воротах .
Как правильно выбрать собачьи ворота своими руками
Теперь, когда у вас есть несколько идей, вы должны подумать о своем щенке и своем доме, прежде чем приступить к строительству или покупке новых ворот для собак.![]()
Настенные ворота с защелками необходимы для использования около лестниц или с большими мощными щенками, в то время как маленькие собаки и широкие ламели не подходят друг другу.
Вы также должны учитывать причуды своего пса. Например, если он джемпер, вам следует сосредоточиться на росте, но если он любит жевать, дерево может быть не лучшим материалом.
***
Изготовление собачьей калитки — это трудоемкий процесс, но конечный результат стоит затраченных усилий. Вы когда-нибудь делали собачьи ворота? Какой стиль DIY вам нравится больше всего? Дайте нам знать об этом в комментариях.
Как построить ворота
Проекты газонов и садов
- Уровень квалификации: Средний
- Расчетное время: 1 день
Любимый
Любимый
Любимый
Удалить проект
Закрывать
Вы действительно хотите удалить «Построить деревянные ворота»
из моих проектов?
Да, удалить
Завести аккаунт
Закрывать
Для этого вам потребуется учетная запись.
Не волнуйтесь, создать его быстро и легко!
Зарегистрироваться
Распечатать страницу
«Ого! Я люблю это!»
Любой проект по благоустройству дома, который заканчивается этими словами моей жены, хорош. Любые дополнительные преимущества в столбце плюсов — это просто вишенка на торте, а у этого проекта их много!
Вот краткий список:
● Выполняйте функциональную задачу по содержанию собаки во дворе!
● Повышенная безопасность дома
● Повышенная конфиденциальность на заднем дворе
● Низкая стоимость
● Однодневный проект!
● Отлично выглядит и улучшает привлекательность бордюров!
Если все это звучит для вас как победитель, читайте дальше… мы собираемся построить потрясающие ворота.
Как построить красивые ворота за один день
Вам ведь не нужны простые старые ворота? Конечно, нет.
Ворота похожи на входную дверь на задний двор. Это проход в оазисную страну фантазий с грилями, бассейнами и навесами для инструментов. Было бы неправильно, если бы это был простой прямоугольник, едва отличимый от остальной части забора. Нет, ваши ворота должны делать заявление. «Врата»?
По крайней мере, это оправдание, которое я использовал, чтобы очень долго откладывать строительство новых ворот на заднем дворе.»Я собираюсь построить ворота, я обещаю … Я все еще разрабатываю концепцию дизайна … тебе же не нужны простые ворота, не так ли?» Это купило мне годы откладывания на потом.
Потом у нас появился щенок. Быстрый щенок. Когда он ушел … он ушел, и тебе лучше приготовиться к небольшой пробежке. Фигово.
Теперь ворота были срочными, и я почти исключил возможность простых ворот с моими годами наращивания. Итак, нам нужны были модные ворота, и они нам понадобились вчера.
Нет проблем, сказал я своему сыну и правой руке Джейкобу … мы получили это.
Первый этап планирования — установка нескольких критериев
Каждый проект требует критериев проектирования. Даже ворота. Итак, прежде чем мы определимся с дизайном, нам нужно было знать, что должен делать готовый проект. Вот список:
- Он должен быть достаточно высоким, чтобы его было видно спереди , чтобы создать интересный фокус дизайна, направляя взгляд и заставляя наблюдателя подумать: «Это должно быть действительно классный задний двор, если у него есть ворота вроде который!».
- Это должно быть круто .Никакие простые ворота не заявляют о себе.
- Это должно быть дешево (ish).
- Он должен быть в состоянии выдерживать экстремальную тропическую погоду .
- Должно быть достаточно простым, чтобы построить за один день . В конце концов, это всего лишь ворота.
Итак, помня об этих критериях, я просмотрел в Интернете несколько изображений ворот других людей и начал создавать мысленную картину дизайна.
Второй этап планирования — набросок
Вам не нужно иметь каких-либо специальных навыков рисования, чтобы нарисовать грубый набросок столярного проекта! Просто возьмите лист миллиметровой бумаги и карандаш и начинайте!
По мере развития вашего дизайна вы получите гораздо лучшее представление о материалах, которые вам понадобятся, когда вы попадете в магазин расходных материалов.Вот мой быстрый набросок:
Как видите, я отметил общую ширину и высоту, а также смог быстро записать «список вырезок» из древесины, которая мне понадобится. Это облегчило мою поездку по магазинам.
Мы использовали стандартные пиломатериалы, обработанные давлением, для всех ворот. Здесь, на побережье юго-западной Флориды, это недорого и подходит для погодных условий.
Здание The Gate
Мой дизайн ворот напоминает «рамные доски» из-за отсутствия лучшего термина.Они напоминают перекладины и перила традиционных дверей и придают воротам немного вид дверных панелей.
Каркасные доски — это еще и ключевой элемент дизайна, — арочный верх.
Я создал каркас из простого бруса 1х4 ПТ и вырезал арку из куска 1х8, большая часть которого показана ниже.
Основная конструкция ворот построена из террасных досок PT 5 / 4×6, которые я люблю использовать для подобных вещей, потому что они достаточно толстые, чтобы быть прочными, но уже сглажены с закругленными краями, что экономит время.
Все столярные изделия приклеены и прикручены. Каждый стык приклеивается прочным всепогодным клеем, а затем прикручивается винтами Deck Mate прямо через поверхность. Мне нравится Deck Mate, потому что они (обычно) не требуют предварительного сверления, прочны и имеют покрытие, устойчивое к воздействию агрессивных химикатов в пиломатериалах, обработанных давлением. Я обнаружил, что сочетание этих винтов и клея является надежным соединением для любого внешнего проекта.
Обратной стороной является то, что винты оголены.
Для этого проекта мне было все равно, потому что он будет погодным и просто как бы сливается с воротами.В проектах, требующих более законченного вида, я зенковываю, заливаю и раскрашиваю. Но я по-прежнему использую те же столярные изделия для всех проектов на открытом воздухе. Это сильно.
Самые важные соединения …
В этой конструкции ворот рама удерживает все части вместе, поэтому соединения досок рамы с планками (5/4 ”x 6”) имеют решающее значение.
Особенности соединения первой планки на откидной стороне с горизонтальными рамками и аркой. Эти соединения несут вес всех ворот.
Откатные ворота или распашные ворота? Что мне подходит?
«Что мне делать: распашные или откатные ворота для проезда?» Это может быть одним из первых решений при выборе ворот для дома.
Иногда физические требования вашей собственности не позволяют сделать выбор.
Меня зовут Яэль Сирота, я проработал в строительной отрасли почти двадцать лет.
Почти все мои проекты за эти годы включали установку ворот и заборов.За эти годы я многому научился по этой теме!
В этой статье я собираюсь показать вам самые важные соображения, которые необходимо учитывать при принятии решения о том, подходят ли откатные или распашные ворота для вашей собственности.
ОДНОКАРТАКТНЫЕ ВОРОТА:
Если у вас ограниченный бюджет, это самый дешевый вариант.
Это дешевле, потому что для одинарных распашных ворот требуется почти половина оборудования (например, петли, болты, шарнирные стойки, приемные стойки), которые потребуются в двухстворчатых распашных воротах.
Ограничения по пространству для одинарных распашных ворот
Пространство, необходимое для распашных ворот
При использовании одинарных распашных ворот важно учитывать «расстояние поворота». Например, одинарные распашные ворота шириной 12 футов требуют вдвое больше свободного пространства по сравнению с двойными распашными воротами. С двойными распашными воротами ваши требования к пространству уменьшаются вдвое, поскольку каждая створка ворот поворачивается только на 6 футов.
Важность измерений
Ворота одинарные и двойные распашные могут открываться как внутрь, так и наружу.Внутрь обычно лучше всего. При направлении внутрь важно учитывать пространство для открывания ворот, а также дополнительное пространство для таких объектов, как автомобиль за воротами.
Средний автомобиль сегодня составляет около 15 футов в длину. Если ваша подъездная дорожка имеет ширину 12 футов, ваши одиночные распашные ворота будут занимать 12 футов пространства, когда они распахиваются. Если за ней припаркован ваш 15-футовый автомобиль, вам понадобится 27 футов общего пространства на проезжей части за воротами, и это будет очень сложно.
(Обратите внимание, что существуют ограничения по ширине створок (створок) распашных ворот от разных производителей.Максимальная ширина одинарных распашных ворот Mulholland составляет 9 футов.)
Если вы планируете открыть ворота наружу, в большинстве городов есть ограничения на это. Важно убедиться, что ворота не загораживают тротуар, пересекающий вашу собственность, или выходят на улицу.
Даже если в вашем городе нет таких ограничений, ваши соседи могут не обрадоваться, если вы установите ворота таким образом.
Распашные ворота, открывающиеся наружу, как правило, небезопасны
Когда вы открываете распашные ворота наружу, возникают потенциальные проблемы.Представьте себе посетителя, который подъезжает к воротам у входа в вашу собственность. Этот человек только что подъехал к подъездной дороге с оживленной улицы. Ворота начинают открываться в сторону машины вашего посетителя. Ваш посетитель видит, что для открытия ворот недостаточно места. Если они не двинут машину, она будет повреждена. Водитель паникует, включает задний ход, выезжает на оживленную улицу и попадает в аварию.
Это также потенциально опасно для пешеходов, посетителей и даже для членов вашей семьи.
Вероятно, единственное сравнительно безопасное место для такой установки — это сельская местность с небольшим движением транспорта или без него, а также с установленными различными функциями безопасности.
Можно было установить выдвижные болларды, которые не позволяли бы подъезжающей машине приближаться к воротам так близко, что ворота не могли открыться. Как только ворота открываются, болларды убираются, позволяя войти.
Ограничения по установке одинарных распашных ворот
С этими воротами требуется усиленная стойка для подвешивания ворот, поскольку весь вес приходится на одну стойку.Тяжелые ворота на одиночных столбах также нуждаются в регулировке чаще, чем более легкие. Когда вес ворот разделен между двумя панелями, это снижает нагрузку на стойки, что делает регулировку менее частой.
Помните, что разные материалы ворот имеют разный вес. Например, железные 12-футовые ворота будут весить значительно больше, чем стандартные 12-дюймовые ворота. В качестве альтернативы, 12-футовые алюминиевые ворота будут весить значительно меньше, чем стандартные 12-дюймовые железные ворота.
ДВУСТОРОННИЕ распашные ворота:
Двустворчатые распашные ворота
Двойные распашные ворота Бюджет
Поскольку для ворот этого типа требуется больше оборудования, они обычно стоят дороже, чем одна распашная калитка.
Вам понадобятся два открывателя ворот и почти вдвое больше оборудования (например, петли, болты, стойки петель, стойки ствольной коробки). Двустворчатые распашные ворота также требуют больше времени на проектирование и установку.
Ограничения по пространству для двойных распашных ворот
Требования к пространству для двойных распашных ворот
Для двойных распашных ворот требуется меньшее общее расстояние поворота, чем для одинарных распашных ворот. Двенадцатиметровые двойные ворота потребуют только 6 футов, тогда как одинарные ворота потребуют все 12 футов. Если у вас мало места за воротами, это лучший вариант.
Рекомендации по установке
Двустворчатые распашные ворота подходят для более широких проходов, чем одинарные распашные ворота. Полный вес материала, необходимый для перекрытия ширины проезжей части, распределяется между двумя стойками, а не одной.
Красота
Двустворчатые распашные ворота имеют традиционный (даже культовый) вид, которым мы восхищаемся в воротах во всем мире.
Это ворота, открывающиеся из центра, дающие представление о приветствии или возможности.Постепенное раскрытие красивой собственности через открывающиеся двойные распашные ворота делает впечатляющим знакомство с недвижимостью.
Ветреные районы
Ваш дом находится в ветреном районе? В этом случае вам может быть лучше приобрести откатные ворота, причина этого в том, что ветер может рассматривать ваши ворота как парус, особенно если ворота имеют твердую поверхность, а не решетчатые.
Двустворчатые откатные ворота
ОТКАТНЫЕ ВОРОТА:
Откатные ворота часто используются, когда распашные ворота не работают.Как правило, откатные ворота — лучший выбор для следующих сценариев:
1. Нет места для открывания традиционных распашных ворот.
2. От входа к задней части дома идет крутой подъем вверх. (В этом случае ворота могут открываться наружу, но это увеличивает риск возникновения опасных ситуаций для транспортных средств и пешеходов).
Итак, всякий раз, когда существуют такие обстоятельства, мы делаем шаг назад и проводим измерения, чтобы увидеть, подходят ли раздвижные ворота для вашей собственности.
Стоимость откатных ворот
Как правило, по сравнению с распашными воротами вам придется платить больше, чтобы владеть и устанавливать откатные ворота. Даже если ворота сделаны из того же качества, материалов и размеров, они обычно стоят дороже. Такие ворота имеют больше движущихся частей, и все они должны быть тщательно откалиброваны относительно друг друга во время установки. Обычные откатные ворота также требуют установки дорожки для ворот (если ее еще нет).
Ограничения по пространству для откатных ворот
Для открывания раздвижных ворот необходимо пространство
Для правильного открытия раздвижных ворот требуется пространство сбоку от ворот.Как правило, необходимое пространство — это длина ворот плюс около 2 футов пространства для маневра.
Двойные откатные и тандемные ворота
Когда недостаточно места для въезда ворот, есть другие решения. Одним из решений будет установка двойных откатных ворот. Примером может служить проем шириной 12 футов, который можно разделить на две панели ворот по 6 футов каждая.
Эти две панели затем либо отводятся по одной в каждую сторону (двойное скольжение), либо обе в одну сторону (тандем).
Двойные откатные ворота похожи на двойные распашные, в них используются две независимо управляемые панели.Тандемные ворота — это уникальная установка, в которой используются две панели, работающие в тандеме. Системы тандемных ворот можно даже настроить для управления трех- и даже четырехпанельными воротами. Тандемные ворота не очень известны, поскольку их очень сложно спроектировать и установить; Однако мы стали экспертами в этих установках. Посмотрите нашу недавнюю установку ниже!
Другие уникальные стили ворот
Конечно, существуют и другие типы ворот, кроме перечисленных выше.Например, в Mulholland Brand у нас есть ворота, которые практически не занимают места. Он буквально поднимается из-под земли, чтобы действовать как закрытые ворота, и убирается обратно под землю, чтобы открыть ворота.
Это система Fancy Fence. Поскольку на проектирование и установку этой системы уходит много усилий, это определенно не дешевый продукт. Цена делает это недоступным для большинства людей, но все же подтверждение человеческой изобретательности даже в том, чтобы знать, что такое возможно.
Подводя итог, можно сказать, что существует довольно много решения, при котором вы можете закрыть любую собственность, и чаще всего выбирают распашные или откатные ворота.
Нажмите здесь, чтобы перейти к нашей контактной форме, чтобы связаться с нами по электронной почте, нажмите на опцию «живой чат» внизу экрана или позвоните нам по телефону 818.643.6543.
Как построить раздвижные ворота из звеньев цепи — Магазин заборов Америки
Установка решетчатых ворот на вашем заборе — идеальный способ сделать вашу собственность более доступной — и это то, что вы можете сделать дома самостоятельно.
Это практическое руководство от America’s Fence Store научит вас основам установки ворот для звеньев цепи.
Цель: Освоив этот урок, вы сможете успешно измерять и устанавливать калитки из цепных звеньев.
Оснащение: Набор головок, молоток, удлинители, уровень и плоскогубцы.
Ключевые вопросы:
- Как измерить ворота?
- Как установить консольные ворота?
- Как установить рулонные ворота?
- Какие наиболее распространенные препятствия безопасности следует учитывать при установке ворот?
Как измерить ворота?
Для всех ворот убедитесь, что вы получаете более одного измерения.Следуя ровной плоскости, вам нужно будет измерить как верх, так и низ ворот. Не позволяйте ленте наклоняться или наклоняться от уровня во время измерения. Сохраняйте размеры с точностью до + 1/8 дюйма. Часто вы обнаружите, что эти размеры отличаются.
Как правило, при строительстве ворот используется меньший размер. Четко изложите эту информацию в своей работе вскоре после установки сообщений.
Рулонные ворота: Измерьте расстояние изнутри внутрь столбов ворот и изнутри внутрь соседних столбов линии, которые будут поддерживать ворота в полностью открытом положении.Расстояние от внутренней до внутренней стороны линейной стойки не должно превышать 8 футов
.
Консольные ворота: Измерьте расстояние от внутренней до внутренней стороны защелок до первых ворот или роликовой стойки. Это будет столб ворот, ближайший к проему. Затем измерьте расстояние от внешней до внешней стороны ворот или стоек роликовых ворот. См. Иллюстрацию.
Как установить консольные ворота?
Консольные ворота должны быть установлены на ровной поверхности, чтобы ворота могли катиться в обоих направлениях без дополнительного гравитационного притяжения в результате веса ворот.Можно внести небольшие корректировки, чтобы учесть небольшой уклон, однако слишком большой уклон и ворота могут оказаться опасными при движении под уклон.
Для установки консольных ворот:
- Установите два нижних консольных ролика так, чтобы ролики были обращены внутрь ограждения, а ткань — снаружи. Ролики должны находиться примерно на расстоянии 1 дюйма от земли. Поместите кусок рельса поперек двух роликов. Установите уровень на направляющую и отрегулируйте ролики вверх или вниз так, чтобы направляющая была ровной.Кроме того, убедитесь, что ролики отрегулированы так, чтобы ворота не соскользнули в уклон в результате уклона. Затяните ролики.
- Установите два верхних консольных ролика так, чтобы ролики фиксировали ворота, когда они встали на место. Затяните ролики вручную.
- Установите ворота на два нижних ролика. Поднимите ворота. В вертикальном положении сдвиньте два ролика на ворота. Когда ворота касаются обоих нижних роликов (сбалансированных между роликами), затяните два верхних ролика, оставив зазор ½ дюйма между роликами и верхней частью рамы ворот (направляющей или 2.5 ”труба). Затяните ролики.
- Прокатите ворота вперед и назад через проем.
Если ворота заедают, возможно, вам придется поднять один из верхних роликов. - Отрегулируйте ролики по мере необходимости так, чтобы вы держали ворота как можно ближе к земле, но не размещайте ролики ниже уровня земли или под землей. Зимой участки вокруг катков засыпаются снегом и промерзают.
- Не копайте траншею, чтобы ворота полностью открылись. Опять же зимой снег заморозит ворота на месте.
- После окончательной регулировки полностью затяните все ролики.
- Установите защелку в сборе. При установке привода ворот используйте большой V-образный приемник, который позволяет направлять ворота в приемник. При ручном управлении воротами используйте консольное запирающее устройство, чтобы можно было установить замок.
Как установить рулонные ворота?
Рулонные ворота отлично подходят для приложений, в которых недостаточно места для хранения консольных ворот и проемов с большим уклоном.
Однако у вас должна быть гладкая поверхность, чтобы катить ворота с ходовых колес по проему. Для установки рулонных ворот:
- Убедитесь, что вы установили стойки, которые будут поддерживать вашу гусеницу, по центру 8 дюймов и использовали стойки не менее 2 ½ дюйма Sch 40.
- Рулонные ворота используют два колеса, установленные на задней вертикальной опоре ворот. Эти колеса движутся по колее, установленной по внутренней стороне забора.
- Установите универсальные кронштейны гусеницы на расстоянии одного фута от нижней части забора и одной ноги от его верха.Кронштейны устанавливаются так, чтобы U-образный болт находился ниже гусеницы. Вам нужно будет установить достаточное количество кронштейнов для поддержки 8-дюймовых рельсов, необходимых для полного открытия ваших ворот, то есть для 20-ти проемов потребуется три длины рельсов (24 фута).
- Измерьте расстояние от кронштейна до кронштейна. Используя трубу 1 5/8 ”Sch 40, обрежьте направляющую и установите ее между кронштейнами.
Убедитесь, что ваша гусеница плотно прилегает к скобам, чтобы мы не образовали шов, в котором колеса могли бы зацепиться.После завершения у вас должны быть верхняя и нижняя дорожки, которые находятся на одинаковом расстоянии от одного конца до другого. Это важно, чтобы гусеница не заедала за задние колеса гусеницы. - Установите задние опорные колеса на заднюю вертикальную опору ворот от. Колеса будут находиться примерно в одном футе от верха и низа ворот. Колеса будут установлены на внешней стороне ворот, чтобы кататься по рельсам. Затяните рукой.
- Установите двойное крепление колеса как можно дальше вперед на нижний горизонтальный элемент ворот.
- Поместив калитку в проем так, чтобы оба задних колеса гусеницы были наверху гусеницы, отрегулируйте колеса задней гусеницы так, чтобы оба колеса прижимались к гусенице. Убедитесь, что нижняя направляющая на колесах захватывает гусеницу, так что вы не можете поднять ворота с рельсов, но направляющая не заедает во время движения по гусенице.
Затяните колеса. - Раскатайте ворота в проем. При необходимости отрегулируйте задние колеса гусеницы. Узел сдвоенного колеса имеет болт крепления оси, который позволяет вам контролировать направление ворот, когда они катятся через проем.При необходимости отрегулируйте.
- Используя две концевые ленты, которые подходят вокруг стойки защелки, установите смещенный замок n ’защелки так, чтобы, когда ворота полностью закрылись, язычок на защелке защелкнулся, захватывая раму ворот и позволяя вам заблокировать защелку.
- Возможно, вам придется отрегулировать узел двойного колеса на раме так, чтобы створка вошла в защелку.
- Надежно закрепите все гайки и болты во избежание смещения в будущем.
Какие наиболее распространенные препятствия безопасности следует учитывать при установке ворот?
Подъем.Ворота всегда тяжелые, большие и неудобные. Обязательно используйте хорошую технику подъема, много рабочей силы или оборудования.
Будучи неудобным, легко растянуть или скрутить спину.
Опасность падения. Ворота оказались реальной опасностью падения. Часто мы прислоняем ворота к проему при установке петель, легкий ветерок или неровности, и ворота обрушиваются на установщик, расположенный ниже. Всегда используйте эластичный шнур, цепь, веревку, чтобы привязать ворота к забору. При установке консольных ворот используйте эластичный шнур.Это позволит вам сдвигать ворота внутрь роликов и от них, не снимая шнур.
Сокращений. У ворот есть движущиеся части. При регулировке ролика легко поймать палец в консольном ролике.
Моторизованные опасности. Моторизованные ворота обладают огромным потенциалом причинения вреда. Эти ворота привлекли внимание общественности, поскольку за последние годы число травм резко возросло. Следовательно, существует Кодекс UL 325, регулирующий установку ворот с электроприводом. При установке ворот легко зажать каток, между штангой и столбом или в проеме.Подробнее об этом позже.
© 2018 Американская компания по ограждению. Все права защищены. Разрешено воспроизведение только для личного и образовательного использования. Коммерческое использование, копирование или распространение запрещено без письменного разрешения The American Fence Company.
© 2021 Американская компания по ограждению. Все права защищены. Разрешено воспроизведение только для личного и образовательного использования. Коммерческое использование, копирование или распространение запрещено без письменного разрешения The American Fence Company.
.


Сделать его не сложно своими руками, главное оббить его оцинкованным металлом, а после покрыть особым защитным составом.
Тысячи домовладельцев своими руками впервые успешно установили систему ворот, используя наши ворота и оборудование (см.
Дайте настояться на ночь.
(Загрузите соответствующий
— Источник